Dreiwegeventil an der Heizungsanlage: Betrieb, Auswahlregeln, Diagramm und Installation
Um einen komfortablen Wärmehaushalt im Haus aufrechtzuerhalten, ist im Heizkreis ein Element wie ein Dreiwegeventil am Heizsystem enthalten, das die Wärme gleichmäßig auf alle Räume verteilt.
Trotz der Bedeutung dieses Geräts unterscheidet es sich nicht im komplexen Design. Schauen wir uns die Konstruktionsmerkmale und Funktionsprinzipien des Dreiwegeventils an. Welche Regeln sollten bei der Auswahl eines Geräts beachtet werden und welche Nuancen in seiner Installation vorhanden sind.
Der Inhalt des Artikels:
Merkmale eines Dreiwegeventils
In den Kühler eintretendes Wasser hat eine bestimmte Temperatur, die oft nicht beeinflusst werden kann. Das Dreiwegeventil stellt sich ein, indem nicht die Temperatur, sondern die Flüssigkeitsmenge geändert wird.
Dies ermöglicht es, ohne den Bereich des Heizkörpers zu verändern, den Räumen die erforderliche Wärmemenge zuzuführen, jedoch nur innerhalb der Grenzen der Systemleistung.
Trenn- und Mischvorrichtungen
Optisch ähnelt ein Dreiwegeventil einem T-Stück, erfüllt jedoch völlig andere Funktionen. Eine solche mit einem Thermostat ausgestattete Einheit gehört zu Absperrventilen und ist eines ihrer Hauptelemente.
Es gibt zwei Arten dieser Geräte: Trennen und Mischen.
Die erste wird verwendet, wenn das Kühlmittel gleichzeitig in mehrere Richtungen zugeführt werden muss. Tatsächlich ist die Anordnung ein Mischer, der bei einer eingestellten Temperatur einen stabilen Fluss bildet. Montieren Sie es in einem Netzwerk, über das erwärmte Luft zugeführt wird, und in Wasserversorgungssystemen.

Produkte des zweiten Typs dienen dazu, Strömungen und deren Wärmeregulierung zu kombinieren. Für Einlassströme mit unterschiedlichen Temperaturen sind zwei Löcher vorgesehen und für ihren Austritt eines.Sie werden bei der Installation einer Fußbodenheizung verwendet, um eine Überhitzung der Oberfläche zu vermeiden.
Ein Dreiwegeventil und ein Temperaturregler sind separat erhältlich. Für autonome Heizsysteme wird der Kauf einer Konstruktion mit Thermostat jedoch als rationalere und effektivere Lösung angesehen.
Das Design von Dreiwegekranen
Die Ventile sind konstruktionsbedingt in Sitz und Drehventil unterteilt. Das Funktionsprinzip des ersten basiert auf der rhythmischen Bewegung der Stange vertikal - dem Einstellschema "Schaft-Sattel". Diese Ansicht gilt für Mischventile. Oft erfolgt die Steuerung über einen elektromechanischen Antrieb.
Ein Schlüsselelement der Schwenkstruktur ist der rotierende Sektor. Während der Bewegung wirkt der Schaft auf den Kugelhahn und unterbricht den Kühlmittelfluss teilweise oder vollständig. Dieses Einstellmuster wird als "Kugelpfanne" bezeichnet.
Diese Geräte haben eine erhöhte Verschleißfestigkeit. Sie sind an große Temperaturunterschiede angepasst und werden als Ventile klassifiziert. In Privathaushalten, in denen Wasser in relativ geringen Mengen verbraucht wird, können sie als Mischer fungieren.
Ein Merkmal des Mischventils ist das Vorhandensein eines Auslasses und zweier Einlässe. Es dient zur Steuerung der Temperatur des Arbeitsmediums durch Kombination von Strömungen mit hoher und niedriger Temperatur. Bei entsprechender Installation kann das Produkt auch Streams trennen.

Das Dreiwegeventil vom Trenntyp wird verwendet, wenn heißes Kühlmittel in mehrere Richtungen zugeführt werden muss.
Alle Modelle solcher Krane unterscheiden sich in einigen Punkten voneinander:
- Verschlussmechanik - es kann entweder Spannung oder Stopfbuchse sein;
- Stummelform - es gibt L, T, S-förmig;
- Verschlusstyp - es gibt eine zylindrische, kugelförmige, konische;
- Schaltungsanschluss - Verwenden einer Kupplung, eines Flansches, durch Schweißen usw.;
- Art der Verwaltung - automatisch, halbautomatisch, manuell.
Das Mischgerät ist mit einem Stab in der Mitte ausgestattet, in dem sich allein ein Kugelhahn befindet. Es schließt zum richtigen Zeitpunkt den Verschluss des Einlasses.
Bei Geräten mit geteiltem Typ ist der Schaft mit zwei Ventilen ausgestattet, die in den Auslassrohren montiert sind.
Es funktioniert etwas anders. Die Funktionsweise des Dreiwegeventils nach einer detaillierten Analyse seiner Konstruktion wird klarer.

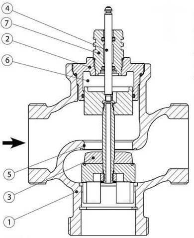
Der Fall dieser Art von Produkt ist gegossen. Es besteht aus Messing oder Bronze mit galvanischer Vernickelung. Es erfüllt sowohl schützende als auch dekorative Funktionen. Für den Anschluss an die Rohrleitung gibt es Gewindebögen - nur drei Teile. Die Art der Gewindeverbindung hängt vom ausgewählten Modell ab.
Der optimale Druck im Heizsystem für einen stabilen Ventilbetrieb beträgt 10 kg / cm². Das Überschreiten dieses Wertes kann zu Problemen führen.
Es gibt Einschränkungen für Temperaturindikatoren - 95 ° für Kessel, 110 ° - für Sonnenkollektoren. Die zulässige Temperaturregelung des Kühlmittels in verschiedenen Modellen liegt im Bereich von 20-60º. Die Produktivität reicht von 1,6 bis 2,5 m3/ h
Das Funktionsprinzip des Gerätes
Durch die Installation eines Dreiwege-Mischventils kann sichergestellt werden, dass die Temperatur der Flüssigkeit am Auslass innerhalb der festgelegten Grenzen liegt.
Das Funktionsprinzip für das geschlossene Heizsystem und für das FGP-System ist dasselbe. Der einzige Unterschied besteht darin, dass das Kühlmittel im ersten Fall die Wärme gleichmäßig von der Quelle an die Heizkörper und im zweiten Fall warmes Wasser an die Haushaltsgeräte überträgt.
Bis das temperaturempfindliche Element eine bestimmte Temperatur erreicht, wird das Kühlmittel aus dem vorderen Rohr zugeführt und kommt ungehindert rechts an. Wenn das Arbeitselement eine Temperatur erreicht, die über dem eingestellten Wert liegt, dehnt es sich aus.
Dies bedeutet, dass das Ventil vertikal nach unten bewegt wird und dadurch der Eintrittsweg des erwärmten Kühlmittels von unten blockiert wird. Als nächstes öffnet sich das linke Rohr zur Zufuhr von kalter Flüssigkeit.

Das Mischen einer kalten mit einer heißen Flüssigkeit gleicht die Temperatur aus. Das temperaturempfindliche Element nimmt seine vorherige Form an und der Dämpfer seine ursprüngliche Position.
Wenn das Dreiwegeventil im Rücklauf installiert ist, sollte der Vorgang in umgekehrter Reihenfolge erfolgen. Wenn die Flüssigkeit abkühlt, öffnet sich ein direkter Weg für heißes Wasser aus dem Kessel.
Antriebsrad
Der Typ des Stellantriebs kann auch für die Ventile unterschiedlich sein. Der Antrieb kann entweder hydraulisch oder elektromechanisch, pneumatisch oder manuell sein.
Der elektromechanische Antrieb ist in Typen unterteilt, von denen der häufigste ein einfacher Thermostat ist. Es funktioniert als Ergebnis der Expansion einer Flüssigkeit mit einem thermoaktiven Element in seiner Zusammensetzung. Das Ergebnis ist Druck auf den Stiel. Dies ist ein leicht entfernbares Design, das in Produkten verwendet wird, die in Haushaltssystemen installiert sind.
Die nächste Option ist ein Antrieb mit einem Thermostatkopf, der mit einem temperaturempfindlichen Element ausgestattet ist. Das Gerät wird durch einen ferngesteuerten Temperatursensor ergänzt, der sich direkt in der Rohrleitung befindet. Ein Kapillarrohr verbindet es mit dem Antrieb.
Diese Art der Einstellung wird als die genaueste angesehen. Falls gewünscht, kann ein einfacher Thermostatantrieb leicht durch einen Thermostatkopf ersetzt werden.

Es gibt eine Dreiwegeventiloption mit einem elektrischen Stellantrieb. Es wird von einer Steuerung gesteuert, die mit Temperatursensoren ausgestattet ist und Befehle an den Hauptmechanismus ausgibt. Eine vereinfachte Version eines Laufwerks mit einer Steuerung ist ein Servoantrieb.
Es steuert das Ventil direkt. Das einfachste Laufwerk ist manuell. Hier erfolgt die Einstellung durch Drehen der Kunststoffkappe mit Gewindeverbindung. Sein Boden berührt das Ende der Stange. Durch Verdrehen oder Abschrauben wird die Spule bewegt.
Das Vorhandensein eines Elektro- oder Servoantriebs ermöglicht es Ihnen, den Temperaturmodus mit der Tageszeitorientierung zu programmieren. Ein Dreiwegeventil enthält zunächst keinen Antriebsmechanismus. Es wird separat gekauft, basierend auf den Eigenschaften eines bestimmten Heizsystems. Sie können das Produkt in jedem Heizsystem verwenden.
Wo werden Dreiwegeventile eingesetzt?
Es gibt Ventile dieses Typs in verschiedenen Ausführungen. Sie sind im Schaltplan enthalten. warme Böden um eine gleichmäßige Erwärmung aller Abschnitte zu gewährleisten und eine Überhitzung einzelner Zweige zu vermeiden.
Bei einem Festbrennstoffkessel wird häufig Kondensation in seiner Kammer beobachtet. Die Installation eines Dreiwegekrans hilft dabei.

Ein Dreiwegegerät arbeitet effektiv im Heizsystem, wenn der Warmwasserkreis angeschlossen und die Wärmeströme getrennt werden müssen.
Die Verwendung eines Ventils im Kühlerkabelbaum macht dies überflüssig Bypass. Die Installation auf dem Rücklauf schafft die Voraussetzungen für ein Kurzschlussgerät.
Die Nuancen bei der Auswahl eines Scheinwerfers
Die folgenden Empfehlungen gelten häufig für die Auswahl eines geeigneten Dreiwegeventils:
- Bevorzugte seriöse Hersteller. Oft sind minderwertige Ventile unbekannter Unternehmen auf dem Markt erhältlich.
- Kupfer- oder Messingprodukte weisen eine höhere Verschleißfestigkeit auf.
- Die manuelle Steuerung ist zuverlässiger, aber weniger funktionsfähig.
Der entscheidende Punkt sind die technischen Parameter des Systems, in dem es installiert werden soll. Solche Eigenschaften werden berücksichtigt: Druckniveau, maximale Temperatur des Kühlmittels am Installationspunkt des Geräts, zulässiger Druckabfall, Wasservolumen, das durch das Ventil fließt.
Nur ein Ventil mit dem richtigen Durchsatz funktioniert gut. Dazu müssen Sie die Leistung Ihres Sanitärsystems mit dem Bandbreitenkoeffizienten des Geräts vergleichen. Es ist auf jedem Modell obligatorisch gekennzeichnet.
Für Räume mit begrenzter Fläche, wie z. B. ein Badezimmer, ist es irrational, ein teures Ventil mit einem Wärmemischer zu wählen.
Auf großen Flächen mit Fußbodenheizung ist ein Gerät mit automatischer Temperaturregelung erforderlich. Eine Richtlinie für die Auswahl sollte auch die Produktkonformität sein. GOST 12894-2005.
Die Kosten können sehr unterschiedlich sein, alles hängt vom Hersteller ab.
In Landhäusern mit installiert Festbrennstoffkessel Der Heizkreis ist nicht sehr komplex. Hier ist ein vereinfachtes Dreiwegeventil durchaus geeignet.
Es arbeitet autonom und hat keinen Wärmekopf, Sensor oder sogar eine Stange. Das Thermostatelement, das seinen Betrieb steuert, ist auf eine bestimmte Temperatur abgestimmt und befindet sich im Gehäuse.
Hersteller von Dreiwegeinstrumenten
Es gibt eine große Auswahl an Dreiwegeventilen von namhaften und unbekannten Herstellern auf dem Markt. Das Modell kann ausgewählt werden, nachdem die allgemeinen Parameter des Produkts bestimmt wurden.
Den ersten Platz in der Rangliste der Verkäufe belegen die Ventile des schwedischen Unternehmens Esbe. Dies ist eine ziemlich bekannte Marke, daher sind Drei-Wege-Produkte zuverlässig und langlebig.

Koreanische Verbraucher sind bekannt für ihre hochwertigen Dreiwegeventile. Navien. Sie sollten in Gegenwart eines Kessels derselben Firma gekauft werden.
Eine höhere Einstellgenauigkeit wird durch die Installation eines dänischen Geräts erreicht Danfoss. Es funktioniert vollautomatisch.
Ventile zeichnen sich durch gute Qualität und erschwingliche Kosten aus. Valtecgemeinsam von Spezialisten aus Italien und Russland hergestellt.
Effiziente US-Unternehmensprodukte Hanivel (Honeywell). Diese Ventile haben ein einfaches Design und sind einfach zu installieren.
Produktinstallationsfunktionen
Bei der Installation von Dreiwegeventilen gibt es viele Nuancen. Die unterbrechungsfreie Funktion des Heizungssystems hängt von ihrer Berücksichtigung ab. Der Hersteller fügt jedem Ventil Anweisungen bei, deren Einhaltung anschließend viele Probleme vermeidet.
Allgemeine Installationsempfehlungen
Die Hauptsache ist, das Ventil zunächst in der richtigen Position zu installieren, wobei die Eingabeaufforderungen durch Pfeile auf dem Gehäuse angezeigt werden. Zeiger geben die Flugbahn des Wasserflusses an.
Ein Symbol zeigt einen Vorwärtshub an, B - eine senkrechte oder Bypass-Richtung, AB - eine kombinierte Eingabe oder Ausgabe.
Basierend auf der Richtung gibt es zwei Modelle von Ventilen:
- mit einer symmetrischen oder T-förmigen Schaltung;
- mit asymmetrischen oder L-förmigen.
Bei der Montage entlang der ersten von ihnen tritt Flüssigkeit durch die Endlöcher in das Ventil ein. Es geht nach dem Mischen durch die Mitte.
In der zweiten Ausführungsform tritt ein warmer Strom von Ende und ein kalter Strom von unten ein.Die Ausgabe nach dem Mischen des Multitemperaturfluids erfolgt durch das zweite Ende.

Der zweite wichtige Punkt bei der Installation des Mischventils ist, dass Sie es nicht mit dem Stellantrieb oder dem Thermostatkopf nach unten positionieren können. Vor Arbeitsbeginn ist eine Vorbereitung erforderlich: Wasser ist vor dem Installationspunkt blockiert. Überprüfen Sie anschließend die Rohrleitung auf Rückstände, die zum Ausfall der Ventildichtung führen können.
Die Hauptsache ist, einen Ort für die Installation zu wählen, damit das Ventil Zugang hat. Möglicherweise müssen Sie es später überprüfen oder zerlegen. All dies erfordert freien Speicherplatz.
Mischventileinsatz
Beim Einsetzen eines Dreiwege-Mischventils in das Fernwärmesystem gibt es mehrere Möglichkeiten. Die Wahl des Schemas hängt von der Art des Anschlusses des Heizungssystems ab.
Wenn unter den Betriebsbedingungen des Kessels ein Phänomen wie eine Überhitzung des Kühlmittels im Rücklauf zulässig ist, tritt zwangsläufig ein Überdruck auf. Montieren Sie in diesem Fall einen Jumper, der den Überdruck drosselt. Es wird parallel zum Ventilmix installiert.

Das Diagramm auf dem Foto ist eine Garantie für die Qualitätskontrolle der Systemparameter. Wenn ein Dreiwegeventil direkt an den Kessel angeschlossen ist, was in autonomen Heizsystemen am häufigsten der Fall ist, ist ein Ausgleichsventileinsatz erforderlich.
Wenn wir die Empfehlung bezüglich der Installation eines Ausgleichsgeräts vernachlässigen, können in Anschluss AB je nach Position des Schafts erhebliche Änderungen der Durchflussmenge des Arbeitsmediums auftreten.
Der Anschluss gemäß obigem Diagramm garantiert nicht das Fehlen einer Kühlmittelzirkulation durch die Quelle. Um dies zu erreichen, müssen zusätzlich ein Hydraulikisolator und eine Umwälzpumpe in ihrem Kreislauf angeschlossen werden.
Das Mischventil ist ebenfalls montiert, um die Ströme zu trennen. Die Notwendigkeit hierfür entsteht, wenn es nicht akzeptabel ist, den Quellkreis vollständig zu isolieren, die Flüssigkeit jedoch in den Rücklauf umgangen werden kann. Meistens wird diese Option bei Vorhandensein eines autonomen Heizraums verwendet.

Sie müssen sich bewusst sein, dass einige Modelle Vibrationen und Geräusche verursachen können. Dies ist auf inkonsistente Strömungsrichtungen in der Rohrleitung und im Mischprodukt zurückzuführen. Aus diesem Grund kann der Druck auf das Ventil unter den zulässigen Wert fallen.
Trennvorrichtung montieren
Wenn die Temperatur der Quelle höher ist als vom Verbraucher benötigt, ist ein Durchflusstrennventil im Kreislauf enthalten. In diesem Fall kommt bei einer konstanten Durchflussrate sowohl im Kesselkreislauf als auch durch den Verbraucher die überhitzte Flüssigkeit nicht zu letzterem.
Damit die Schaltung funktioniert, müssen beide Schaltungen vorhanden sein die Pumpe.
Auf der Grundlage des Vorstehenden können wir die allgemeinen Empfehlungen zusammenfassen:
- Bei der Installation eines Dreiwegeventils werden davor und danach Manometer installiert.
- Um Verunreinigungen zu vermeiden, ist ein Filter vor dem Produkt angebracht.
- Der Körper des Geräts darf keiner Belastung ausgesetzt werden.
- Eine gute Regelung muss durch Einsetzen vor die Ventilvorrichtungen gewährleistet werden, die den Überdruck begrenzen.
- Während der Installation sollte sich das Ventil nicht über dem Stellantrieb befinden.
Es ist auch notwendig, vor und nach dem Produkt den vom Hersteller empfohlenen geraden Abschnitten standzuhalten. Die Nichteinhaltung dieser Regel führt zu einer Änderung der angegebenen Spezifikationen.Die Garantie auf das Gerät ist ungültig.
Schlussfolgerungen und nützliches Video zum Thema
Nuancen der Installation, deren Abrechnung den ordnungsgemäßen Betrieb des Ventils garantiert:
Einzelheiten zur Installation des Ventils bei der Installation eines warmen Bodens:
Ein Knoten im Heizsystem, beispielsweise ein thermostatisches Dreiwegeventil, ist erforderlich, jedoch nicht in allen Fällen. Sein Vorhandensein ist eine Garantie für eine rationelle Verwendung des Kühlmittels, wodurch Kraftstoff sparsam verbraucht werden kann. Darüber hinaus fungiert es auch als Gerät, das den sicheren Betrieb des Kessels TT gewährleistet.
Bevor Sie ein solches Gerät kaufen, müssen Sie sich jedoch zunächst über die Machbarkeit seiner Installation informieren.
Wenn Sie über die erforderliche Erfahrung oder das erforderliche Wissen zum Thema des Artikels verfügen und es mit Besuchern unserer Website teilen können, hinterlassen Sie bitte Ihre Kommentare und stellen Sie Fragen im folgenden Block.

Leute, die Zeit im Video ist 9:25. Wo wird er kaltes Wasser nehmen, um die Temperatur des Kühlmittels im warmen Boden auf den gewünschten Wert zu verdünnen, wenn Sie dort ein Rückschlagventil haben (er muss das Wasser aus dem Rücklauf zur Verdünnung entnehmen)?