Pompe à chaleur Frenett: appareil et principe de fonctionnement + pouvez-vous l'assembler vous-même?
Les amateurs de bricolage trouveront toujours une application dans leur propre force, leur patience et leurs déchets. Parmi les composants presque gratuits, ils peuvent facilement construire une chose extrêmement utile dans la vie quotidienne.
Par exemple, ils peuvent fabriquer une pompe à chaleur Frenett efficace de leurs propres mains, sans rien dépenser. Mais ils reconstitueront le stock de connaissances et le stock de compétences, et cela n'a pas de prix, n'est-ce pas?
Les informations fournies aideront à comprendre le principe de fonctionnement de l'unité. Avec notre aide, vous pouvez déterminer la conception et découvrir comment le modèle est fabriqué. Des instructions claires pour la production de ce type de pompe à chaleur aideront efficacement les artisans indépendants.
Nous fournissons des recommandations pratiques pour la production de produits maison productifs et des conseils sur le fonctionnement de ces équipements.
Le contenu de l'article:
Le principe de fonctionnement de l'appareil
Ceux qui entrent en contact avec des problèmes de chauffage économique, le nom de «pompe à chaleur» est bien connu. Surtout en combinaison avec des termes terre-eau, Eau-à-eau, ou Air-eau etc.
Une telle pompe à chaleur avec un appareil Frenett n'a pratiquement rien de commun. En plus du nom et du résultat final sous forme d'énergie thermique, qui est finalement utilisée pour le chauffage.
Les pompes à chaleur à base de Carnot sont très populaires à la fois comme un moyen rentable d'organiser le chauffage et comme un système respectueux de l'environnement.
Le travail d'un tel complexe d'appareils est associé à l'accumulation d'énergie à faible potentiel contenue dans les ressources naturelles (terre, eau, air) et à sa conversion en énergie thermique à fort potentiel.
L’invention d’Eugene Frenett est arrangée et fonctionne de manière complètement différente.
Le principe de fonctionnement de cet appareil repose sur l'utilisation de l'énergie thermique, qui est libérée lors des frottements. La conception est basée sur des surfaces métalliques situées non près les unes des autres, mais à une certaine distance. L'espace entre eux est rempli de liquide.
Des parties de l'appareil tournent les unes par rapport aux autres à l'aide d'un moteur électrique, le fluide à l'intérieur du boîtier et en contact avec les éléments rotatifs est chauffé.
La chaleur résultante peut être utilisée pour chauffer le liquide de refroidissement. Certaines sources recommandent d'utiliser ce fluide directement pour le système de chauffage. Le plus souvent, un radiateur conventionnel est fixé à une pompe Frenett faite maison.
En tant que système de chauffage du liquide de refroidissement les experts recommandent fortement d'utiliser de l'huile plutôt que de l'eau.
Pendant le fonctionnement de la pompe, ce fluide a tendance à chauffer très fortement. L'eau dans de telles conditions peut simplement bouillir. La vapeur chaude dans un espace clos crée une pression excessive, ce qui entraîne généralement la rupture des tuyaux ou du boîtier. L'utilisation d'huile dans cette situation est beaucoup plus sûre, car son point d'ébullition est beaucoup plus élevé.

Il y a une opinion que l'efficacité d'un tel générateur de chaleur dépasse 100% et peut même être de 1000%. Du point de vue de la physique et des mathématiques, ce n'est pas une affirmation complètement correcte.
L'efficacité reflète la perte d'énergie dépensée non pas pour le chauffage, mais pour le fonctionnement réel de l'appareil. Au contraire, les affirmations phénoménales sur le rendement incroyablement élevé de la pompe Frenett reflètent son efficacité, qui est vraiment impressionnante. Le coût de l'électricité pour le fonctionnement de l'appareil est négligeable, mais la quantité de chaleur ainsi obtenue est très sensible.
Le chauffage d'un liquide de refroidissement aux mêmes températures à l'aide d'un élément chauffant pour le chauffage, par exemple, nécessiterait une quantité d'électricité beaucoup plus importante, peut-être des dizaines de fois plus. Un appareil de chauffage domestique ne chaufferait même pas avec une telle consommation d'électricité.
Pourquoi tous les locaux résidentiels et industriels ne sont-ils pas équipés de tels appareils? Les raisons peuvent être différentes.
Tout d'abord, l'eau est un fluide caloporteur plus simple et plus pratique que le pétrole. Il ne chauffe pas à des températures aussi élevées et il est plus facile d'éliminer les effets des fuites d'eau que d'éliminer l'huile renversée.
DeuxièmementAu moment où la pompe Frenett a été inventée, un système de chauffage centralisé existait déjà et fonctionnait avec succès. Le démonter pour le remplacer par des générateurs de chaleur serait trop coûteux et causerait beaucoup d'inconvénients, donc personne n'a même sérieusement envisagé cette option. Comme dit le proverbe, le meilleur est l'ennemi du bien.
Recommandations d'utilisation des instruments
Il convient de noter que les variations de la pompe Eugene Frenett utilisant de l'eau comme liquide de refroidissement existent toujours. Mais il s'agit généralement de grands modèles industriels utilisés dans des entreprises spécialisées.
Le fonctionnement de ces appareils est strictement contrôlé à l'aide d'appareils spéciaux.Assurer un niveau de sécurité similaire à la maison est presque impossible.

La version la plus populaire de la pompe Frenett, qui utilise de l'eau plutôt que du pétrole, est un appareil développé par des scientifiques de Khabarovsk: Nazyrova Natalia Ivanovna, Leonov Mikhail Pavlovich et Syarg Alexander Vasilievich. Dans cette conception en forme de champignon, l'eau est spécialement portée à ébullition et transformée en vapeur.
Ensuite, la force réactive de la vapeur est utilisée pour augmenter la vitesse de déplacement du liquide de refroidissement le long des canaux de pompe à 135 m / min. En conséquence, les coûts énergétiques pour déplacer le liquide de refroidissement sont minimes et le retour sous forme d'énergie thermique est très élevé.
Cependant, un tel ensemble doit être exceptionnellement robuste, et son fonctionnement doit être surveillé en permanence pour éviter un accident.
Que faire si, à l'aide de la pompe Frenett, il est censé organiser le chauffage d'une grande pièce ou de toute la maison? L'eau est un vecteur de chaleur traditionnel; la plupart des systèmes de chauffage sont spécialement conçus pour elle. Et le remplissage d'un système de chauffage complet avec de l'huile liquide appropriée peut être coûteux.
Ce problème est résolu très simplement. Il est également nécessaire de construire un échangeur de chaleur conventionnel, dans lequel l'huile chauffée chauffera l'eau circulant dans le système de chauffage. Dans le même temps, une partie de la chaleur sera perdue, mais l'effet global restera assez perceptible.

Une idée intéressante serait d’utiliser une pompe Frenett en combinaison avec système de chauffage au sol. Dans ce cas, le liquide de refroidissement est laissé à travers des tuyaux en plastique étroits posés dans une chape en béton.
Un tel système de chauffage fonctionne de la même manière qu'un chauffage au sol à eau ordinaire. Bien sûr, un projet de ce type ne peut être mis en œuvre que dans une maison privée, car il est autorisé à utiliser exclusivement pour les immeubles d'habitation de grande hauteur chauffage au sol électrique.
Un moyen pratique et pratique d'utiliser un tel appareil est de chauffer une petite pièce: un garage, une grange, un atelier, etc. La pompe Frenett vous permet de résoudre efficacement et rapidement le problème du chauffage autonome dans de tels endroits.
Le coût de l'électricité pour son fonctionnement est faible par rapport à l'effet thermique résultant, et la construction d'un tel agrégat n'est pas difficile à partir des matériaux les plus simples.
Options de conception de la pompe Frenett
Eugene Frenett a non seulement inventé l'appareil qui porte son nom, mais l'a également amélioré à plusieurs reprises, en proposant des versions plus récentes et plus efficaces de l'appareil.
Dans la toute première pompe brevetée par l'inventeur en 1977, seuls deux cylindres étaient utilisés:
- en plein air - le cylindre creux est de plus grand diamètre et est dans un état statique
- interne - le diamètre du récipient est légèrement inférieur aux dimensions de la cavité du cylindre extérieur.
L'inventeur a versé de l'huile liquide dans l'espace étroit résultant entre les parois de deux cylindres. Bien sûr, la partie de la structure dans laquelle se trouvait ce liquide de refroidissement a été soigneusement scellée pour éviter les fuites d'huile.

Le cylindre intérieur est relié à l'arbre du moteur de manière à assurer sa rotation rapide par rapport au grand cylindre fixe. Un ventilateur avec une roue a été placé à l'extrémité opposée de la structure.
Pendant le fonctionnement, l'huile a été chauffée et a transféré de la chaleur à l'air entourant l'appareil. Le ventilateur a permis de diffuser rapidement de l'air chaud dans toute la pièce.
Étant donné que cette structure était chauffée assez fortement, pour une utilisation pratique et sûre, la structure était cachée dans un étui de protection. Bien entendu, des ouvertures ont été pratiquées dans le boîtier pour la circulation de l'air.
Un ajout utile à la conception était un thermostat, avec lequel le fonctionnement de la pompe Frenett pouvait être automatisé dans une certaine mesure.
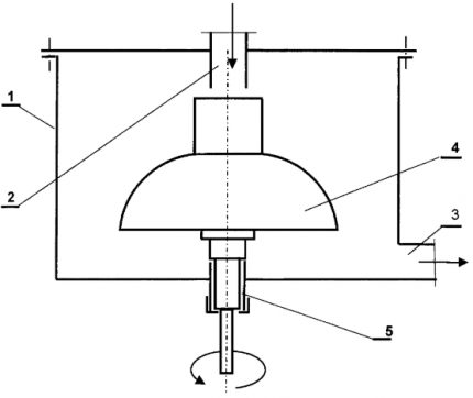
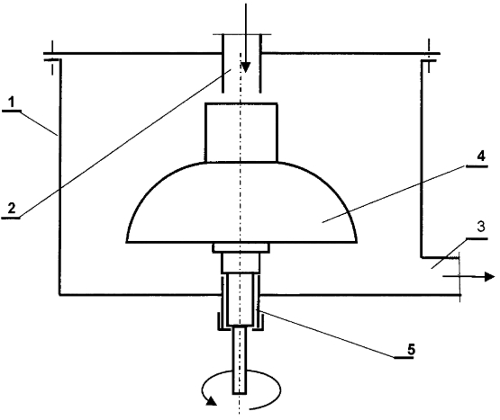
L'axe central de ce modèle de pompe à chaleur est situé verticalement. Le moteur est en bas, puis les cylindres imbriqués les uns dans les autres sont installés, et en haut se trouve le ventilateur. Plus tard, un modèle est apparu avec un axe central horizontal.

C'était un tel appareil qui a d'abord été utilisé en combinaison non pas avec un ventilateur, mais avec un radiateur de chauffage. Le moteur est placé sur le côté, et l'arbre du rotor passe à travers un tambour rotatif et sort à l'extérieur.
Il n'y a pas de ventilateur dans ce type d'appareil. Le liquide de refroidissement de la pompe à travers les tuyaux se déplace vers le radiateur. De la même manière, l'huile chauffée peut être évacuée vers un autre échangeur de chaleur ou directement vers les tuyaux de chauffage.
Plus tard, la conception de la pompe à chaleur Fresnett a été considérablement modifiée. L'arbre du rotor restait toujours en position horizontale, mais la partie intérieure était constituée de deux tambours rotatifs et d'une roue placée entre eux. Ici, l'huile liquide est à nouveau utilisée comme caloporteur.

Lorsque cette structure tourne, l'huile se réchauffe en plus, car elle passe à travers des trous spéciaux faits dans la roue, puis pénètre dans la cavité étroite entre les parois du corps de pompe et son rotor. Ainsi, l'efficacité de la pompe Frenett a été considérablement améliorée.

Cependant, il convient de noter que ce type de pompe n'est pas très adapté à la fabrication à domicile. Vous devez d'abord trouver des dessins fiables ou calculer la conception vous-même, et cela n'est possible que pour un ingénieur expérimenté.
Ensuite, vous devrez trouver une roue spéciale avec des trous de taille appropriée. Cet élément de la pompe à chaleur fonctionne à des charges élevées, il doit donc être fait de matériaux très durables.
Appareil fabriqué soi-même
Un examen des options du dispositif de pompe Frenett nous permet de comprendre que les principes de son fonctionnement avec un ou un autre degré d'efficacité peuvent être utilisés dans des conceptions de différents types et types. L'idée de base reste la même: un espace étroit entre des éléments métalliques remplis d'huile et une rotation avec un moteur électrique.

À la maison, une pompe Fresnett est le plus souvent fabriquée, composée d'une série de plaques métalliques séparées par un jeu étroit.
Pour fabriquer un tel appareil, vous devez préparer les matériaux nécessaires:
- cylindre en métal creux;
- un ensemble de disques en acier identiques avec un trou au centre;
- jeu d'écrous de 6 mm de hauteur;
- tige en acier filetée:
- moteur électrique à arbre allongé;
- roulement;
- tuyaux de raccordement.
Les tailles de pompe peuvent être plus grandes ou plus petites. Mais la distance entre les disques doit être maintenue exactement - 6 mm.Des écrous standard sont utilisés comme séparateurs, et la barre d'acier est le centre de la structure.
Son épaisseur doit correspondre au diamètre de l'écrou. S'il n'y a pas de tige avec un fil à portée de main, il suffit de la couper.

De toute évidence, le trou dans les disques doit être tel qu'ils puissent être librement mis sur l'arbre axial. Le diamètre extérieur des disques doit être inférieur de plusieurs millimètres à celui du boîtier. S'il n'y a pas d'éléments prêts à l'emploi, les disques sont découpés indépendamment de la tôle ou confiés à un tourneur.

Le corps cylindrique peut être fabriqué à partir d'un ancien conteneur métallique d'une configuration appropriée ou soudé à partir de métal. La coupe d'un large tuyau métallique convient également.
Les murs sont soudés aux extrémités du cylindre. Le boîtier doit être étanche pour que l'huile ne coule pas. Des trous supplémentaires doivent être pratiqués dans les extrémités supérieure et inférieure du boîtier: pour entrer et sortir des tuyaux de chauffage menant au radiateur.
Bien sûr, tous les joints de tuyaux doivent être scellés. Pour les raccords filetés, des joints spéciaux sont utilisés: ruban FUM, lin, etc. Si décidé utiliser des tuyaux en polypropylène, vous aurez besoin de raccords spéciaux et, éventuellement, d'un fer à souder pour le montage de ces tuyaux.
Un moteur électrique haute performance n'est pas nécessaire pour le fonctionnement de la pompe Frenett. Un appareil provenant d'un appareil électroménager ancien ou cassé, tel qu'un ventilateur conventionnel, convient.
Le but principal du moteur électrique est de faire tourner l'arbre. Une rotation trop rapide peut entraîner un dysfonctionnement de l'appareil. Plus la structure tourne rapidement, plus le caloporteur chauffe.

Pour que l'arbre puisse tourner librement, vous avez besoin d'un roulement approprié de tailles standard. Une fois tous les éléments préparés, vous pouvez commencer à assembler l'appareil. Tout d'abord, un axe central avec un roulement est monté sur la partie inférieure à l'intérieur du boîtier. Ensuite, un écrou de séparation est vissé sur l'axe, puis un disque est mis, un écrou à nouveau, un disque à nouveau, etc.
Les disques avec écrous alternent jusqu'à ce que le boîtier soit rempli jusqu'en haut. Même au stade de la préparation, des calculs préliminaires peuvent être effectués sur le nombre de disques et d'écrous requis.
Il est nécessaire d'ajouter l'épaisseur du disque à l'épaisseur de l'écrou (6 mm). La hauteur du corps est divisée par ce chiffre. Le nombre résultant donnera des informations sur le nombre requis de paires «écrou + disque». Installez l'écrou en dernier.
Une fois le boîtier rempli de ces éléments mobiles, il est rempli d'huile liquide. Le type d'huile n'a pas d'importance, vous pouvez prendre des huiles minérales, de coton, de colza ou toute autre huile qui tolère bien la chaleur et ne durcit pas. Après cela, le design est recouvert du couvercle supérieur et brassé doucement.
À ce stade, les tuyaux de radiateur sont généralement déjà fixés aux couvercles. Pour plus de commodité, lors de l'installation et de la maintenance de l'appareil sur les tuyaux, deux robinets peuvent être installés. Vous devez maintenant connecter l'axe de la pompe à chaleur à l'arbre du moteur.
Le système est inclus dans le réseau, vérifiez les fuites, évaluez les caractéristiques de l'appareil.

Si tout est fait correctement, l'axe avec les disques commencera à tourner, réchauffant l'huile à l'intérieur de l'appareil. Le caloporteur chaud se déplacera à travers le trou supérieur à travers le tuyau jusqu'au radiateur de chauffage.L'huile refroidie retournera au corps de la pompe à chaleur par le tuyau inférieur pour être réchauffée.
Pour automatiser le fonctionnement du système, vous pouvez utiliser un relais spécial avec un capteur de température qui détecte le chauffage du boîtier de la pompe à chaleur et arrête le moteur ou l'allume si nécessaire. Cela évitera une surchauffe du système, une panne du moteur électrique et, dans son ensemble, augmentera la durée de vie de l'appareil.
Conclusions et vidéo utile sur le sujet
Une version intéressante de la pompe Frenett est présentée dans cette vidéo:
Malheureusement, la pompe Frenett n'a pas été largement acceptée dans le domaine du chauffage. Un tel dispositif de production industrielle à usage domestique est difficile à trouver dans les magasins d'électroménagers. Mais de nombreux artisans populaires ont utilisé avec succès les réalisations de ce scientifique et les ont appliquées dans leurs maisons, saunas, garages, etc.
Peut-être êtes-vous le très self-made qui a réussi à réaliser l'idée de Frenett? Veuillez partager votre expérience - laissez des commentaires sur l'article et ajoutez des photos de vos produits. Le formulaire de contact se trouve ci-dessous.

Lorsque les mécanismes fonctionnent, la friction est toujours présente, ce qui dans la grande majorité des cas n'est pas souhaitable. Dans un moteur de voiture, par exemple, c'est environ 10%. Dans d'autres appareils, il peut y avoir un pourcentage différent, mais ne peut pas dépasser 100% a priori, sinon toute l'énergie irait à la chaleur. Cela est connu même de l'étudiant. Par conséquent, une telle pompe est une arnaque courante. Il est de plus en plus facile de transformer l'e / énergie en chaleur directement sans mécanismes stupides.
Ici, nous pensons à l'efficacité non pas au sens physique (dans lequel, bien sûr, elle ne peut pas être supérieure à 100%), mais en termes d'énergie consommée par un type (électricité) pour extraire l'énergie d'un autre type. Eh bien, par exemple, pour allumer une allumette, vous frappez sur les boîtes, en utilisant le frottement, vous créez la chaleur initiale, puis l'allumette commence à brûler et vous «donne» beaucoup plus d'énergie que vous n'en avez dépensé. Du point de vue de la physique, bien sûr, il n'y a pas plus d'un facteur d'efficacité, mais du point de vue du consommateur d'énergie, une personne, il a dépensé beaucoup moins que ce qu'il a reçu. Surtout si ce match allume un feu.
C’est comme, au lieu d’allumettes, allumer un feu avec un amadou. Une idée intéressante, mais uniquement en termes d'utilisation de l'énergie mécanique comme énergie thermique, par exemple, à partir d'une éolienne ou d'une roue hydraulique ou d'esclaves aves
La conversion de l'énergie électrique en énergie mécanique puis en énergie thermique est inefficace.
En frappant une correspondance, vous lancez le processus de libération d'énergie chimique, donc l'exemple est incorrect.
Dans la pompe à chaleur Carnot, la chaleur est transférée d'une partie du système à une autre, car il est vraiment possible d'obtenir plus de chaleur dans le récepteur que l'énergie dépensée lors de son transfert.
Il n'y a pas de «transfert» de chaleur ici - une pure conversion d'énergie mécanique en chaleur, de sorte qu'il ne peut être question de «plus de 100%».
Et où sont les disques fixes entre ceux qui tournent? Pourquoi pas un mot à leur sujet?
Parce que l'article décrit le principe général de fonctionnement de la pompe Frenett, et nous parlons également de schémas et de certaines versions de produits maison. Il y a généralement plus de problèmes avec cette pompe que d'avantages, pour être honnête: l'équipement est instable, il n'est pas recommandé de commencer à travailler seul, des accidents sont possibles.
Le nombre de vortex stationnaires dans une pompe Frenett peut être différent, cela dépend déjà des indicateurs à atteindre. Je vais joindre une partie du dessin pour montrer plus en détail la structure d'un tel équipement. En général, tous les projets liés à la pompe Frenett sont expérimentaux. Si vous versez de l'eau et «allez trop loin» à tour de rôle, vous pouvez la décomposer en hydrogène et en oxygène, et c'est une tout autre histoire.