Comment retirer les poignées d'une cuisinière à gaz: comment la poignée est disposée et que faire lorsqu'elle ne se détache pas
Une cuisinière à gaz est un équipement de cuisine populaire utilisé quotidiennement pour cuisiner. Elle, comme tout appareil, a besoin d'une inspection périodique. Un entretien est nécessaire pour maintenir les performances optimales de la dalle lors d'une utilisation intensive. La régularité de ces travaux assure son bon fonctionnement.
Le nettoyage du poêle consiste non seulement à nettoyer les surfaces de la contamination, mais aussi à nettoyer les endroits inaccessibles. L'une d'entre elles sont des poignées qui, au fil du temps, accumulent de la saleté, de la poussière, des éclaboussures de graisse, de la suie et se bouchent, perturbant le fonctionnement normal du poêle à gaz. Mais souvent avec leur nettoyage le plus souvent il y a des problèmes non? En effet, les utilisateurs sont souvent confrontés au fait que les stylos ne sont tout simplement pas amovibles. Que faire dans cette situation et comment nettoyer les zones difficiles d'accès?
C'est ce dont nous parlerons dans notre article - nous examinerons en détail comment retirer les poignées du poêle à gaz indépendamment, sans violer la possibilité de son fonctionnement ultérieur. Parlons de la façon de nettoyer les poignées démontées et de ce qu'il faut faire si elles ne sont pas retirées. Nous analyserons également les caractéristiques de conception de la poignée et donnerons une liste des pannes les plus courantes.
Le contenu de l'article:
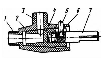
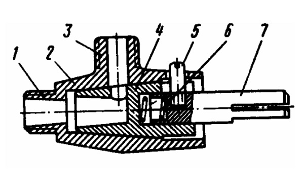
Conception de la poignée de la cuisinière à gaz
La surface standard d'un poêle à gaz de cuisine se compose de plusieurs brûleurs de différentes tailles (généralement deux, trois ou quatre). Ils ont différents diamètres et différentes capacités. Cela est nécessaire pour que des plats de différentes tailles puissent être installés, tout en maintenant un équilibre dans la consommation de gaz. Chaque brûleur est réglé par un bouton séparé.
Malgré les nombreux types et configurations de poêles à gaz, le dispositif de poignée pour l'alimentation et le réglage de la puissance du gaz est typique pour tout le monde.

Cette forme universelle de poignée de gaz a été inventée au début du 20e siècle et n'a pas subi de changements particuliers depuis lors.
Cette forme et la disposition des poignées d'un poêle à gaz domestique sont considérées comme optimales et il n'y a aucun développement pour le changer.

Le fonctionnement de la poignée de gaz est basé sur le principe de l'injection. Pendant la combustion, le gaz passe à grande vitesse, créant un vide dans le boîtier. L'air primaire d'admission est mélangé au gaz. A la sortie, ce mélange gazeux est en plus raccordé à l'air secondaire environnant, assurant ainsi une combustion complète du gaz. Nous avons parlé du principe de fonctionnement d'une cuisinière à gaz dans ce matériau.
Pour régler la puissance du gaz fourni, une poignée en plastique est montée sur la tige, conçue pour faire tourner la vanne. Un ressort est nécessaire pour assurer le mouvement de translation du manchon lors du tournage en ouverture. C'est elle qui protège contre l'ouverture involontaire accidentelle de la grue.
Instructions de retrait de la poignée
Étant donné que la plupart des cuisinières modernes ont des commandes de puissance amovibles, elles peuvent donc être facilement retirées lors du nettoyage. Mais, si cela n'a pas été fait auparavant, le pétrole brut peut créer certaines difficultés. Malgré cela, l'opération de nettoyage vaut toujours la peine d'être effectuée.
Il est important de ne pas oublier que le poêle est un appareil à gaz dont le fonctionnement et l'entretien sont importants à observer règlements de sécurité incendie. Par conséquent, avant de commencer à travailler avec le poêle, il est nécessaire de couper l'alimentation en gaz, car toute manipulation est considérée comme inflammable.
Étape # 1 - sélection des outils nécessaires
Pour effectuer le travail, vous devez préparer les éléments suivants:
- des gants
- clé de gaz;
- une pince
- un tournevis;
- un couteau;
- chiffons;
- eau et détergent.
À la demande de précautions de sécurité, le travail doit être effectué avec des gants en caoutchouc.

Une clé à gaz, une pince et un tournevis seront nécessaires pour retirer la poignée de la cuisinière à gaz, et une brosse à dents et du détergent seront nécessaires pour nettoyer les zones obstruées. Il convient de rappeler que différents modèles de cuisinières à gaz ont différentes méthodes pour retirer les poignées.
Étape # 2 - Démontage de la poignée de la cuisinière à gaz
Commencez le travail après la fermeture de la vanne d'alimentation en gaz.
Les boutons de la cuisinière à gaz doivent être réglés sur la position d'arrêt. Pour retirer une poignée, il est nécessaire de la tirer vers vous et de la retirer lentement de la rainure. Cette opération doit être effectuée très soigneusement afin de ne pas endommager le mécanisme rotatif.

Dans certains types de plaques, les poignées sont vissées, pour les dévisser il faut utiliser un tournevis. Il existe également des options lorsque vous pouvez retirer la poignée en soulevant le capuchon de protection de montage. À l'aide d'un tournevis ou d'un couteau pour retirer la poignée, faites très attention à ne pas endommager la surface de la plaque.
Il existe des modèles où l'anneau de protection a des rainures, et pour l'obtenir, il vous suffit de tourner légèrement l'anneau sur le côté.
Étape # 3 - Nettoyage des éléments amovibles
Pour nettoyer les poignées démontées, vous devez préparer un récipient avec de l'eau chaude et du détergent, où mettre tous les mécanismes amovibles qui doivent être nettoyés.Conserver dans une solution de lavage pendant au moins 10 minutes, et en cas de contamination sévère, changer en plus l'eau.
Pour nettoyer la surface des poignées, n'utilisez pas de substances contenant du chlore, car cela pourrait endommager le revêtement en émail et effacer les inscriptions sur la poignée.
À l'aide d'une brosse, vous devez retirer soigneusement la saleté des zones du poêle où les poignées ont été installées. Portez une attention particulière aux encoches, aux trous et aux reliefs.

De plus, lors du nettoyage de la surface du poêle et des endroits inaccessibles sous les poignées, n'oubliez pas le gril. Cela nécessite également un service rapide.
Pour efficace nettoyage des caillebotis à partir de différents matériaux utiliser différentes méthodes et outils disponibles.
Étape # 4 - Réinstaller les poignées
Les poignées sont installées une fois que toutes les pièces ont complètement séché. Il est nécessaire de placer correctement tous les mécanismes pivotants à leur emplacement d'origine. Si l'arbre de la poignée n'est pas complètement inséré dans la rainure, cela ne fonctionnera pas.

Caractéristiques du nettoyage des poignées fixes
Il existe des modèles dans lesquels la poignée d'une cuisinière à gaz domestique ne peut pas être retirée. Néanmoins, ce n'est pas une raison pour les laisser sans surveillance, car de telles poignées sont contaminées de la même manière que celles amovibles.
Pour nettoyer les poignées non amovibles, deux éléments supplémentaires doivent être ajoutés:
- cotons-tiges;
- une brosse à dents.
L'utilisation d'outils sur une base en plastique ou en bois n'égratignera pas la surface de travail de la plaque.

Les méthodes suivantes peuvent être utilisées pour le nettoyage:
- Produits chimiques ménagers. Selon le type de sélectionné produits de nettoyageet il est nécessaire d'agir strictement selon les instructions indiquées sur l'emballage.
- Savon à lessive. Vous devez frotter la tête de la brosse à dents avec un morceau de savon à lessive humide, puis nettoyer les poignées jusqu'à ce qu'une mousse de savon soit créée. Cette méthode vous permet d'éliminer la saleté et de donner à la surface des thermostats un excellent aspect.
- Une solution de vinaigre avec de l'eau. En utilisant cette méthode, il est nécessaire de respecter strictement les proportions: mélanger une partie de vinaigre avec quatre parties d'eau. Pour nettoyer les stylos avec une telle solution, assurez-vous de porter des gants avec des cotons-tiges. Cette solution élimine non seulement la saleté, mais également les vieilles graisses.
- Jus de citron ou acide citrique. Appliquer la solution concentrée sur la surface et après 5 minutes, retirer avec un chiffon propre.
Malheureusement, sur les modèles de poêles avec des poignées fixées en permanence au panneau, un nettoyage complet ne fonctionnera pas.
Mais l'utilisation régulière des méthodes ci-dessus peut éviter une contamination globale des stylos.
Aperçu des défauts courants
Si vous ne nettoyez pas systématiquement l'appareil, la probabilité des problèmes suivants est élevée:
- La difficulté de tourner la poignée. Dans une telle situation, une règle mérite d'être rappelée: le recours à la force ne fera qu'endommager le stylo. Ce problème se produit lorsque des objets pénètrent dans la fente entre le corps et le liège ou lorsqu'une quantité importante de saleté s'accumule. Vous pouvez résoudre le problème en démontant et en nettoyant la poignée de la cuisinière à gaz.
- Le gaz entre mal dans le brûleur. Même si la poignée est tournée au maximum, un léger incendie est observé à la sortie. La cause probable est que les trous des buses sont obstrués par des déchets alimentaires ou des produits de combustion. Vous pouvez résoudre ce problème vous-même. Utilisez un cure-dent pour nettoyer. Il est également nécessaire de dévisser la buse et de la laver avec de l'eau savonneuse.N'utilisez en aucun cas des objets métalliques, car même une petite égratignure peut provoquer une fuite de gaz. Mais pour remplacement de jet il vaut mieux inviter un spécialiste.
- La grue est bien tournée. Ce problème se produit lors de l'effacement de la graisse graphite sur le clapet de valve, contamination de la tige rotative. Pour l'élimination, il est nécessaire d'effectuer un rinçage complet de la grue à plaques. Pour effectuer cette opération, il est préférable d'appeler le maître, car il sera nécessaire de démonter la partie avant du poêle à gaz et de dévisser le corps de la vanne, en retirant le ressort et le bouchon.
- Défilement à 360 degrés. Ce problème survient souvent lors d'une utilisation prolongée d'une cuisinière à gaz. La raison peut être une panne du siège de la poignée. Pour la réparation, vous devez acheter et mettre un autre stylo.
Ces problèmes peuvent être résolus par eux-mêmes, mais s'il n'y a aucune confiance dans l'obtention du résultat par vous-même, il vaut la peine d'appeler un spécialiste.

Toutes ces difficultés de travail, ainsi que pannes se produire en l'absence de soins de la cuisinière à gaz. Afin de ne pas appeler un assistant pour dépanner, vous devez faire plus attention à votre équipement, en effectuant sa maintenance en temps opportun.
Si vous constatez une fuite de gaz ou une panne de cuisinière à gaz, vous devez immédiatement appeler l'artisan de la compagnie de gaz avec laquelle vous contrat conclu.
Conclusions et vidéo utile sur le sujet
Voici des vidéos qui illustrent la procédure de retrait des stylos des cuisinières à gaz de différents modèles.
Cette vidéo montre comment retirer les poignées en utilisant la cuisinière à gaz Hephaestus comme exemple:
La procédure et les méthodes de nettoyage des stylos sont présentées dans cette vidéo:
Une autre façon de nettoyer les poignées de la cuisinière à gaz peut être vue dans cette vidéo:
En résumé, on peut noter que tous les éléments de la cuisinière à gaz doivent être nettoyés régulièrement. L'élément mobile principal est les poignées. Ils sont également contaminés et peuvent mal fonctionner avec le temps. Il est nécessaire de les retirer vous-même et d'effectuer un nettoyage en profondeur.
Assurez-vous de respecter les mesures de sécurité lors de l'exécution des travaux, ainsi que de suivre attentivement l'algorithme des actions afin de ne pas endommager ces éléments.
Vous voulez parler de la façon dont vous avez retiré les stylos de votre cuisinière à gaz? Partagez les difficultés que vous avez rencontrées avec d'autres utilisateurs. Ou peut-être voulez-vous recommander un outil efficace pour nettoyer les stylos et la surface du poêle, que nous n'avons pas mentionné ici? Écrivez vos conseils et commentaires dans la boîte de commentaires sous ce post.
