Comment faire une fosse septique de vos propres mains à partir de barils en utilisant des conteneurs en plastique comme exemple
L'assainissement local avec sa propre usine de traitement des eaux usées permettra de ne pas rompre avec la civilisation dans les colonies qui n'ont pas d'infrastructure de base. Si vous faites une fosse septique de vos propres mains à partir de barils comme objet de nettoyage, le coût de l'amélioration sera minime. Mais pour un résultat réussi, des subtilités technologiques sont nécessaires. Est-ce vrai?
À tous ceux qui souhaitent acquérir un système d'égouts autonome sur leur propre site, nous offrons des informations utiles qui éclairent en profondeur tous les aspects de sa construction. L'application pratique des informations que nous fournissons est une garantie de longue durée de vie et de fonctionnement sans faille du système.
Un article intéressant présenté à votre attention vous présente différents types constructifs de fosses septiques artisanales. Il décrit en détail la technologie de construction d'une usine de traitement des eaux usées à partir de barils de déchets. Les méthodes de construction sont illustrées par des applications graphiques, photos et vidéos simplifiées.
Le contenu de l'article:
Les avantages d'une fosse septique maison
Malgré le fait que les fabricants proposent une gamme assez large systèmes de traitement, la conception et la construction de fosses septiques artisanales (par exemple, à partir de barils) est tout à fait pertinente.
L'option d'un appareil portatif est demandée pour les raisons suivantes:
- la possibilité de minimiser les coûts en achetant des composants, comme on dit, au hasard - où c'est moins cher, d'autre part, en utilisant les outils existants;
- l'installation de l'équipement peut être effectuée selon le schéma dit modulaire, en ayant préalablement envisagé des options pour compléter et compliquer le système.
Disons que vous équipez d'abord des toilettes. À l'avenir, connectez la baignoire, un évier dans la cuisine, voire un évier dans le garage au système de nettoyage. Bien sûr, cela ne sera facilement réalisable que si les points de raccordement sont prêts à l'avance - des coudes de tuyaux qui ont été temporairement réservés sur la surface ou adjacents à celle-ci.

Personne mieux que le maître qui a construit la fosse septique ne connaît les points faibles du système de traitement et ses capacités. Bien qu'il ne vaille pas la peine de faire des lacunes, lui seul en tiendra compte lors de l'opération.
Ce n'est un secret pour personne que les fabricants et les vendeurs de tout équipement, en règle générale, n'informent pas les acheteurs des lacunes, ne «faisant ressortir» que les avantages système septique. Un constructeur indépendant saura ce qui peut lui faire défaut.
Connaissant les normes approximatives de consommation d'eau par la famille, compte tenu de la fréquence de résidence et des caractéristiques du site autour de la maison dans son ensemble (type de sol et eau souterraine), vous pouvez éviter à la fois des efforts et de l'argent inutiles, et des "accidents" causés par un faible débit du système de nettoyage.

Apprenez les subtilités de la construction d'une fosse septique qui fonctionne sans dégager d'odeur et ne nécessite pas de pompage article populaire notre site.
Variétés de dessins et schémas
La fosse septique fabriquée à partir de barils représente plusieurs capacités (chambres) installées dans l'ordre donné. Ils sont reliés séquentiellement les uns aux autres par des buses afin que les sections soient remplies dans un ordre strictement défini. Ceci est réalisé en installant des caméras à différents niveaux de hauteur.
Le principe de fonctionnement d'une fosse septique à plusieurs chambres est similaire au principe de fonctionnement puisard avec débordement. L'entrée et la sortie des tuyaux dans les chambres se fait de manière à ce que l'eau commence à s'écouler dans le réservoir suivant, avant que le niveau d'eau n'atteigne le tuyau d'entrée.
S'accumulant progressivement dans la chambre, l'eau se dépose. Les particules de contaminants les plus lourdes se déposent au fond du réservoir, des particules plus petites et plus légères continuent le long du système.

Pour que le méthane généré lors du traitement des effluents puisse être librement évacué du système, il est nécessaire de prévoir une ventilation. Il est installé verticalement à la sortie de la maison ou à la sortie de leur dernière section d'une fosse septique artisanale.
De plus, sur l'évacuation de l'eau des appareils de plomberie, des éviers, d'une cuvette des toilettes, d'une cabine de douche, etc., il est nécessaire de prévoir un siphon - au moins en forme de "genou" - pour qu'une odeur désagréable n'empoisonne pas l'existence.
Le principe de fonctionnement de la fosse septique est basé sur la séparation progressive des composants solides insolubles et du composant liquide de l'effluent. Cousez plus de sections passent la masse d'égout, plus le degré final de purification est élevé.
Le plus courant est un schéma en trois sections d'une fosse septique, utilisé pour le traitement des flux de déchets gris et bruns. Cependant, s'il est nécessaire de purifier l'eau contaminée provenant d'un bain ou d'une cuisine, l'utilisation d'une ou deux sections de fûts sera suffisante.

Du dernier baril, une sortie vers le champ de filtration est aménagée, ce qui achève le processus de nettoyage. Ce système de post-traitement est une structure souterraine assemblée à partir de tuyaux perforés - drains.
La canalisation de drainage est posée dans des tranchées spécialement sélectionnées pour elles, posées avec du géotexil, au-dessus desquelles des tuyaux sont posés et un mélange de sable et de gravier est rempli.
La fonction de traitement au sol des effluents gris fournis par les bains, les machines à laver, les drains de cuisine, etc., peut être confiée en toute sécurité à un puits d'absorption bien construit dans le fût extrême du réseau d'égouts. Dans ce cas, le fond du réservoir est découpé, et il est rempli de gravier et de sable afin que la couche de ce remblai soit d'au moins 1 mètre.

Comme vous pouvez le voir, le schéma est assez simple, mais sa mise en œuvre dans la pratique nécessitera beaucoup d'efforts physiques. Des travaux particulièrement longs sont associés à l'aménagement d'une fosse de fondation pour une section de fosse septique et de tranchées pour une canalisation d'égout.

Construction d'une fosse septique en fûts de plastique
Les usines de traitement maison peuvent être divisées en groupes en fonction du matériau à partir duquel les chambres sont fabriquées, ce sont des fosses septiques:
- à partir de barils en plastique;
- des oursons européens servis;
- à partir de conteneurs métalliques (cubes soudés, fûts cylindriques);
- anneaux en béton;
- des pneus de voiture.
Le réservoir en métal a une plus grande rigidité. De plus, il est plus facile à corriger en flottant. Mais le principal inconvénient des barils de fer est leur faible capacité à résister à la corrosion.
Une fosse septique en anneaux de béton nécessite l'utilisation d'un équipement spécial dans la construction de puits d'égout. Il est difficile de fournir un point de nettoyage fait de housses de pneus avec un degré d'étanchéité approprié s'il n'y a pas d'expérience avec des matériaux similaires.

Une fosse septique faite maison en tonneaux en plastique présente plus d'avantages:
- poids léger, ce qui facilite le transport, l'installation dans la fosse et l'assemblage;
- résistance à la corrosion. Ce point est important non seulement du point de vue de la réduction des tracas liés au remplacement des réservoirs, mais également comme garantie supplémentaire de propreté sur le site;
- méthode de construction optimale, comme l'installation du système ne nécessite pas de soudage électrique;
- étanchéité des conteneurs, grâce à laquelle il n'est pas nécessaire d'effectuer des travaux sur l'étanchéité de la structure d'égout;
- la fabricabilité du matériau source. Les conteneurs en polymère sont beaucoup plus faciles à manipuler avec des outils de coupe.
Si nécessaire, de légers défauts de coupe peuvent être facilement corrigés par soudage à froid.

Exigences de placement de base
Dans le cas où vous devez obtenir la permission d'installer une fosse septique dans les autorités réglementaires (SES, etc.), puis étudiez attentivement SNiP n ° 2.04.03- 85. SNiP - "Building Norms and Rules" - un document similaire à la norme (GOST), et c'est celui spécifié qui établit les règles de base pour la construction de réseaux d'égouts externes et d'installations de traitement.
Réglementation sanitaire SanPiN - Règles et normes sanitaires.
Dans tous les cas, respectez les exigences suivantes pour les distances de la fosse septique aux objets suivants:
- la fondation de la maison est de 4-5 mètres;
- bien, bien - 30-50 m;
- lac, étang - 30 m;
- buissons, arbres - 2-4 m;
- route - 5 m.
Avant une fosse septique autonome ou puisard de barils en plastique sa localisation doit être discutée avec les propriétaires des parcelles voisines. Bien que les normes prévoient une distance de leur clôture à une fosse septique de 2 m, les propriétaires d'un domaine voisin peuvent ne pas être satisfaits de la proximité de la structure d'égout.
Si le bas de la structure est creusé en dessous de 5 m, il faudra obtenir des permis de construire auprès de l'administration locale.

Mais même si l'autorisation n'est pas requise, tenez compte des fonctionnalités du site. Il est inutile d'organiser les eaux usées avec des systèmes de post-traitement du sol dans des sols argileux qui n'ont pas les propriétés de filtration nécessaires.
La stagnation des eaux de crue pendant la fonte des neiges et pendant les périodes de fortes pluies «parlera» du manque de perméabilité à l'eau. Cela signifie que les sols argileux prédominent dans la section et ne passent pas d'eau à travers eux-mêmes et en eux-mêmes.
Sur les sols argileux, des loams sableux, des argiles, des loams, des réservoirs de stockage sont installés. Faites-les anneaux en béton, des récipients en plastique ou un groupe de barils. Les accumulateurs accumulent uniquement la masse de déchets pour le pompage avec les camions d'égout, mais ne les traitent pas.
Une décision similaire devrait être prise si le niveau des eaux souterraines est proche de la surface. Les sols saturés d'eau entraveront également l'élimination du composant liquide purifié et clarifié de l'effluent.

Au lieu d'un réservoir de stockage, une station de traitement biologique peut être installée. Il nettoie les drains à 98%, ce qui leur permet d'être déversés sur le terrain.
Caractéristiques et normes de conception
Ayant une solide expérience dans la construction de tels systèmes, tous les calculs requis peuvent être effectués «à l'œil nu». Mais l'élaboration d'un plan détaillé et l'élaboration d'un projet, au moins sous forme de croquis, peuvent être très utiles.
Premièrement, en déterminant où installer les caméras et en posant le coffre, vous calculerez avec précision la quantité et les matériaux dont vous avez besoin pour acheter. Si le temps presse, puis avant de commencer à travailler, une partie du nécessaire, il peut être possible de l'obtenir gratuitement.
De plus, c'est légal - les gens, en règle générale, se séparent facilement des choses qu'ils considèrent comme indésirables. Il a déjà été testé plus d'une fois dans la pratique que même une voiture peut être assemblée en dépensant des fonds comparables au prix, par exemple, d'un nouveau vélo.
Deuxièmement, la mise en œuvre minutieuse de l'esquisse contribue à l'adoption de nouvelles décisions, ainsi que de disciplines. De plus, un dessin à grande échelle sur une échelle peut révéler les défauts de la conception originale et protéger contre les dépenses inutiles. Il se pourrait bien que le régime puisse être simplifié en rejetant l'excédent.

Lors de l'élaboration d'un plan, concentrez-vous sur les éléments suivants:
- même si vous n'avez pas besoin d'une autorisation officielle pour installer une fosse septique, essayez de ne pas violer l'écologie du site;
- les sections de la fosse septique doivent être situées de sorte qu'entre elles et la fondation il y ait un minimum de 5 m - une distance qui exclut l'érosion des sols en cas d'inondation d'urgence de la fosse septique et de fuites;
- le tracé des conduites d'égout doit être conçu de manière à ce qu'il soit possible, sans virage, de contribuer au colmatage de la canalisation;
- la ligne externe du système d'égouts autonome doit être pourvue d'un puits d'inspection pour l'inspection et le nettoyage.
- pour chaque 25 m de canalisation d'égout, un puits d'observation supplémentaire devrait être construit.
Si le site n'est pas satisfait des dimensions et que le choix du lieu est une question réglée, renforcez si nécessaire les parois de la fosse.

S'il est prévu d'ériger des bâtiments pour l'avenir, dont le fonctionnement nécessitera l'utilisation d'eau (un bain, un lavabo, une sorte de production artisanale), fournir des endroits pour «puiser» l'eau qui les draine dans le système de traitement. De plus, l'évacuation de l'eau du bain peut être effectuée immédiatement dans la dernière chambre de la fosse septique, car il n'y aura pas de grosses particules de saleté dans les eaux usées.
Si vous n'avez pas l'intention d'utiliser les services d'un charognard, ne rendez pas la première chambre trop encombrante pour qu'elle puisse être facilement nettoyée manuellement. De plus, prévoir la possibilité d'un démontage facile de la caméra, ou l'accès à son contenu pour un nettoyage rapide.

Si, en fonction du type de sol argileux du site, seule l'installation de l'entraînement est possible, alors concevez-la en prévoyant un passage sans entrave de l'équipement d'évacuation des eaux usées.
La profondeur de la tranchée doit être calculée de sorte que la pente des tuyaux soit de 2-3 cm par 1 mètre afin que les drains se déplacent spontanément vers le lieu de traitement et d'élimination.
Préparation des matériaux de construction pour le travail
Les principaux matériaux nécessaires pour fabriquer une fosse septique à partir de barils de vos propres mains devraient comprendre:
- tuyaux pour le tronc d'un diamètre de 110 mm;
- raccords, coins, etc., en quantité appropriée à votre projet.
- barils eux-mêmes, conçus pour les caméras de fosse septique. Sélectionnez leurs tailles avec le calcul du débit d'eau approximatif dans la maison, basé sur des observations directes.
Il est conseillé d'utiliser des fûts avec des parois suffisamment épaisses pour que le joint des tuyaux avec eux soit aussi rigide que possible - sinon le joint peut perdre son étanchéité à cause des contraintes mécaniques.

Travailler à l'avance sur la question des chambres de congélation à basse température. Vous pouvez utiliser l'ancienne méthode rurale - mettez des bâtons en bois dans des conteneurs.
Au moins, la glace qui se dilate pendant la congélation comprime l'arbre, qui a «pris» une partie de l'impact. Des bouteilles en plastique remplies de sable seront également utiles.
Mais dans tous les cas, l'isolation thermique des fûts ne sera pas inutile - veillez à l'acquisition des matériaux disponibles en quantité requise.
Des supports seront également nécessaires. Besoin d'acheter un scellant pour sceller les joints. À cette fin, n'utilisez pas de silicone, il ne durera pas longtemps et vous ne réussirez pas à le recouvrir d'une couche protectrice - aucun revêtement ne tiendra sur le silicone.
La meilleure option est d'utiliser carrosserie mastic automobile - il a une bonne adhérence (adhérence), une résistance mécanique et il peut être recouvert de peinture, de mastic, etc. Un mastic polyuréthane a les meilleures caractéristiques, mais il est assez cher;
Il est nécessaire d'acheter du ciment, du sable, des renforts - pour couler les bases sous les barils. Le sable ne devrait pas avoir d'exigences particulières en termes de qualité. Que ce soit avec des cailloux, ce n'est pas effrayant, l'essentiel est de ne pas inclure de morceaux de loam et de pollution organique.
En tant que raccords en acier, toutes les barres en acier conviennent. Il n'est pas nécessaire de cuire le treillis d'armature - il suffit de fixer les tiges avec du fil.

Il faudra de la pierre concassée, du gravier, du laitier de gravier ou des matériaux similaires pour remplir le fond de la fosse (fosse) avant de couler le ciment;
Un fût en plastique est léger et, par conséquent, lorsque le conteneur n'est pas plein, il peut être «poussé» à la surface par les eaux souterraines. Pour éviter cela, préparez des crochets métalliques, des tiges filetées - tout ce que vous pouvez "ancre"Canon.
Il convient d'utiliser les tiges filetées vendues - il est pratique d'en faire des crochets, aux extrémités droites desquelles vous pouvez fixer les plaques de fer avec deux écrous qui doivent être «noyés» dans du ciment.
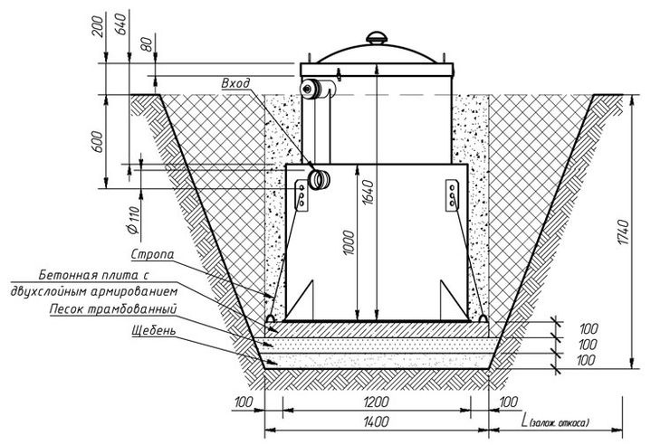
Le dispositif de la fosse avec une dalle de béton
Comment décidez-vous de faire le puits de fondation principal - manuellement ou avec l'aide d'une excavatrice - décidez par vous-même. Calculez sa superficie de sorte qu'après avoir installé le baril en place, il soit commode de ramper la terre, qui est versée dans l'espace entre elle et la paroi de la fosse. Vous pouvez également prévoir une isolation thermique du réservoir - scories, polystyrène, - en général, le fait qu'il sera plus abordable.
Avant de couler une dalle de béton au fond de la fosse, vous devez vérifier si sa profondeur est suffisante. Pour ce faire, vous pouvez installer l'un des fûts dans la fosse et voir s'il y a suffisamment de profondeur pour la base en béton. Si tout est en ordre, vous pouvez commencer à remplir le fond de la fosse avec du ciment. Il est tout à fait facultatif de le faire coffrage, mais il est conseillé de s'endormir avant cela avec du sable et de tasser le fond.
S'il y a des doutes sur la résistance des parois de la fosse, alors avant de les verser, il faut les renforcer avec une planche. Il suffit ensuite de remplir le fond d'une fine couche de ciment liquide. Après séchage, il est possible de poser le renfort et de rendre le remblai «propre» - avec l'horizontage nivelé. N'oubliez pas les pièces encastrées hypothécaires pour l'ancrage des barils!
Mélanger le ciment avec du sable - 3 parties de sable pour 1 partie de ciment. Il est très pratique d'utiliser une bétonnière électrique, mais ne l'acquérir que pour ce travail (s'il n'y a pas de projet de construction d'autre chose) ne semble pas conseillé. Il suffit de choisir un bac adapté, pratique pour travailler avec une pelle.
Mélanger le sable avec du ciment d'abord sans eau - au contraire, en évitant son infiltration prématurée, puis en ajoutant progressivement du liquide, amener la solution à la consistance requise. Pour préparer de petites portions de ciment, vous pouvez travailler sur une feuille de fer ou de contreplaqué - s'il n'y a pas d'auge. Avant de remplir la fondation directement, humidifiez le remblai avec de l'eau pour l'étanchéification.

Pour niveler le remplissage, utilisez un outil similaire à une vadrouille plate. Tout en appuyant la semelle sur la surface, lissez la solution avec de légers mouvements de translation. Donc, au fait, vous obtiendrez un meilleur remplissage avec la solution du futur site.
Pour éviter la fissuration du mortier pendant le séchage, en particulier par temps chaud, couvrir la zone inondée avec un chiffon dense après la prise du ciment et verser dessus avec de l'eau. À cet effet, la bâche ou un tissu synthétique similaire est préférable - ici, il est important de ne pas mouiller la surface du site, mais de ralentir le processus d'évaporation.
Procéder à l'installation des tuyaux lorsque les fûts sont installés, mais pas complètement fixés. Ce n'est que lorsque toute la structure est assemblée que ses éléments peuvent être fixés. Il est souhaitable de remplir les barils d'eau - pour la stabilité.
Tous ces points sont importants à considérer car la dernière étape de l'assemblage sera le traitement des joints de tuyaux et des barils avec du mastic - pendant qu'il sèche, il est nécessaire de s'assurer que la structure est immobile.
Avant d'appliquer le mastic, traitez les grandes zones de contact avec du plastique. papier de verre (N ° 80-100) - pour le meilleur couplage et la durabilité d'une couture. Soit dit en passant, des mouchoirs triangulaires peuvent être installés sur le même produit d'étanchéité pour la rigidité, 3-4 pièces par joint, entre la paroi du baril et le tuyau. Attachez les mouchoirs avec du fil, du ruban de masquage, etc. pendant le séchage du mastic. - pour qu'ils ne "glissent" pas.

Après avoir testé la perméabilité à l'eau du système, procéder au remplissage final des tranchées et des fosses. Faites le bourrage du sol progressivement, en remplissant le sol en couches. Pour plus de rigidité, vous pouvez jeter des pierres, des briques, etc. dans l'espace.
Dans les endroits où il est possible que l'équipement pénètre dans les tuyaux et les fosses remplis, avant de remplir la couche de sol superficielle, faites un revêtement de sol protecteur au moins à partir des planches.
Montage et raccordement de la structure
Ainsi, tous les matériaux sont prêts. L'étape suivante consiste à découper des trous dans les canons. Il n'est pas logique de décrire cette procédure. La seule chose qui peut être conseillée - ne faites pas immédiatement des trous dans la taille - laissez les tuyaux être insérés avec force, si nécessaire, coupez l'excédent.
Ensuite, vous devez prendre soin de fixer les tuyaux à l'avance, sinon, lors du remplissage et du bourrage des tranchées et des fosses, l'intégrité des coutures peut être violée. Les tuyaux peuvent être réparés à l'aide de tous les outils disponibles - fil, garniture de planche, briques - n'importe quoi.
Avant de creuser des tranchées et des fosses, il serait utile d'assembler toute la structure, sans fixer les détails, tout arranger au sol. Les tuyaux peuvent simplement être posés sur le sol à côté des barils. Cela aidera à faire plus précisément des marquages au sol. Après avoir marqué les contours de la route et des puits de fondation avec des pattes et de la ficelle, vous pouvez commencer à creuser.
Procédure visuelle
Le processus de construction d'une fosse septique avec un débordement des barils utilisés fournira une instruction visuelle étape par étape:
Dans la première partie des travaux d'installation, la préparation des composants de la fosse septique et l'installation du réservoir de réception dans la fosse ont été effectuées.
Ensuite, nous réalisons l'appareil de la caméra, qui remplit les fonctions d'un puits absorbant:
Les étapes d'installation des chambres de réception et d'absorption sont terminées. Nous passons maintenant à la construction du système de post-traitement des sols, pour lequel nous avons déjà installé une balise sous la forme de la première cheville et fabriqué un dispositif de détermination de la pente.
L'installation d'une fosse septique avec un champ de filtration est terminée, il reste à remplir la fosse de terre et à mettre la structure en service:
Conclusions et vidéo utile sur le sujet
Vidéo n ° 1. L'utilisation de barils en plastique dans la fabrication d'une fosse septique:
Vidéo n ° 2. Les dernières étapes de l'appareil:
Vidéo n ° 3. Le principe général de l'organisation des eaux usées autonomes:
Lorsque la fosse septique faite maison en tonneaux en plastique est prête à l'emploi, définissez les règles de son utilisation pour les membres de la famille. Assurez-vous d'insister pour que les objets non dégradables tels que les chiffons, les mégots de cigarettes et les petits objets en matériaux synthétiques ne soient pas jetés dans les éviers.
Si vous nettoyez indépendamment les chambres, vous pouvez préparer une fosse à déchets à l'avance. La pratique montre que les boues organiques extraites de la fosse septique, mélangées à de la terre et de l'herbe tondue, se transforment après trois ans en un bon engrais pour le sol.
Veuillez écrire des commentaires dans le bloc ci-dessous. Partagez votre propre expérience et des informations utiles pour les visiteurs du site. Posez des questions sur des points controversés ou obscurs.

Je pense à installer une fosse septique pour des toilettes dans ma maison de campagne, mais je ne m'attendais pas à ce qu'une fondation en béton soit nécessaire. Que donne-t-il et pourquoi est-il impossible d'installer la structure directement au sol? Pour drainer l'eau de la cuisine, j'ai déjà une fosse septique, que j'ai faite moi-même en anneaux de béton. Son fond m'est donc complètement fermé. L'eau elle-même sort, il n'est même pas nécessaire de la nettoyer. Et ici: les conteneurs sont hermétiques par eux-mêmes, alors pourquoi la fondation?
Dans ce cas, la fondation est nécessaire pour que la fosse septique du conteneur que vous utiliserez ne tombe pas en dessous, ne s'enfonce pas dans le sol. Si vous n'utilisez pas de fondation en béton, l'affaissement du sol menace une rupture des communications reliées au réservoir.
Mon voisin du pays a fait une telle fosse septique de ses propres mains, a parlé de deux barils en plastique enterrés. Mais il n'a rien dit sur la construction de la dalle de fondation à la base de la fosse. Je pense qu'il ne l'a pas fait, il a juste versé un oreiller de sable et de gravier ordinaire. Ses barils sont enterrés à une profondeur inférieure à zéro. Avec une utilisation toute l'année, le système d'égouts ne gèlera pas. Le réchauffement n'est probablement un point important que lors du fonctionnement du système en hiver.
La fondation dans de telles structures est nécessaire pour qu'elles ne «ressortent» pas si le sol est inondé. De grands volumes de capacité peuvent fissurer l'asphalte s'ils ne sont pas ancrés.
J'étais très intéressé par le sujet d'une fosse septique faite de barils en plastique. Il n'y a aucun moyen d'acheter une fosse septique prête à l'emploi ou d'en faire une majeure à partir d'anneaux en béton, et le fait maison à partir de pneus ne m'inspire pas confiance. Il y a un puits sur le site, je ne veux pas que les eaux usées de la fosse septique tombent dans l'aquifère. Une autre question est de savoir si ces barils peuvent résister à la pression du sol. Comment peuvent-ils être renforcés pour éviter cela?
Pour renforcer les fûts en plastique, vous pouvez utiliser des cadres métalliques, par exemple. Cette solution vous permettra de retirer une partie de la charge d'une fosse septique maison, et au lieu du métal, vous pouvez utiliser des cadres en bois. Certaines personnes ont revêtu des barils de briques, mais il est rentable si vous n'achetez pas une brique, mais que vous l'obtenez gratuitement.