Rinçage de l'échangeur de chaleur de la chaudière à gaz: méthodes et moyens de nettoyage pour éliminer les dépôts minéraux
L'eau chaude dans le robinet et stable à +23 ° C dans la maison, quand il y a un gel intense à l'extérieur de la fenêtre - n'est-il pas vrai que ces avantages de la civilisation sont devenus familiers? Répondez maintenant à une question simple: l'échangeur de chaleur de la chaudière à gaz a-t-il été rincé après la saison de chauffage précédente? Si vous répondez «non», vous risquez de vous retrouver sans chaleur en hiver.
Pour éviter cela, lisez notre article sur la lutte contre le tartre et sur la prévention de l'accumulation de gisements minéraux. Nous avons exposé en détail des méthodes éprouvées pour traiter la plaque de calcium, ce qui réduit l'efficacité de l'unité et augmente la consommation de carburant. Nos conseils aideront à augmenter la dissipation thermique et à prolonger la durée de vie de la chaudière.
Le contenu de l'article:
- Comment se forme le tartre et qu'est-ce qui est dangereux
- Suie sur les surfaces extérieures
- À quelle fréquence devez-vous rincer l'échangeur de chaleur
- Méthodes d'élimination des contaminants
- Produits chimiques pour le nettoyage et la prévention
- Caractéristiques de conception des échangeurs de chaleur
- Comment détartrer un échangeur de chaleur à plaques
- Rinçage de l'échangeur de chaleur à coque et à tube
- Caractéristiques des échangeurs de chaleur coaxiaux à rinçage
- Nettoyage et rinçage de la chaudière du plancher
- Conclusions et vidéo utile sur le sujet
Comment se forme le tartre et qu'est-ce qui est dangereux
Pas un seul liquide ne peut être comparé à de l'eau ordinaire sous une chaleur spécifique. Selon la température et la pression, cet indicateur varie dans la plage de 4174 à 4220 Joules / (kg · deg). L'eau est non toxique, abordable et bon marché, ce qui en fait un moyen de transfert de chaleur presque parfait.
Et pourtant chez H2Il existe un inconvénient important - à l'état naturel, il contient des sels de métaux alcalino-terreux Ca et Mg. Lorsqu'ils sont chauffés, ils forment du carbonate insoluble ou, sinon, des dépôts calcaires sur les surfaces internes de l'équipement d'échange de chaleur, du tartre.

Les effets négatifs de la formation d'écailles sont les suivants:
- l'efficacité diminue;
- la pression de l'eau diminue;
- l'usure de la chaudière s'accélère;
- augmentation des coûts.
Les chaudières de chauffage domestique et les chauffe-eau sont principalement équipés d'échangeurs de chaleur de surface, dans lesquels la chaleur est transmise à travers la surface des parois métalliques.Mais la balance a une résistance thermique élevée, c'est-à-dire une faible conductivité thermique.
Pour cette raison, le coefficient de transfert de chaleur diminue dans les échangeurs de chaleur contaminés, ce qui entraîne une diminution de la température. liquide de refroidissement dans le circuit de chauffage et chauffage insuffisant de l'eau à la sortie du circuit d'eau chaude.

Les dépôts durs d'une épaisseur de seulement 0,2 mm augmentent la consommation de carburant de 3%. Si l'épaisseur de l'échelle est de 1 mm, le dépassement de gaz atteindra 7%.
Avec une diminution du transfert de chaleur, plus de gaz est nécessaire pour maintenir une température d'eau donnée, ce qui indique une diminution de l'efficacité. Dans le même temps, avec l'augmentation de la consommation de carburant, les volumes de gaz de combustion augmentent, l'émission de substances nocives polluant l'air ambiant et l'atmosphère dans son ensemble augmente.
Les dépôts chevauchent complètement ou partiellement l'alésage du tuyau, ce qui entraîne une augmentation de la résistance hydraulique du système, une perturbation de la circulation du liquide de refroidissement et une diminution de l'approvisionnement en eau chaude aux points d'admission d'eau.

La violation du transfert de chaleur entraîne une surchauffe des tuyaux, ce qui provoque la formation de microfissures - futurs foyers de corrosion. En raison d'un fonctionnement dans des conditions extrêmes, l'unité tombe en panne prématurément.
Pour éviter une panne de l'équipement, le détartrage doit être périodiquement retiré. Nettoyage de routine des échangeurs de chaleur chaudières murales à gaz et les unités de plancher sont effectuées dans le délai établi par le fabricant. Une procédure simple permet de maintenir l'efficacité énergétique de l'équipement au niveau initial, prolonge la période de révision, réduit le coût total de fonctionnement.
Suie sur les surfaces extérieures
Avec une combustion incomplète du gaz, la suie se dépose sur les surfaces extérieures de l'échangeur de chaleur - un allotrope de carbone amorphe. Les échangeurs de chaleur des chaudières à chambre de combustion ouverte et à tirage naturel souffrent davantage de suie.
L'une des raisons de sa formation accrue est le caractère poussiéreux de l'air dans la pièce, d'où provient l'air de combustion. Beaucoup de poussière est émise lors des travaux de construction. Si le chantier est près de l'entrée de la cheminée coaxiale, l'échangeur de chaleur de la chaudière à chambre fermée peut devenir contaminé.

Un diamètre insuffisant, une configuration incorrecte, des obstructions de cheminée conduisent à une mauvaise traction. Avec une mauvaise traction, l'élimination des produits de combustion est difficile, et ils se déposent sous forme de suie sur la partie externe inférieure de l'échangeur de chaleur.
Comme le calcaire, la suie a une faible conductivité thermique et réduit l'efficacité des équipements d'échange de chaleur, conduit à son usure accélérée et réduit la période de révision. L'efficacité d'un échangeur de chaleur contaminé par de la suie et du tartre peut diminuer de 25% ou plus.
À quelle fréquence devez-vous rincer l'échangeur de chaleur
La fréquence de nettoyage est indiquée par le fabricant de l'équipement dans le mode d'emploi. Par exemple, les échangeurs de chaleur des chaudières Neva doivent être détartrés tous les 12 mois.
La concentration de sels alcalino-terreux dans l'eau peut être différente. Si la concentration est élevée, l'eau est dite dure. Lorsque vous l'utilisez, le tartre se forme plus rapidement, par conséquent, un nettoyage imprévu peut être nécessaire. De plus, le taux de dépôt dépend du régime thermique et de l'intensité de la chaudière.
La présence de tartre dans les tuyaux de l'échangeur de chaleur et de suie sur ses ailettes est signalée par une diminution de la puissance calorifique de l'équipement.Pour déterminer si la puissance thermique réelle est celle indiquée dans la documentation, mesurez la température et la composition des gaz de combustion à l'aide d'un analyseur de gaz.
En l'absence de l'appareil, la présence de tartre peut être jugée par des signes indirects: une diminution de la température et de la pression de l'eau à la sortie de la chaudière. Si la conduite d'eau est normale pression de l'eau, et un mince filet s'écoule du robinet, vérifiez les dépôts sur les surfaces internes des tubes de l'échangeur de chaleur.
Un chauffage inadéquat de l'eau à un débit de gaz standard et à une pression normale indique également une contamination de l'échangeur de chaleur.
Notez que les dysfonctionnements dans le fonctionnement d'équipements complexes peuvent être causés par diverses raisons et la présence de tartre n'est qu'une des options.
Méthodes d'élimination des contaminants
Pour éliminer le tartre et la suie, des méthodes mécaniques, hydrauliques, chimiques et autres ou leurs combinaisons sont utilisées.
Nettoyage mécanique l'équipement d'échange de chaleur est effectué à l'aide d'une baguette, d'une brosse métallique, d'un grattoir. Des outils à main et des actionneurs électriques ou pneumatiques sont utilisés.
Candidature méthode hydraulique Cela n'est possible qu'avec un appareil à haute pression, qui fournira un écoulement de fluide puissant qui peut réduire les dépôts et les faire sortir.
Voie chimique prévoit l'utilisation de produits spéciaux qui détendent et dissolvent les contaminants.

Méthodes magnétiques, électromagnétiques et ultrasoniques sont relativement nouveaux et incluent l'utilisation de convertisseurs de filtre et d'autres moyens techniques.
Une combinaison de méthodes mécaniques et chimiques est le plus souvent utilisée pour nettoyer les échangeurs de chaleur des chauffe-eau domestiques et des chaudières de chauffage. Après trempage (décapage) dans le détergent, la balance restante est nettoyée mécaniquement. Les techniques modernes mentionnées ci-dessus gagnent également en popularité.
Produits chimiques pour le nettoyage et la prévention
Les agents de détartrage contiennent des acides organiques ou inorganiques. Dans la production de produits ménagers, les acides adipique et phosphorique sont le plus souvent utilisés. À la maison, préparez des solutions aqueuses d'acide citrique ou acétique.
Les acides sont des réactifs - ils sont capables de réagir avec les sels alcalino-terreux et de former d'autres sels solubles dans l'eau, qui sont ensuite éliminés de l'équipement d'échange de chaleur.
Les alcalis sont également utilisés, par exemple, le carbonate de sodium ou la soude caustique, qui permet de desserrer les dépôts de carbonate et de suie, facilitant le nettoyage mécanique et chimique ultérieur. Des solutions alcalines sont également utilisées pour neutraliser les traces d'acide laissées dans l'échangeur de chaleur après le détartrage.
La plupart des réactifs sont fournis aux clients sous forme de solutions aqueuses hautement concentrées et nécessitent une dilution supplémentaire avec de l'eau dans certaines proportions spécifiées dans le mode d'emploi.
Il est nécessaire de suivre les instructions du fabricant pour la préparation de la solution de travail et de ne pas dépasser la concentration du produit. Sinon, le contact des matériaux de l'équipement d'échange de chaleur avec une substance agressive entraînera une accélération de la corrosion.
Lors du choix des outils, tenez compte du matériau de fabrication de l'échangeur de chaleur. Il s'agit généralement de cuivre, d'acier inoxydable ou de fonte. Par exemple Aminer D Conçu pour les échangeurs de chaleur en acier inoxydable et en acier au carbone. Un autre réactif de la même série. Aminé D (K) utilisé pour nettoyer les surfaces en cuivre.

Les remèdes universels comprennent l'acide citrique, le vinaigre, Medesk Plus, Trilon B. Ils sont utilisés pour rincer les échangeurs de chaleur en métaux non ferreux et en acier inoxydable.
Trilon B Est un sel disodique de l'acide éthylènediaminetétraacétique. Il a l'apparence d'une poudre cristalline blanche. Lorsque Trilon B interagit avec des sels alcalino-terreux (tartre), les ions calcium et magnésium sont remplacés par des ions sodium. En conséquence, des sels de sodium se forment, qui se dissolvent bien dans l'eau.
Des fonds ayant une composition composite complexe sont produits. Ils contiennent simultanément des composants qui nettoient le tartre et empêchent sa formation.
CCF composite diffère des autres produits chimiques par le principe d'action. Ce n'est pas un solvant comme les acides, mais en sa présence, un auto-nettoyage des dépôts de carbonate (tartre) se produit.
Dans des conditions normales, des cristaux de carbonate de calcium se forment sous forme de plaque minérale pétrifiée. Ceci est l'écume. En présence de CCF, au lieu de plaque minérale, une autre modification du carbonate de calcium se forme - l'aragonite.
Les cristaux d'aiguille d'aragonite pendant la croissance détruisent les dépôts de calcium. En revanche, l'aragonite a une mauvaise adhérence à la surface de l'échangeur de chaleur et est donc facilement éliminée par lavage à l'eau ordinaire.
Les substances actives du CCF déjà au stade initial empêchent la formation de cristaux de calcite. En conséquence, la formation d'écailles est considérablement ralentie ou complètement supprimée. Ce processus est appelé inhibition (traduit du latin: «délai»).

Le CCF inhibe non seulement le tartre, mais également la corrosion en raison de la formation d'un film protecteur sur la surface métallique. Lors de l'achat de produits anti-calcaire, n'oubliez pas de préciser s'ils ont des certificats de Rospotrebnadzor.
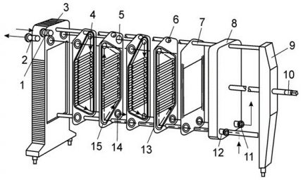
Caractéristiques de conception des échangeurs de chaleur
Pour rincer correctement l'échangeur de chaleur, vous devez connaître sa conception. Vous trouverez toutes les informations sur votre chaudière dans le manuel d'instructions.
Au cas où, nous rappelons que pour l'organisation du chauffage autonome et de l'approvisionnement en eau chaude dans les appartements et les maisons privées, les chaudières à gaz et chauffe-eau avec des échangeurs de chaleur des types suivants:
- coque et tube;
- coaxial;
- lamellaire.
Dans les échangeurs de chaleur à coque et à tubes répandus, l'eau circule à travers un tuyau qui, sous la forme d'une bobine, s'enroule autour des parois latérales du boîtier. Un tel ensemble est soudé ou soudé, c'est-à-dire non séparable.

Les échangeurs de chaleur à plaques sont moins courants. Leur principal élément constructif est un sac métallique dans lequel plusieurs plaques sont assemblées.
Par exemple, les échangeurs de chaleur Westen zilmet et Baxi comprennent de 10 à 16 assiettes. Ils donnent leur chaleur à l'eau qui se déplace entre eux à travers les canaux. Un tel appareil doit être démonté avant le nettoyage.

L'élément principal d'un échangeur de chaleur coaxial (bithermique) est deux tuyaux coaxiaux. Dans la version la plus simple, elle ressemble à une spirale avec des virages serrés.
Pour les chaudières à double circuit, la présence de 2-3 échangeurs de chaleur est caractéristique.Par exemple, la chaudière NEVALUX-8023 est équipée de trois échangeurs de chaleur, dont l'un est coaxial, mais pas de type spiral, mais avec des liaisons connectées en série.
Comment détartrer un échangeur de chaleur à plaques
Éteignez la chaudière, coupez l'alimentation en gaz et en eau, vidangez l'eau de l'échangeur de chaleur et attendez qu'elle refroidisse. Débrancher la tuyauterie, dévisser les tirants, déplacer la plaque de pression sous laquelle se trouvent les plaques.
Séparez-les soigneusement les uns des autres. Retirez chaque plaque séparément afin de ne pas vous blesser sur les bords tranchants, travaillez avec des gants de protection serrés. Lorsque vous travaillez avec de l'acide, changez-les en caoutchouc.
Préparez un récipient dans lequel vous tremperez les assiettes, en tenant compte du fait qu'elles doivent être complètement immergées dans le liquide.
Utilisez l'agent de nettoyage conformément aux instructions jointes. Le vinaigre de table est dilué avec de l'eau dans un rapport de 1 à 3. Acide citrique en poudre - dans un rapport de 1 à 10. L'eau de la solution est préchauffée à 40 ° C. Les plaques sont immergées dans la solution pendant 1 heure, après quoi les dépôts restants sont éliminés avec une brosse sous l'eau courante.
Après le démontage et le nettoyage, placez les plaques en position horizontale afin qu'elles reposent sur une table ou une autre surface de travail.

Lors du démontage de l'échangeur de chaleur, inspectez en même temps les joints et les éléments d'étanchéité et, s'ils sont endommagés, remplacez-les par de nouveaux. Il est recommandé de changer tous les joints en même temps, même si un seul d'entre eux est usé. Assemblez tous les éléments dans l'ordre inverse du démontage. Remplacez l'échangeur de chaleur.
Rinçage de l'échangeur de chaleur à coque et à tube
Fermez la chaudière, fermez les robinets des tuyaux d'entrée pour économiser l'eau dans le système de chauffage. Vidangez l'échangeur de chaleur. Débranchez les fils du relais thermique et déconnectez les tuyaux d'eau chaude. Desserrez les écrous et les vis qui fixent l'échangeur de chaleur, retirez-le.

Pour rincer l'échangeur de chaleur à coque et à tube d'une épaisse couche de dépôts de carbonate, il doit être retiré du boîtier. Le processus de démantèlement ne nécessite pas de compétences particulières
Inspectez visuellement les surfaces. S'il y a de la suie sur les ailettes ou dans d'autres zones, plongez l'échangeur de chaleur dans un détergent contenant des alcalis. Il peut s'agir d'une solution de savon à lessive ordinaire.
Sauf indication contraire dans les instructions, le trempage devrait durer environ 15 minutes. Brossez ensuite la suie. Rincer l'échangeur de chaleur à l'eau courante avec une bonne pression.
Pour éliminer le tartre, placez l'échangeur de chaleur dans un bassin ou un autre récipient. Versez une solution d'acide citrique (concentration 10%) dans le tuyau. Après 12-15 heures, rincer les tuyaux avec de l'eau propre. Rincez ou remplacez également les filtres du circuit d'eau chaude sanitaire.
Remplacez l'échangeur de chaleur. Après le nettoyage, il est également conseillé de remplacer tous les joints. S'il s'agit de joints en caoutchouc, utilisez du silicone pour les lubrifier.
Ensuite, l'échangeur de chaleur doit être vérifié pour les fuites. Une solution savonneuse saturée est appliquée aux connexions détachables du circuit de gaz. En présence de fuites, des bulles se forment dans les zones lavées.

Lors de la vérification du circuit d'eau chaudière à gaz à double circuit allumer séparément le système de chauffage et d'alimentation en eau chaude et inspecter chaque connexion de plug-in. Si une fuite est détectée, serrez l'écrou ou installez un nouveau joint.
Caractéristiques des échangeurs de chaleur coaxiaux à rinçage
Souvent, les tuyaux de l'échangeur de chaleur bithermique sont faits de différents métaux. Le tuyau extérieur peut être en acier et le cuivre intérieur. Par conséquent, pour le lavage, vous devez utiliser un outil universel qui est versé dans les tuyaux, le temps nécessaire est maintenu et fusionne. L'échangeur de chaleur est lavé et remis à sa place.
Nettoyage et rinçage de la chaudière du plancher
Le détartrage et l'élimination des suies sont effectués sans démonter l'échangeur de chaleur. Une pompe de rinçage (booster) est utilisée. Une solution aqueuse d'acide citrique est versée dans son récipient. Pour 2 litres d'eau tiède, 200 grammes de poudre d'acide citrique sont nécessaires.
Avant le nettoyage chaudière à gaz au sol, fermez les robinets d'alimentation en gaz et en eau, vidangez l'eau du circuit de chauffage et d'eau chaude sanitaire. Ensuite, vous devez vous rendre à l'échangeur de chaleur. Retirez la porte, déconnectez les fils connectés à l'élément piézoélectrique, retirez le thermocouple et la buse, démontez le système d'allumage et le brûleur.
Desserrez les écrous fixant le capot supérieur et retirez-le. Vous avez accédé à l'échangeur de chaleur et vous pouvez le nettoyer de la suie avec une brosse et une brosse.
Raccordez les fils de rappel aux tuyaux de l'échangeur de chaleur qui, sous pression, injectent une solution d'acide citrique dans le tuyau. En faisant circuler le contour pendant 4 à 6 heures, il dissout le tartre. Le temps de rinçage dépend du niveau de contamination.
Utilisez un pH-mètre pour garder le processus sous contrôle. Cet appareil montrera le changement de la concentration d'acide dans la solution, qui se produit à la suite de la réaction chimique en cours de la dissolution des dépôts de carbonate.
Si l'acide s'est neutralisé et que le pH 1 est affiché sur l'instrument, vous devrez peut-être répéter le processus depuis le début. Un pH stable de 2 à 4 indique un détartrage.
À la fin, les tuyaux sont lavés avec une solution de bicarbonate de soude pour neutraliser les traces résiduelles du réactif. Il reste ensuite à installer les pièces en place, à vérifier l'étanchéité de l'unité par lavage et inspection visuelle des joints détachables, ou par sertissage. En l'absence de fuites de gaz et d'eau, la chaudière fonctionne normalement.
Conclusions et vidéo utile sur le sujet
L'échangeur de chaleur de la chaudière à gaz peut être facilement lavé à la maison sans utiliser d'équipement professionnel:
Comment nettoyer l'échangeur de chaleur secondaire d'une chaudière à double circuit de l'échelle et ce qui est nécessaire pour cela:
Les méthodes et outils modernes aident à combattre efficacement le tartre et à empêcher sa formation. L'essentiel est de ne pas oublier de rincer périodiquement l'échangeur de chaleur pour que les caractéristiques réelles de la chaudière à gaz correspondent aux indicateurs de passeport tout au long du cycle de vie.
Racontez-nous comment vous avez lavé l'échangeur de chaleur de votre propre chaudière à gaz. Partagez les méthodes efficaces d'élimination de la plaque que vous connaissez. Veuillez laisser des commentaires dans le formulaire sous le bloc, poser des questions et publier des photos sur le sujet de l'article.
