Le four pour travailler hors du tuyau: comment fabriquer un four efficace pour l'huile usagée à partir de matériaux improvisés
Pour un automobiliste, l'huile vidangée est un déchet ordinaire, et pour un bon propriétaire, un carburant abordable et précieux. Par exemple, vous pouvez construire une fournaise pour travailler sur un tuyau et l'utiliser pour chauffer un garage ou une autre buanderie.
Vous devez admettre qu'une telle solution est économiquement avantageuse, car elle se traduit par une double économie - sur l'achat de combustible et d'un appareil de chauffage. Voulez-vous construire un poêle pour vous entraîner, mais vous doutez qu'il finira par être mis en œuvre? Nous vous aiderons à ce sujet.
L'article décrit la construction de l'unité, ainsi qu'un plan de travail étape par étape avec une description détaillée de chaque phase d'assemblage. En suivant les instructions, vous pouvez personnellement construire et mettre en service le poêle.
Le contenu de l'article:
Caractéristiques de l'appareil du poêle
La conception du four n'est pas beaucoup plus compliquée. poêle à ventre ordinaire.
L'appareil comprend les principaux éléments suivants:
- chambre inférieure pour le carburant;
- tuyau perforé;
- chambre haute;
- cheminée.
Vous aurez également besoin de pièces auxiliaires, telles qu'une buse de protection pour la cheminée, un dispositif pour faire le plein en toute sécurité, une ceinture de renfort, etc. L'huile usagée est versée dans la chambre inférieure et incendiée. Ici, il brûle partiellement à une température relativement basse.
Ensuite, la vapeur d'huile chauffée et les gaz de sa combustion remontent le tuyau perforé. Ici, ils sont saturés d'oxygène et pénètrent dans le réservoir supérieur. Pendant la postcombustion, un tel combustible donne beaucoup de chaleur. Assurez-vous de faire une cheminée verticale.
Bon de travail
Pour déterminer comment fabriquer un four avec de l'huile usagée à partir d'un tuyau métallique, il faut tenir compte de la température de combustion élevée de ce combustible spécifique. Il faudra un métal assez épais. Il est pratique d'utiliser des sections d'un tuyau métallique comme logement pour les chambres de combustion. C'est plus facile que de fabriquer un boîtier carré en métal.

Mais la tôle est nécessaire pour la fabrication d'autres éléments structurels. Ne vous passez pas d'une machine à souder et d'autres outils. Les pièces métalliques doivent être assez épaisses, environ quatre à six millimètres.
Il existe de nombreux dessins prêts à l'emploi, selon lesquels vous pouvez faire un four efficace pour le développement. Il n'est pas nécessaire de les suivre au millimètre près. Il suffit de trouver un tuyau à parois épaisses et d'environ un diamètre adapté.

Mais les proportions doivent être respectées. Les chambres de combustion sont larges et courtes, et le tuyau qui les relie est étroit et long. Plus le lieu de combustion est proche, plus le métal doit être épais. Pour connecter les chambres et le tuyau de cheminée, un tuyau de 100 mm convient.
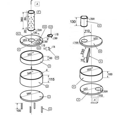
Étape # 1: faire un réservoir de carburant
Ils commencent généralement par un réservoir inférieur. C'est peut-être l'élément structurel le plus complexe, car il doit faire une couverture.
Le travail est effectué comme suit:
- Une pièce d'une hauteur de 100 à 115 mm est découpée dans un tuyau large.
- Découpez deux cercles pour le fond et le couvercle, le second devrait être un peu plus grand.
- Le fond est soudé aux murs.
- Dans le cercle supérieur, faites un trou pour le tuyau avec des trous.
- Une bande de métal est découpée, dont la largeur est de 60 mm, et la longueur est égale à la circonférence des parois du boîtier.
- La bande est soudée au deuxième cercle métallique, le couvercle est prêt.
Tous les travaux de soudage doivent être effectués avec soin, la couture doit être lisse et complètement étanche. Pour faire le couvercle correctement, il est préférable d'enrouler la bande de métal autour du fond de la chambre et de la fixer avec des pinces. Après cela, une soudure verticale est effectuée.

L'anneau résultant est retiré du boîtier. Vous pouvez maintenant souder un cercle métallique avec des trous pour faire un couvercle.
Ici, vous devez faire un autre trou pour verser du carburant d'un diamètre d'environ 100 mm ou un peu moins.

Il faudra un bouchon métallique mobile pour remplir l'huile et réguler le débit d'air nécessaire à la combustion.
Étape # 2: installation du tuyau perforé
La longueur optimale de cet élément est de 360 mm. Ils se retirent du bord inférieur d'environ 20 mm et commencent à percer des trous de 9 à 10 mm. Dans une rangée, 8 trous sont réalisés à égale distance. La rangée suivante se fait avec un décalage, de sorte que la perforation a été décalée.

Il suffit de faire six lignes, mais on peut faire plus. Près du bord supérieur, laissez environ 50 à 60 mm de métal solide. Il est préférable de chanfreiner les bords de ce tuyau, il sera donc plus facile de souder.
Le nombre de trous ne doit pas être trop grand, sinon de la chaleur s'échappera à travers eux et la quantité d'air avec laquelle la vapeur d'huile sera mélangée deviendra trop grande. Si les trous ne sont pas suffisants, il n'est pas difficile d'en faire d'autres.
Étape # 3: dispositif de chambre de combustion supérieure
Maintenant, vous devez faire la postcombustion. Pour ce faire, coupez un autre morceau d'environ 110 mm de haut dans un tuyau large. Pour le fond, un cercle d'acier de 4 mm est fait, mais un métal de six millimètres est placé sur le dessus. Faites ensuite des trous pour fixer le tuyau perforé et pour la cheminée.

À l'intérieur, vous devez mettre un petit séparateur en métal de six millimètres mesurant environ 60 par 7 mm. Il est soudé près du trou de la cheminée. Un tel obstacle ralentira le mouvement des gaz le long du post-brûleur pour laisser plus d'énergie thermique dans la pièce.
Reste à fixer les cercles aux parois de la chambre de combustion. Il est plus pratique de souder d'abord la partie supérieure, elle est plus lourde, puis de mettre un cavalier rectangulaire, puis la partie inférieure.
Étape # 4: assemblage final de l'unité
Lorsque tous les éléments sont prêts, il est temps d'assembler l'appareil. Tout d'abord, le tuyau perforé est soudé au fond de la postcombustion. Le tuyau doit être strictement vertical, sa position doit être vérifiée à l'aide d'un niveau.
Ensuite, ils saisissent le tuyau pour fixer la bonne position. Après cela, une soudure peut être réalisée. Ensuite, de la même manière, un conduit de fumée est soudé au trou correspondant.
La technologie d'assemblage de la cheminée pour la fournaise au retour est similaire à la disposition de la cheminée pour un poêle, pour plus de détails, voir cet article.
Maintenant, le bouchon de carburant est attaché à la structure. Les jambes doivent être faites en dessous, elles peuvent être coupées du coin. Après cela, le poêle peut être considéré comme terminé.
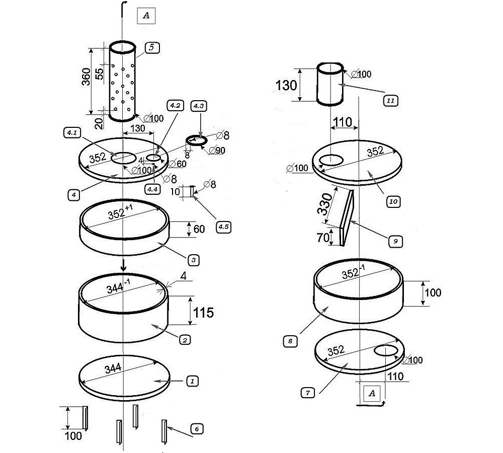
Comment améliorer le design?
L'efficacité d'un tel appareil peut être considérablement augmentée si vous ajoutez des éléments. Pour rendre la chambre à carburant aussi étanche à l'air que possible, vous devez souder une barre ronde à sa partie inférieure.

Il est placé là où se termine le bord vertical du couvercle. En conséquence, même un petit espace entre le récipient et le couvercle sera fermé.
Le problème auquel vous devez penser à l'avance est de faire le plein de carburant. Si un tel four a déjà été allumé, il est impossible d'ajouter l'huile usée directement dans la chambre par le trou. Il est nécessaire d'attendre que la partie existante du pétrole s'épuise.
Ce n'est pas toujours pratique, il est donc logique de créer un réservoir de carburant supplémentaire. Il s'agit d'un petit récipient de forme arbitraire, qui est monté à côté de la chambre inférieure du poêle. Par le bas, vous pouvez souder deux coins au fond de la chambre à carburant et un réservoir supplémentaire.

De plus, vous aurez besoin d'un petit tube. Sur le panneau inférieur des deux réservoirs, des trous sont faits pour ce tuyau, puis il est soudé.
Ainsi, la chambre à carburant et le réservoir supplémentaire se transforment en récipients communicants. Au-dessus du réservoir, vous devez fixer un couvercle amovible. Cela vous permettra de déterminer le niveau de carburant dans le réservoir principal et d'ajouter de l'huile en toute sécurité si nécessaire.
Le tuyau perforé n'est pas monté sur le réservoir inférieur au centre, ce qui rend la structure un peu instable. Pour le renforcer, vous pouvez simplement souder une tige métallique parallèle aux chambres supérieure et inférieure.
Ces fours sont généralement utilisés pour chauffage de garage et d'autres pièces similaires, elles ne devraient donc pas avoir un aspect particulièrement esthétique. Mais il est toujours logique de nettoyer la surface et de la recouvrir d'une peinture résistante à la chaleur pour le métal. Cela réduira l'effet des processus de corrosion et prolongera la durée de vie de l'appareil.
Un ajout utile est un écran de protection, qui est installé entre les réservoirs primaire et secondaire. Cela aidera à éviter la surchauffe du combustible pendant le fonctionnement du poêle, surtout s'il est destiné à être utilisé pendant une longue période.

Un autre bon conseil ne s'applique pas au poêle, mais à l'état de la pièce dans laquelle il est censé être utilisé. Vous devez prendre soin de l'isolation.
Bien que l'huile usée soit un combustible presque gratuit, moins il en faut pour chauffer un objet, plus il est facile d'utiliser un poêle. Bien sûr, il est préférable de réaliser l'isolation de l'extérieur du garage, à ces fins, il est bien adapté polystyrène extrudé.
Installation et test d'allumage
Le lieu d'installation du poêle doit être choisi le plus loin possible des objets et matériaux sensibles à la chaleur. L'appareil est vraiment très chaud. S'il n'est pas manipulé correctement, il peut endommager des biens et même provoquer un incendie grave.
Il devrait y avoir une base incombustible sous l'appareil. Ne placez pas un tel appareil dans des lieux de mouvement actif des courants d'air. Sous l'influence d'un courant d'air, la flamme peut exploser, ce qui est dangereux. Prêt et installé dans un endroit approprié, le four est connecté à une verticale cheminée.
Procédez ensuite à l'allumage d'essai. Pour ce faire, versez de l'huile dans le réservoir de carburant et ajoutez environ 100 ml de liquide pour les cheminées ou une autre composition similaire par le haut. Au début, ce liquide va brûler, mais bientôt l'huile bouillira, l'appareil commencera à faire du bruit. Cela signifie que le four est fabriqué correctement, il peut être utilisé conformément à sa destination.

L'huile doit être défendue pendant un certain temps avant d'être versée dans le réservoir afin que les impuretés inutiles se déposent et ne pénètrent pas à l'intérieur. Seuls les deux tiers de la capacité doivent être remplis, le processus de combustion primaire sera alors plus efficace et plus sûr.
De temps en temps, il est nécessaire de nettoyer l'intérieur du réservoir de carburant des contaminants accumulés. Le couvercle est retiré et l'huile restante est simplement vidangée, les dépôts sont retirés, etc. De temps en temps, vous devez taper un tuyau perforé et une cheminée pour enlever la suie collectée et suie.
Conclusions et vidéo utile sur le sujet
Une option intéressante entièrement à partir d'un tuyau étroit:
Le poêle de travail est un appareil simple et très efficace. Lors de sa fabrication, vous devez respecter les proportions de base, et pendant l'utilisation, n'oubliez pas la sécurité.
Vous avez de l'expérience dans la fabrication d'un réchaud à huile usagée? Veuillez informer les lecteurs de votre méthode d'assemblage d'un appareil de chauffage. Commentez la publication, participez aux discussions et ajoutez des photos de vos produits faits maison. Le bloc de rétroaction est situé ci-dessous.

Et quelle est l'efficacité de cette unité miracle? J'adorerais ça dans mon garage, mais mes mains poussent du mauvais endroit. Quelqu'un a-t-il rencontré des appareils similaires en vente?
Bien sûr, de tels poêles sont en vente. Beaucoup de produits faits maison de qualité assez bonne sur Avito et des sites similaires, et ceux d'usine sont en vente dans les magasins. Les marques Multeat, Polarus, Borzo, peut-être d'autres. Mais vous devez comprendre que ceux achetés en magasin coûteront décemment plus cher que les produits faits maison, et le principal avantage d'un tel four pour travailler est son faible prix. L'efficacité varie selon la conception, mais, en général, elle est élevée.
Bonjour Comme indiqué correctement dans les commentaires ci-dessus, il existe de tels poêles en vente. Mais si vous voulez économiser de l'argent, vous pouvez acheter un poêle chez un commerçant privé. Parfois, ils vendent des produits qui n'étaient pas nécessaires et qui n'étaient pas utilisés ou faits maison.Avec b / y, bien sûr, vous devez être prudent, la sécurité des éléments doit cependant être soigneusement vérifiée, comme avec les produits faits maison. Bien sûr, la période de garantie ne sera probablement pas, mais le prix est deux fois moins élevé. Ici, c'est à vous de décider. Dans notre ville, il y a un artisan qui fait cuire des poêles à partir de cylindres et vend, il a une réputation prouvée, ils achètent sans crainte.
L'efficacité de ces fours est généralement de 75%, selon la conception, mais il convient de noter que l'efficacité est davantage un concept abstrait. La puissance de chauffage dépend également de facteurs tels que la surface de la pièce, son isolation, etc. Autrement dit, un poêle peut créer un hammam dans une pièce, et dans une autre, il peut être complètement inutile, alors réchauffez vos mains. Le choix est basé sur ces facteurs, n'oubliez pas de consulter le vendeur lors de l'achat et de la vérification de l'appareil.