Interruptor de óleo: tipos, marcação + especificidades de uso
Entre os equipamentos de manobra, um lugar de honra, como um veterano, é ocupado por um interruptor de óleo, que é usado tanto em manobra fechada quanto aberta de qualquer voltagem.
Sua principal função é ativar ou desativar linhas individuais de um sistema elétrico normalmente funcionando ou em situações fora do padrão. O desligamento, dependendo das circunstâncias, ocorre automática ou manualmente.
Neste artigo, consideraremos os tipos existentes desses dispositivos, sua classificação e rotulagem. Também prestamos atenção aos prós e contras de tais opções, recursos e regras para seu uso. Para uma melhor compreensão do material, selecionamos diagramas, tabelas, fotos visuais e revisões de vídeo temáticas.
O conteúdo do artigo:
Prós e contras de interruptores de óleo
Esses dispositivos têm um design relativamente simples. Eles têm uma boa capacidade de ruptura, não dependem das condições climáticas. Se ocorrer um mau funcionamento, os reparos podem ser realizados. Os MVs de tanque são adequados para instalação externa. Existem condições para a instalação de transformadores de corrente embutidos.
Um papel importante no trabalho da VM é desempenhado pela velocidade da divergência de contato. Uma situação pode surgir quando os contatos divergem a grande velocidade e o arco atinge instantaneamente um comprimento crítico para ele. Nesse caso, a magnitude da tensão de recuperação pode não ser suficiente para romper o espaço de contato.
As desvantagens são mais com os interruptores de tanque. A primeira é a presença de um grande volume de óleo, portanto, as dimensões consideráveis dessas unidades e quadros. O segundo - risco de incêndio e explosão, em situações de emergência, as consequências podem ser as mais imprevisíveis.
O nível de óleo no tanque e nas entradas, bem como suas condições, devem ser mantidos sob controle periódico. Se houver MV nas redes de fornecimento de energia atendidas, é necessário ter uma instalação de petróleo especial.

Classificação dos disjuntores de óleo
O uso de interruptores de óleo começou no final do século antes do passado. Quase até meados do século XX, simplesmente não havia outros dispositivos de desconexão nas redes de alta tensão.
Existem dois grandes grupos desses dispositivos:
- Tankpara os quais a presença de um grande volume de óleo é característica. Para este equipamento, é o ambiente em que o arco é extinto e o isolamento.
- Baixo teor de óleo ou baixo volume. A quantidade de carga neles diz o próprio nome. Essas chaves contêm elementos dielétricos, e o óleo aqui é necessário apenas para a extinção.
Os primeiros são usados principalmente em instalações de distribuição de 35 a 220 kV. O segundo - até 10 kV. Os dispositivos com baixo teor de óleo BMT também são usados em quadros de distribuição externos projetados para 110 e 220 kV.
O princípio da extinção de arco é idêntico nos dois tipos. O arco que aparece quando os contatos de alta tensão do comutador são abertos causa rápida evaporação do óleo. Isso leva à criação de uma concha de gás ao redor do arco. Essa formação consiste em vapor de óleo (cerca de 20%) e hidrogênio (H2).
A folga do arco é desionizada como resultado do rápido resfriamento do barril do arco, misturando gases de alta e baixa temperatura na carcaça.
No momento do arco na zona de contato, a temperatura é muito alta - cerca de 6000⁰. Dependendo da instalação, os disjuntores são utilizados para uso interno e externo, bem como para equipamentos de manobra - aparelhos de manobra completos.
Vista # 1 - equipamento do tipo tanque
Os equipamentos de comutação deste tipo podem ter um tanque ou mais, dependendo da tensão. No primeiro caso, é de até 10 kV, em alguns casos de até 35. Cada fase dos disjuntores que operam em instalações com alta tensão é colocada em um tanque individual.

Os acionamentos dos tanques e dos disjuntores com baixo teor de óleo podem ser manuais, montados automaticamente na bobina de comutação do solenóide ou montados por mola. No segundo caso, é usada a propriedade magnética do solenóide, que permite apertar o núcleo de metal conectado por meio de um sistema especial ao eixo MV.
Ao aplicar um solenóide de corrente elétrica direta ao enrolamento, a unidade é ligada retraindo a haste do circuito magnético com a rotação subsequente do eixo do disjuntor.
Uma trava especial mantém o eixo nessa posição. Simultaneamente ao ligar, o solenóide define uma posição definida para desconectar as molas que, quando um impulso elétrico especial chega, desconectam o MV.
O processo de desligamento inicia o segundo solenóide, derrubando o mecanismo do rolo (trava). Como resultado, o eixo gira instantaneamente devido à mola e desliga. Para a operação do inversor solenóide, é necessária a presença de uma bateria para fornecer corrente direta.
Quando a bateria está faltando, uma unidade de mola é usada. A inclusão é realizada com motor elétrico ou por esforço muscular. O desligamento manual é possível para unidades de baixa potência com um valor de corrente de curto-circuito de até 30 kA, para o desligamento cuja força máxima de 25 kg deve ser aplicada.
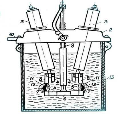
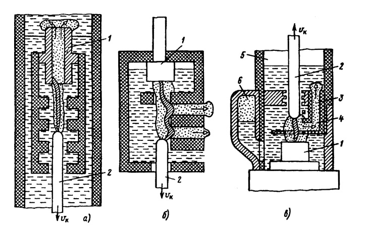
MV tanque único com arco aberto
Em alguns aparelhos de distribuição, são instalados interruptores de tanque que não possuem câmaras de arco. O arco elétrico aqui é extinto da maneira mais simples - quebrando duas vezes os contatos em um recipiente cheio de óleo. Esses dispositivos com um arco aberto incluem modelos domésticos de VMB e VME. Eles são classificados para uma corrente nominal de 1,25 kA.

O símbolo "E" significa escavação, o número 6 é a tensão nominal de 6 kV, 200 é a corrente nominal em amperes. A corrente de ruptura do limite para esta MV é de 1,25 kA. O tanque deste MV é feito de aço e conectado à tampa de ferro fundido por meio de parafusos. As paredes do tanque são cobertas com isolamento (13).
Seis isoladores de porcelana passando pela tampa com suportes de cobre que servem como contatos de trabalho fixos. A série VME possui um acionamento manual do volante.
Existem contatos móveis na ponte transversal ou de contato. Os contatos móveis em arco na forma de quadrados de latão também estão localizados aqui. Placas de cobre com extremidades de latão localizadas abaixo nas extremidades dos isoladores são contatos de arco fixos. A haste isolante através do contato com o mecanismo de acionamento comunica o movimento dos contatos móveis.
Quando a rotação é elevada, os contatos fixos são fechados, a mola responsável pela desconexão é comprimida, a MV está ligada. O interruptor está conectado ao eixo de acionamento da trava, que o mantém na posição. Em qualquer desconexão, a trava é liberada, a mola se abre e o garfo segue rapidamente. Nesse caso, ocorre uma abertura seqüencial dos contatos de trabalho: 4 e 5 e, em seguida, 7,8.
Isso causa, em cada polo do disjuntor em dois pontos, o aparecimento de um arco e a decomposição do óleo. Dentro das conchas 12, a pressão atinge de 0,5 a 1 MPa, ativando assim o processo de desionização. Dentro de um máximo de 0,1 s, os arcos são extintos e as conchas, subindo, aparecem sob a cobertura e aumentam o volume da almofada de ar.

Este último atua como um amortecedor, reduzindo a força de impacto no processo de extinção. A altura normal da almofada de ar é de aproximadamente 25% do volume. Exceder esse limite pode causar uma explosão.
Tais interruptores são fáceis de operar, relativamente baratos e convenientes para uso em subestações abertas. Mas os vapores de óleo quente, mesmo com o simples contato com o oxigênio, são facilmente inflamados.
A queima do arco em um meio de óleo inicia o processo de policondensação, que degrada a força elétrica do óleo. O tanque obstrui o sedimento, consistindo de partículas de carbono. Portanto, são necessárias revisões da unidade com troca de óleo.
Disjuntores a óleo com câmara de interrupção
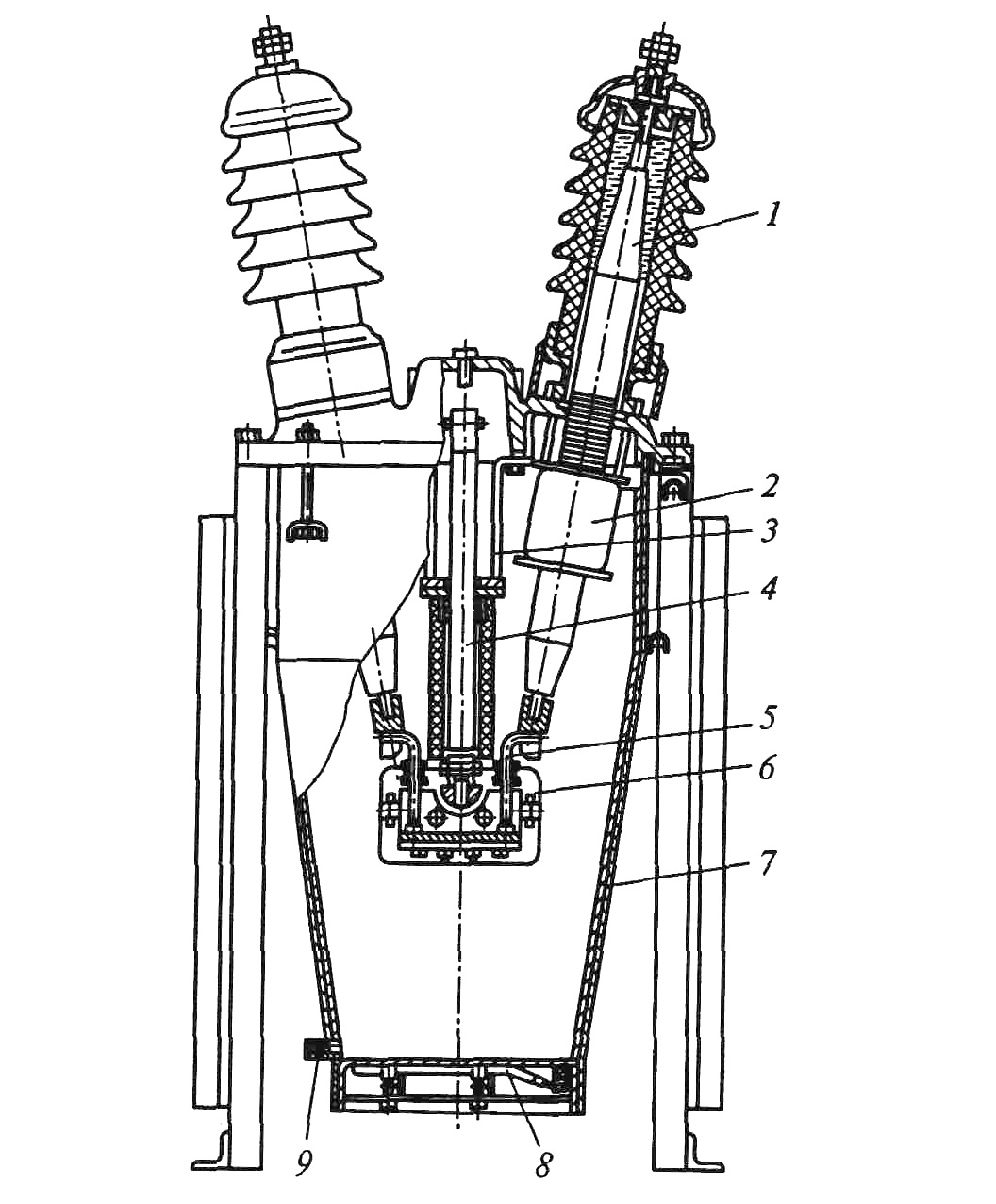
A capacidade de interrupção e a confiabilidade dos disjuntores do tipo tanque aumentam significativamente a presença da câmara de arco. É colocado no óleo no tanque. Nos disjuntores de três tanques, cada fase está localizada em um tanque separado.

O design é mais complicado que o de uma VM sem câmaras de arco e consiste em:
- pólos (1);
- transformador de corrente (2);
- alojamento de acionamento (3);
- varas (4);
- contato estacionário (5);
- câmara de arco (6);
- isolamento (7);
- elemento de aquecimento (8);
- dispositivos de drenagem de óleo (9).
A parte superior da câmera está equipada com um contato fixo. Quando ativado, um contato em movimento, com a forma de uma haste, penetra nele. No caso de uma viagem, a haste deixa um contato estacionário, como resultado do qual um arco aparece na câmara. A pressão que surge neste caso é uma ordem de magnitude maior que o parâmetro correspondente para interruptores que não estão equipados com uma câmara de arco.
A pressão de 8 -7 MPa reduz o diâmetro do arco, aumenta a força de ruptura do espaço após a corrente passar pela marca zero. Como resultado, ocorre um processo mais rápido de extinção de arco. Após a saída do contato móvel da câmara, um gás de exaustão com uma captura parcial de óleo segue por um orifício livre.
O barril do arco é rapidamente resfriado, ocorre intensa deionização. Com o aumento da corrente, a eficiência da câmara de arco aumenta. A MV também pode funcionar como equipamento com arco aberto em caso de desconexão de pequenas correntes.

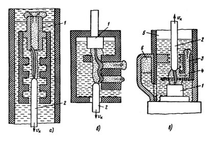
O tipo de jateamento automático é determinado pelo design da câmara de arco. No primeiro caso, o vetor de mistura de vapor tem uma direção longitudinal em relação ao eixo do arco (fragmento a). Com uma orientação transversal, o fluxo de mau humor se move em uma direção perpendicular à coluna do arco ou em um determinado ângulo (fragmento b).
No caso em que a corrente de fluxo tem uma direção oposta ao vetor de movimento do contato móvel com o arco, ocorre um contra-disparo. Combinações desses métodos são frequentemente usadas em dispositivos de arco elétrico.

No último estágio, a câmera está sendo preparada para participar do próximo ciclo de desligamento. Para reinicialização automática, esta etapa é extremamente importante.
Vista # 2 - disjuntores de panela ou com pouco óleo
Em instalações internas, interruptores potty são usados como gerador e distribuição. Ao ar livre - como subestação e distribuição. O óleo não executa funções de isolamento em interruptores desse tipo; é necessário apenas como um meio para extinguir o arco.
O risco de incêndio e explosão de VMs de baixo volume é significativamente menor que o das VMs de tanque. Instale-os no quadro e no quadro de qualquer voltagem de até 110 kV. O papel do isolamento dos pólos em relação um ao outro e à terra é desempenhado por dielétricos como porcelana, resina fundida, esteatita.
O óleo nessas VMs ocupa apenas 3 a 4% do volume do poste. Pequeno volume de óleo, peso leve e dimensões convenientes são a vantagem indiscutível deste equipamento. No entanto, eles são usados em tais nós do sistema, nos quais os comutadores não têm altos requisitos.
Essas limitações são explicadas pela forte conexão da capacidade de desconexão com a corrente desconectada, a incapacidade da estrutura de funcionar em condições de paradas freqüentes.
Outro motivo é a dificuldade em implementar vários ARs de alta velocidade. Nos disjuntores de baixo volume, são utilizados os seguintes tipos de explosão de óleo: transversal, longitudinal, misto. Os especialistas consideram o primeiro deles o mais eficaz.
Para interruptores desse tipo, projetados para painéis de distribuição internos, os contatos são colocados em um tanque de aço. Tensão MV de 35 kV e superior possui uma concha de porcelana. O equipamento mais usado está suspenso de 6 a 10 kV. Seu corpo é fixado em um quadro comum para todos os pólos. Todos os três pólos têm uma câmara de arco, cada um projetado para um contato aberto e em alta tensão de 2 ou mais.

De acordo com o esquema acima, os disjuntores VMP, VMG, MG são projetados para tensões de até 20 kV. Uma característica do projeto dos disjuntores para correntes de alta classificação é que os contatos de trabalho estão localizados fora e os contatos de arco dentro do tanque.
Os disjuntores da série VMP são frequentemente usados em dispositivos fechados, bem como equipamentos de manobra de 6 a 10 kV. No equipamento completo, os comutadores da série VK são instalados. Eles são equipados com um acionamento eletromagnético ou de mola incorporado e são projetados para correntes de interrupção de 20 - 31,5 kA e classificações de corrente de 630 - 3150 A.
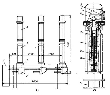
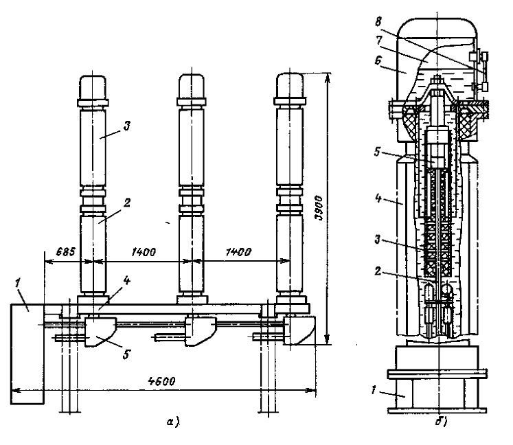
Os interruptores de coluna fabricados especificamente para painéis de distribuição são diferenciados pelo design deslizante. Nas instalações de 35 kV, são instaladas VMs do tipo coluna das séries VMK e VMUE. Aparelhagem de 110 a 220 kV equipada com interruptores da série BMT. A unidade possui uma base soldada na qual seus três pólos são colocados. Gerenciamento - acionamento por mola.

O módulo é mostrado no lado direito da foto, onde: 1 é o coletor, 2 é o contato móvel conectado ao coletor através de coletores. A câmara do interruptor é indicada pelo número 3, o contato fixo é 5. Todos os itens acima são colocados em um isolador oco (4) de porcelana. No interior, há óleo de transformador e, no topo, uma tampa (6).
Este último está equipado com um manômetro para a possibilidade de monitorar a pressão no módulo. Além disso, a tampa possui uma unidade para encher com mistura de gás comprimido, uma válvula de escape automática e um indicador de óleo (8). O contato móvel e o dispositivo de controle são conectados por hastes isolantes.
O design do poste é idêntico para toda a série de comutadores. Nos tanques de MV para classificações atuais de 630 a 1600 A, existem 5,5 kg de óleo, acima de 1600 e até 3150 A inclusive - 8 kg.
Para aumentar a confiabilidade, o design de disjuntores individuais inclui adicionalmente elementos de controle e proteção:
- desconectar eletroímãs;
- relés atuando instantaneamente e com velocidade do obturador em uma corrente limiar;
- relé de subtensão;
- contatos adicionais.
Dependendo do método de layout, existem disjuntores com pouco óleo, com uma disposição mais baixa da câmara de arco e o oposto - superior. No primeiro caso, o contato móvel implementa o movimento de cima para baixo, no segundo - vice-versa. A capacidade de interrupção deste último é maior.
Marcação de interruptores de óleo
A decodificação das marcações feitas pelo fabricante no interruptor de óleo permitirá que você se familiarize com as informações básicas sobre ele. Vamos examinar, por exemplo, a marcação do switch VMG-133. O primeiro caractere "B" indica que você possui um comutador.

Segundo - "M" indica o tipo de chave, em um caso específico - óleo baixo. Carta "G" determina pertencer a uma determinada espécie - em vaso. 133 - Série MV.
Regras de operação de MV
Reparação, pessoal operacional, especialistas associados à manutenção e operação dos disjuntores de óleo são obrigados a conhecer as instruções relevantes, o dispositivo, o princípio de operação do equipamento.
Os funcionários que atendem ao MV durante a operação devem controlar:
- Tensão efetiva, corrente de carga. Os indicadores não devem ir além dos valores tabulares.
- A altura da coluna de óleo nos pólos, a ausência de vazamentos.
- A presença de graxa nas partes de fricção. Os contatos podem perder a mobilidade e congelar se a lubrificação dos elementos de atrito se tornar espessa e suja.
- A poeira das salas em que o painel está localizado.
- Conformidade das características mecânicas dos disjuntores operados com os padrões da tabela.
Após cada desligamento, um curto-circuito precisa inspecionar o equipamento. As informações sobre essas interrupções são registradas em um log especial. Um registro de defeitos deve estar disponível para registrar informações sobre defeitos detectados durante a operação da unidade. O interruptor no qual ocorreu um disparo como resultado de um curto-circuito está sujeito a inspeção.
Verifique se há derramamentos de óleo. Se isso aconteceu, além disso, em grandes quantidades, isso indica um desligamento anormal do curto-circuito. O equipamento é retirado de serviço e inspecionado. Quando o óleo está escuro, é necessária uma alteração.A velocidade de abertura é afetada negativamente pela viscosidade do óleo, que aumenta quando a temperatura cai.
Às vezes, torna-se necessário substituir a graxa antiga durante o reparo por uma nova: TsIATIM-221, GOI-54 ou TsIATIM-201.

Após a saída da MV, isoladores de apoio, hastes e isolamento dos tanques para trincas são submetidos a uma inspeção completa. O isolamento muito sujo é limpo. A necessidade de um reparo extraordinário aparece após uma certa quantidade de curto-circuito.
A inspeção periódica (ON) é realizada mensalmente. Nesse caso, preste atenção ao grau de aquecimento do interruptor. O TR (reparo atual) é realizado anualmente. Inclui tarefas como verificar e corrigir defeitos do fixador, cinemática da unidade, nível do óleo e vedações. As peças isolantes também são verificadas quanto à sua integridade.
Após 3-4 anos após uma grande revisão, faça uma média (RS). Ele inclui toda a gama de operações TP e mede adicionalmente a resistência de transição dos polos e verifica os parâmetros mecânicos e de velocidade.
Em caso de detecção de inconsistência das características controladas com os dados tabulares, o disjuntor é desmontado, o ajuste e uma gama completa de testes de alta tensão são realizados.
Durante um reparo extraordinário, eles tentam principalmente manter o ajuste anterior inalterado. Por esse motivo, o disjuntor é desmontado ao mínimo. A frequência da revisão é de 6 a 8 anos. Em seu escopo, é realizada uma inspeção geral, os cilindros são removidos da estrutura, os pneus são desconectados, a unidade, os dispositivos de arco e os contatos do bloco são reparados.
Afinal, faça ajustes, pinte, conecte pneus, realize testes. Para todo o trabalho, elabore a documentação.
Além dos disjuntores do tipo óleo, outros dispositivos de desconexão também são usados em redes de alta tensão. Por exemplo, gás e vácuo. Temos outros artigos em nosso site que detalham as características e o design desses tipos de comutadores, bem como os recursos de seu uso:
- Interruptor de vácuo: dispositivo e princípio de operação + nuances de escolha e conexão
- Interruptores isolados a gás: pontos de referência e regras de conexão
Conclusões e vídeo útil sobre o tema
O dispositivo, tipos, finalidade e operação do MV:
Revisão detalhada do VMP-10:
Todos os requisitos básicos para disjuntores que operam sob condições de alta tensão também são atendidos pelos disjuntores a óleo. A maioria deles é segura e confiável em operação, oferece desligamento rápido e fácil de instalar. Apesar disso, os fabricantes estão se esforçando para garantir uma conformidade ainda maior com os requisitos apresentados pela MV.
Você tem conhecimento de disjuntores de óleo e deseja suplementar o material apresentado com informações úteis? Talvez você tenha notado uma incompatibilidade ou erro? Ou você tem perguntas sobre o tópico? Por favor, escreva-nos sobre isso no artigo - seremos gratos a você.

Diga-me, qual é a diferença entre os comutadores de óleo VMP e VPM?
O escopo do VPM (e seu predecessor VMG) está em instalações internas, e o VMP está em aparelhagem interna, bem como em aparelhagem de 6 a 10 kV.
Para deixar mais claro, vou explicar um pouco mais. Por exemplo, VMP-10 e VPM-10. Ambos os comutadores são do tipo de baixo óleo, implementados na forma de dispositivos de comutação tripolares. O VMP-10 e o VPM-10 foram projetados para operação em instalações fechadas com corrente alternada de alta tensão. A diferença está nos recursos de design e nos métodos de instalação. Eu anexo a foto.