Como colidir com um gasoduto: requisitos técnicos e recursos de desempenho
O gás natural fornece calor e comida quente a uma pessoa. No entanto, para a implementação dessas funções, ela deve ser levada para a casa - para equipar um oleoduto conectado à rede central, equipamentos de aquecimento e eletrodomésticos.
Na fase de projeto do gasoduto, é necessário descobrir quais permissões devem ser elaboradas, como colidir adequadamente com o gasoduto e quem confiar com esse trabalho responsável. As respostas para essas perguntas estão detalhadas no artigo.
Além disso, descrevemos diferentes maneiras de conectar-se à rodovia central e também destacamos os recursos de conexão com um oleoduto de plástico e metal.
O conteúdo do artigo:
O que são linhas de transmissão de gás
Um gasoduto é um gasoduto especializado cujo objetivo é transportar e armazenar determinados volumes de combustível azul. Ele pode ter diferentes recursos de design que diferem dependendo das tarefas atribuídas à rodovia.
Por exemplo, redes de importância internacional entregam grandes volumes de gás por longas distâncias, portanto, a pressão constante é mantida em um nível alto. É por isso que qualquer experimento com sistemas de suprimento de gás é inadequado e pode ser perigoso não apenas para você, mas também para outros.
Isso significa que a melhor opção para realizar trabalho com o sistema será chamar os serviços apropriados, especializados no trabalho com comunicações de gás, que atendem aos requisitos da lei.

Os gasodutos são organizados como o sistema circulatório do corpo humano. O seu papel pode ser comparado com os vasos coronários. E já partem os tubos centrais de importância regional, distribuindo combustível azul entre os consumidores.
Eles são menores que o tronco e, portanto, a pressão neles é muito menor. No entanto, mesmo nessas redes de gás, seus saltos são possíveis tanto na direção da diminuição quanto na direção crescente.
A conexão às comunicações de gás ocorre se a organização tiver acesso especial. E você pode tentar fazer a fiação dentro de sua casa. Para fazer isso, você só precisa conhecer uma sequência clara de ações e aderir às medidas de segurança necessárias.
Regras de largura de banda
O principal fator responsável pelo fornecimento contínuo de combustível azul aos consumidores é o valor da vazão do oleoduto. O cálculo deste parâmetro é realizado de acordo com um algoritmo especial. Além disso, é fabricado independentemente do tipo de tubo usado.
Rendimento máximo tubo de gás pode ser calculado pela seguinte fórmula:
Q max = 196,386 × D² × P / Z × T,
onde:
- P - pressão operacional mantida no gasoduto, mais 0,1 MPa ou pressão absoluta do gás;
- D - diâmetro interno do tubo;
- T - temperatura do combustível azul bombeado, medido na escala Kelvin;
- Z - fator de compressibilidade.
Essa fórmula estabelece o seguinte padrão: quanto maior o valor do indicador T, maior a largura de banda da rede.
Caso contrário, a linha de transmissão de gás será despressurizada, o que inevitavelmente levará à explosão dessa substância perigosa.

Existe uma fórmula mais complicada. No entanto, o algoritmo fornecido acima é suficiente para fazer os cálculos necessários que precedem a inserção no gasoduto.
Como se conectar ao gasoduto?
A inserção na rede de troncos não pode ser feita manualmente - somente com a ajuda de especialistas de empresas de gás com permissões e autorização para realizar esse trabalho. Independentemente da empresa escolhida, um estágio de preparação em larga escala está à frente da conexão com as comunicações.
Preparação de inserção
Se você decidir confiar o processo de ingresso na rede de gás a especialistas da empresa correspondente, deverá entrar em contato com o serviço de licenciamento. Neste caso, além de enviar uma solicitação de um formulário estabelecido, será necessário fornecer um pacote de documentos previsto no nível legislativo.

Quando se trata de tocar um prédio recém-construído no gasoduto, o proprietário deve primeiro fornecer um passaporte, código de identificação e um certificado projeto do sistema de suprimento de gás.
Além disso, um conjunto de documentos deve ser preparado:
- declaração, pessoalmente certificado pelo chefe do ramo territorial da economia de gás;
- permissão para conectar ao gasoduto emitido pelo departamento de planejamento do arranjo arquitetônico;
- uma fotografiarealizado no processo de levantamento topográfico da área em que o inserto será realizado;
- passaporte técnico para uma casa particular, ou uma cópia certificada por um notário.
A imagem deve ser certificada por funcionários autorizados do serviço de gás. Ele capturará toda a infraestrutura de engenharia, incluindo não apenas as comunicações de gás, mas também o abastecimento de água, os tubos de aquecimento e os esgotos.
Se a casa estiver em construção, deve ser fornecido um projeto arquitetônico apropriado, permissão para sua construção e uma planta baixa.
E se sua área total exceder 300 metros quadrados, é necessário submeter um cálculo térmico da estrutura, um plano situacional do local em uma escala de 1: 5000, o consentimento dos vizinhos para ingressar na rede de gás, elaborado por escrito.
O último documento será necessário se for planejado colocar parte do gasoduto no subsolo sob as seções que pertencem a eles.

Na maioria dos casos, licenças desse tipo são emitidas pelo departamento municipal de instalações de gás, uma vez que são os proprietários legítimos dos gasodutos de transmissão de gás.
Além disso, será necessário fornecer passaportes técnicos ou outros documentos anexados aos aparelhos a gás que estão planejados para serem instalados no edifício - permissão para usar o equipamento no local de residência, certificados de conformidade e contratos de serviço.
Ainda precisa ser um ato de inspeção de dutos de fumaça e ventilação e outros documentos exigidos por lei. Somente com todas as permissões e atos em mãos, pode-se começar a realizar trabalhos de inserção, ou seja, exclusivamente em bases legais.
Deve-se lembrar que a conexão não autorizada ao gasoduto principal, sem a elaboração de documentos adequados da maneira prescrita por lei e coordenação com os serviços relevantes, está repleta de medidas administrativas. E se, ao mesmo tempo, ocorrerem danos ao gasoduto, haverá punição criminal.
Recursos do processo de inserção
O processo de entrada em um gasoduto é a conexão de um novo tubo, através do qual a substância da rodovia central será transportada para o consumidor. Como regra, esse tipo de conexão é feita sem bloquear o suprimento de gás na rede de troncos.

Existem alguns pontos a considerar. Uma delas é a alta pressão no oleoduto principal, portanto o trabalho da pastilha é realizado usando um dispositivo especial. E isso é feito depois que a instalação é concluída e a operacionalidade do pipeline instalado é verificada para um novo consumidor.
Se a construção de uma filial individual puder ser realizada por funcionários de empresas privadas, e alguns processos puderem ser realizados pelo próprio proprietário, se houver habilidades e ferramentas apropriadas, apenas um funcionário especialmente treinado poderá se conectar à rodovia central, seguindo as instruções desenvolvidas.
Suas ações serão lideradas por um especialista no serviço de gás.
Regras de trabalho
É fácil lembrar o conjunto de regras que devem ser observadas ao se inserir no gasoduto principal. No entanto, no processo de conexão, deve ser rigorosamente respeitado.
Estes são os seguintes itens:
- Quando a rede é caracterizada por baixa pressão, recomenda-se que uma inserção em sua comunicação seja realizada com indicadores de 20 a 80 mm de água. Art.
- O trabalho com a tubulação sob pressão média ou alta é permitido somente depois que seu nível é reduzido para níveis aceitáveis.
- Se for tecnicamente impossível reduzir a pressão, é necessário recorrer à ajuda de equipamentos especializados, projetados para realizar trabalhos em condições incomuns.
- É importante atrair funcionários de organizações relevantes com permissão especial para realizar esse tipo de trabalho.
- Se você precisar usar solda e corte a gás, controle a pressão na área, que durante a instalação deve ser mantida na faixa de 40 a 150 kg / cm.
A conformidade com o complexo dessas regras simples permitirá evitar situações de emergência no processo de penetração no gasoduto e garantir segurança a outras pessoas.

Possíveis métodos de conexão
A conexão da nova rede de suprimento de combustível azul com a existente é realizada por meio de uma ligação ou soldagem.
No primeiro caso, a operação da tubulação principal não sofre mudanças drásticas, uma vez que o processo de extração a frio no tubo de gás é realizado sem o uso de solda. O volume da substância bombeada e sua pressão não mudam e ainda são mantidos na faixa de trabalho da rede.
Este método é usado para conectar novos consumidores. Para executar o trabalho associado à rede central, você deve ter permissão e admissão para realizar atividades perigosas a gás.
Sem preparação especial, é absolutamente impossível intervir na operação do oleoduto principal. A violação pode resultar em consequências trágicas com a morte ou prisão.

A segunda opção de ingresso é mais familiar para a maioria das pessoas comuns. Ele é confiável e conseguiu passar no teste do tempo. No entanto, o especialista que realiza o inserto dessa maneira deve ter um alto nível de qualificação profissional e ter acesso especial.
Os próprios métodos de conexão são:
- inserção em um gasoduto sob baixa pressão;
- sob gás de média e alta pressão quando dispositivos especiais são usados;
- com desligamento de gás e liberação completa de tubos a partir dele.
A escolha do método de conexão ao gasoduto depende de vários fatores. Portanto, a decisão deve ser tomada pelas pessoas que fazem a conexão em cada caso individual.
Quanto ao contratado, pode haver duas opções: representantes do serviço de gás ou funcionários de uma empresa privada com direito legal de tomar ações, bem como o equipamento necessário e acesso a trabalhos perigosos a gás.
Além disso, no segundo caso, o escritório pode assumir obrigações pela preparação e execução de um pacote de documentos para inserção legal na rede principal de gás. É verdade que todos os serviços adicionais afetarão o custo final da conexão.

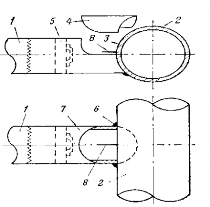
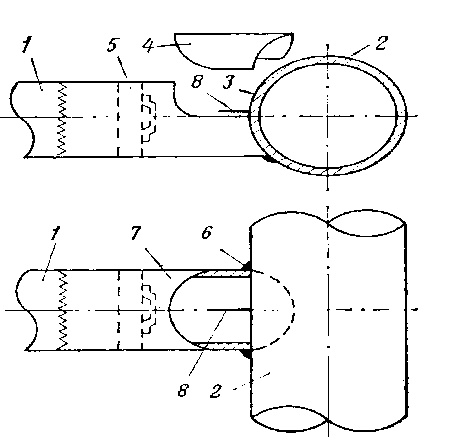
Características da entrada em um gasoduto metálico
A inserção no ramo central dos tubos metálicos é realizada após a elaboração de um esboço de trabalhos futuros e a preparação de todos os materiais que serão úteis no processo com base no método de conexão selecionado.
Antes de tudo, faça a limpeza da superfície de trabalho. Nesse caso, tudo o que é supérfluo é removido do local escolhido para a conexão ao gasoduto: lixo, tinta, ferrugem. Em seguida, faça a marcação do ponto de inserção, colocando marcas. Faça os furos necessários.
Depois disso, os poços são bem tratados. Durante a dissecção da superfície do tubo, as rachaduras são cuidadosamente revestidas com argila. Isso é necessário para minimizar o risco de ignição do gás escorrendo durante a incisão.
Os furos são arrolhados com um tampão de amianto-argila o mais rápido possível, e o local processado é rapidamente resfriado.

A próxima etapa do trabalho será a instalação de um dispositivo desconectador. Depois que o metal esfria, um plugue é removido para poder remover uma seção do tubo cortado do gasoduto.
Agora, um dispositivo desconectado está instalado no espaço formado.Consiste em um conjunto de discos e bolsas de borracha e madeira preenchidos com argila de consistência viscosa.
Em seguida, instale o tubo. Depois de fechar o orifício com um dispositivo desconectador, eles começam a fazer o orifício principal, projetado para conectar um novo tubo. Antes de tudo, é necessário verificar a correspondência do diâmetro, porque às vezes a marcação deve ser ajustada.
Em seguida, faça um orifício e monte o tubo. Suas juntas de topo são soldadas dos dois lados e fecham a válvula. Depois feche os orifícios.
Depois de concluir a instalação do tubo, continue com a soldagem de um novo tubo. Antes disso, a escória de metal formada após fazer o furo principal é removida. Depois de limpar a superfície da tubulação, instale um novo tubo nos orifícios e, depois de revesti-lo com argila, faça soldas.
Em seguida, eles pegam uma solução aquosa de sabão e os lubrificam cuidadosamente com novas costuras, certificando-se de que estão bem apertados e de que não há vazamento de combustível azul.

Se um vazamento de gás não for observado, prossiga para a fase final do trabalho, ou seja, eles enchem a vala. No entanto, essa não é uma operação tão simples quanto parece à primeira vista.
O aterro da vala também deve ser realizado de acordo com os padrões abaixo:
- em torno da circunferência do ponto de inserção da válvula de esfera e do tubo de conexão, é necessário aterrar o solo mole com uma camada com mais de 20 cm de espessura e compactá-lo;
- é estritamente proibido o enchimento final da vala com solo, com um trator ou outro equipamento de construção pesada.
É estritamente proibida a colisão do equipamento mencionado na camada de solo que cobre o ponto de inserção e os tubos que dele saem, bem como na válvula de esfera que se projeta acima da superfície do solo.
Inserir em um tubo de plástico
Conectar-se a gasodutos a partir de tubos de plástico não é tão caro financeiramente em comparação com gasodutos de aço. E no caso de tubos de plástico, isso é muito mais fácil do que com tubos de metal. É importante seguir uma sequência clara de ações.
Produtos plásticos para a instalação de estruturas de engenharia agora são usados com bastante frequência.
Entre suas vantagens estão:
- materiais de isolamento caros não são necessários;
- preço razoável, com alto nível de manufatura de obras de instalação e construção devido ao uso de máquinas de solda automáticas, baixa demanda por equipamentos pesados e funcionários caros;
- vida útil - pelo menos 50 anos;
- custos mínimos durante a operação e reparo.
Na véspera da inserção, é necessário adquirir acessórios de alta qualidade (elementos de conexão) fabricados na fábrica de acordo com os requisitos da GOST. E também para proporcionar maior confiabilidade às costuras, você precisará usar cola especializada e uma junta em forma de sino.
Além disso, é necessário garantir cuidadosamente que a junção dos tubos seja a mais firme possível e tenha a melhor densidade. Na véspera da instalação, o inserto deve ser tratado com um agente anticorrosivo.

Quanto ao processo de entrada em um gasoduto constituído por tubos de plástico, é realizado da seguinte forma. Conecte os tubos com inserções especiais de aço ou polietileno. Eles são perpendiculares ao sistema de transmissão de gás existente. Seu comprimento pode ser de 80 a 100 cm.
O processo de construção é realizado por meio de tubos de plástico com uma conexão de contato de sino na base. A tecnologia de insertos no gasoduto é realizada da seguinte forma: aquecendo um inserto de aço a uma temperatura de 60 ° C, eles rapidamente e com esforço físico são colocados em uma estrutura plástica.
Uma tecnologia bastante popular é a conexão através do uso de uma válvula de esfera. O diâmetro máximo do gasoduto dos produtos de polietileno nos quais a inserção pode ser feita é de 500 mm para modelos com SDR 11 e 800 mm - com SDR 17.6.
Neste caso pressão da linha de gás não deve ter mais de 1 MPa (10 bar). A própria tecnologia de captação de tubulações de gás a partir de tubos de polietileno é realizada em uma determinada sequência.

A torneira é soldada primeiro. Na véspera da instalação de equipamentos na rede existente, são instalados acessórios e aquecedores embutidos (cuidados com a embreagem e a sobrecarga), uma válvula de esfera é montada de acordo com a SP 42-103-2003.
Em seguida, a montagem e instalação de equipamentos. A haste de perfuração, na extremidade na qual o cortador está montado, e o conjunto de fixação são fixados no tubo de derivação livre da válvula de esfera. Para fazer isso, é puxado juntos por parafusos do semi-anel do dispositivo de fixação. Essas ações permitem obter uma conexão completamente estreita.
O próximo passo será nó de batida através do acessório com uma torneira. Nesse caso, a pressão deve ser maior em 0,1 MPa do que na linha de transmissão de gás existente.
Após a inserção ser inserida no pipeline. A haste de perfuração gira por meio de uma alavanca de catraca, alimentando o cortador para a frente, que, por sua vez, corta a parede do gasoduto.
Em seguida, a haste com o cortador é realimentada e a válvula de esfera é fechada. O momento da entrada do cortador na linha de transmissão de gás existente é determinado diminuindo a força com a qual a haste de perfuração gira, bem como alterando o comprimento do curso.
Após o furo, a haste de perfuração com o cortador é retraída girando as alças do dispositivo de corte no sentido anti-horário. Assim que o cortador for retirado da válvula de esfera, ele deverá ser fechado.

Depois disso, despressurize o conjunto de ligação ao gasoduto e desmonte o equipamento. Após desligar a válvula, o gás é expelido da unidade de inserção através de uma mangueira de saída de gás e uma válvula com um encaixe. Ao mesmo tempo, o equipamento é removido do ramo livre da válvula de esfera. Agora, o cortador da haste de perfuração pode ser removido.
Na próxima etapa, é necessário extrair o fragmento do tubo de corte do cortador e remover os cavacos resultantes.
Em seguida, o ramo do gasoduto se une. É soldado com um acoplamento a um tubo de derivação livre de uma válvula de esfera. Após o arranque do combustível azul, a junta soldada deve ser testada sob pressão de trabalho, após pré-tratar as juntas com uma solução aquosa de sabão, para garantir que não haja vazamento de gás.

Após concluir com êxito a inserção no gasoduto principal, é necessário realizar a parte documental do trabalho concluindo um contrato de fornecimento, serviços técnicos e de expedição de emergência com o representante regional da empresa de gás na região.
A aceitação de uma nova instalação de gás após a conclusão do processo de inserção e a vedação dos dispositivos que controlam a quantidade de combustível azul consumido é realizada por um representante da empresa mencionada acima.
Em nosso site, há um bloco de artigos dedicados à conexão de gás a uma casa particular, recomendamos que você leia:
- Quanto custa conectar o gás a uma casa particular: o preço da organização do suprimento de gás
- Como o gás é conectado a uma casa particular: dispositivo de entrada + instalação do sistema
- Condições técnicas para conexão de gás: o procedimento para obter a documentação necessária
Conclusões e vídeo útil sobre o tema
O vídeo demonstra a inserção em tempo real sob pressão sem bloquear o gás:
Vídeo sobre a inserção no gasoduto de alta pressão existente:
Um exemplo de uma batida em um gasoduto sob pressão em um videoclipe:
Tendo um entendimento geral dos requisitos técnicos e do procedimento para conexão à rede de gás, será mais fácil navegar em todas as nuances e também será mais fácil controlar o trabalho da empresa com a qual o contrato de conexão é concluído.
Além disso, o desejo absurdo de colidir com o gasoduto por si só desaparecerá, convidando todos os comércios a economizar dinheiro.
Compartilhe com seus leitores sua experiência em coordenar documentos e conectar-se ao gasoduto central. Por favor, deixe comentários no artigo e faça suas perguntas. O formulário de feedback está localizado abaixo.

As informações são certamente úteis, mas apenas eu não recomendaria entrar em uma pessoa que nunca o fez. Ainda assim, piadas sobre gás são ruins. Certifique-se de obter permissão com antecedência para não pedir uma multa. Fizemos isso, esperamos cerca de uma semana, até os especialistas chegarem até nós e nos cortarmos no gasoduto. Isso é apenas, na minha opinião, eles não verificaram um vazamento, ou eu não o vi.
As multas por esse empate são grandes. Embora a idéia de fazer um empate esteja agora em muitas cabeças. Eles obtêm de nós, na Rússia, e pagam o preço do gás para os consumidores europeus. Todo o orçamento da família no inverno para contas de serviços públicos. Meu amigo soldador tentou bater, ele foi pego em um instante. Se você já abre algum tipo de negócio usando gás, não pode ficar sem namorar na administração.
Obviamente, você não está familiarizado com os preços da gasolina na Europa. Preços lá às vezes, ou até dezenas de vezes mais altos. Google por interesse.