Types de systèmes de ventilation: aperçu comparatif des options d'organisation des systèmes de ventilation
La présence d'un système de ventilation est nécessaire pour assurer l'échange d'air à l'intérieur du bâtiment en éliminant l'excès d'humidité, de chaleur et de substances nocives. Sa présence est l'une des principales conditions pour assurer des fonctions vitales.
S'il n'y a aucun système de ventilation dans la pièce, cela nuit au corps humain, conduit à la formation de champignons, comme en l'absence d'échange d'air, de la condensation se forme.
Nous proposons de comprendre les types de systèmes de ventilation existants et les principes de leur fonctionnement.
Le contenu de l'article:
Classification des systèmes de ventilation
Les systèmes sont classés selon différents critères:
- méthode d'alimentation;
- rendez-vous;
- méthode d'échange d'air;
- exécution constructive.
Le type de ventilation est déterminé au stade de la conception du bâtiment. En même temps, les aspects économiques et techniques ainsi que les conditions sanitaires et hygiéniques sont pris en compte.
Types de système de ventilation par méthode d'alimentation
Si l'on se base sur les modes d'alimentation et d'évacuation de l'air d'une pièce, on distingue 3 catégories de ventilation:
- naturel;
- mécanique;
- mixte.
Effectuer conception de ventilationsi une telle solution est capable de fournir un échange d'air ‚conforme aux normes établies.
Lorsque la ventilation de type naturel ne répond pas aux exigences des normes sanitaires et hygiéniques, la deuxième option est choisie - la manière mécanique d'activer la masse d'air.
S'il est possible, en plus de la deuxième option de ventilation, d'utiliser partiellement la première, une ventilation mixte est prévue dans le projet. Dans les bâtiments résidentiels, l'air circule à travers les fenêtres et les équipements d'évacuation sont situés dans la cuisine et dans la salle sanitaire. Par conséquent, il est important d'établir un bon échange d'air entre les pièces.

Ventilation désignée
En fonction de l'objectif de la ventilation, les systèmes de ventilation fonctionnels et les systèmes d'urgence sont distingués. Alors que les premiers doivent constamment offrir des conditions confortables, les seconds ne fonctionnent que lorsque les premiers sont éteints et qu'une situation d'urgence se produit, lorsque les conditions de vie standard ne sont pas respectées.
Ce sont des pannes soudaines lorsque la pollution de l'air se produit avec des fumées toxiques, des gaz, des substances toxiques explosives.

La ventilation d'urgence n'est pas conçue pour l'air frais. Il ne fournit qu'une sortie de gaz et ne permet pas à la masse d'air contenant des substances dangereuses de se propager dans la pièce.
Systèmes de ventilation par la méthode d'échange d'air
Par ce critère, les systèmes de ventilation se distinguent général et local. Le premier doit fournir à l'ensemble du volume de la pièce un échange d'air suffisant tout en conservant tous les paramètres d'air nécessaires. De plus, il doit éliminer l'excès d'humidité, la chaleur et la pollution. L'échange d'air peut être effectué à la fois sur le canal et sur le système sans canal.

Le but de la ventilation locale est de fournir de l'air propre à des endroits spécifiques et d'éliminer la contamination des points où elle se forme. En règle générale, il est organisé dans de grandes pièces avec un nombre limité d'employés. L'échange d'air se produit uniquement sur les lieux de travail.
Séparation des systèmes par conception
Sur la base de cette caractéristique, les systèmes de ventilation sont divisés en canaux et non-canaux. Les systèmes de type canal consistent en une route ramifiée, composée de conduits d'air à travers lesquels l'air est transporté. L'installation d'un tel système est conseillée dans les grands locaux.
Lorsqu'il n'y a pas de canaux, le système est appelé sans canaux. Un exemple d'un tel système est un ventilateur ordinaire. Il existe 2 types de systèmes sans canaux - au plafond et posés sous le plancher. Les systèmes sans canaux sont plus simples à utiliser et consomment moins d'énergie.
Ventilation naturelle
Le mouvement des masses d'air pendant la ventilation naturelle se produit naturellement sans motivation supplémentaire en raison de:
- différence de température à l'intérieur et à l'extérieur du bâtiment;
- différences de pression entre la pièce et la hotte ‚situées sur le toit du bâtiment;
- sous l'influence du vent.
C'est le système le plus simple. Il ne nécessite pas l'installation d'équipements sophistiqués et coûteux qui consomment beaucoup d'électricité. Un tel système ne peut être qualifié de fiable du fait que son efficacité dépend de facteurs non contrôlés par l'homme.
Le système peut être organisé et non organisé. Un système régulé ou organisé fonctionne par aération ou présence déflecteurs. L'aération est un processus d'échange général au cours duquel l'air entre et sort par les fenêtres ouvertes, les lampes et les impostes.
Infiltration ou ventilation non réglementée La ventilation naturelle est l'entrée d'air dans une pièce par des fuites dans les structures.

Dans l'industrie, l'aération est utilisée en présence de procédés où, en technologie, le travail s'accompagne d'un dégagement de chaleur en grande quantité. Son utilisation est autorisée à condition que l'air d'alimentation contienne moins de 30% des émissions nocives de la concentration admissible directement dans la zone de leur formation.
Ne pas utiliser d'aération si l'air entrant dans la pièce nécessite un prétraitement ou de la condensation ou du brouillard peut apparaître à l'extérieur du flux d'air. Par aération, de multiples échanges d'air se produisent à de faibles dépenses énergétiques. C'est son principal avantage.
Le principe de fonctionnement du système de ventilation avec le mouvement naturel des flux d'air est basé sur la différence de température et de pression:
Dans certains cas, des déflecteurs sont montés sur les bouches des conduits d'échappement - buses spéciales. Ils fonctionnent grâce à l'utilisation de l'énergie éolienne. Les déflecteurs éliminent efficacement les masses d'air sales et excessivement chauffées des petits espaces. Ils sont également utilisés pour les hottes locales.
Le fonctionnement normal de la ventilation entraînée par la différence de pression fournit une différence minimale entre le point d'admission et la sortie d'échappement de 3 m.

Caractéristiques de ventilation mécanique
Le système de ventilation, au moyen duquel l'air est fourni et évacué à l'aide de stimulateurs supplémentaires à des distances impressionnantes, est appelé mécanique. Il existe d'autres noms pour ce type de ventilation - forcée et artificielle.
Ils l'appliquent à la fois pour assurer les processus technologiques dans diverses industries et pour créer des conditions confortables pour les humains.
Un appareil facile à installer et à utiliser, qui extrait l'air extrait des salles de bain, des cuisines et des salles de bain des maisons privées, est un système de ventilation avec un microprocesseur automatique:
La ventilation mécanique, contrairement à la ventilation naturelle, ne dépend pas des conditions extérieures.Il est entièrement contrôlé et contrôlable. L'air ‚fourni à la pièce‚ subit un traitement et avec un système débogué tous ses paramètres répondent aux normes. Les émissions pénètrent également dans l'atmosphère déjà débarrassée des inclusions nocives.

La présence d'un système de ventilation mécanique vous permet de répartir de manière optimale l'air avec son alimentation à un endroit précis. Avec son aide, les émissions nocives sont captées à la source de leur formation, ne permettant pas de polluer l'air de toute la pièce.
L'inconvénient de la ventilation mécanique est un investissement financier important lors de son installation et de son fonctionnement. Pour en profiter pleinement ‚il faut faire face à la pollution des canaux‚ remplacer régulièrement les filtres.
Si un filtre de ventilation avec fonction de récupération de chaleur est installé, vous devez passer à la doublure d'été avant la période estivale. Si vous quittez l'option hiver, cela réduira l'efficacité de la ventilation.
La ventilation mécanique peut être un échange local ou général. Ce dernier est implémenté en 2 versions - sans canal et canal. Déplacement d'air dans système de canaux se produit à l'aide de ventilateurs - installations d'éjecteurs centrifuges ou axiaux.

Ventilation mécanique générale
Les structures à entraînement mécanique peuvent être à la fois d'alimentation et d'échappement. La ventilation d'alimentation est parfois réalisée en conjonction avec le chauffage central.
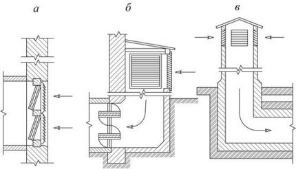
L'entrée d'air dans un tel système peut avoir la forme de trous dans l'enveloppe du bâtiment d'un bâtiment, d'un puits indépendant ou auxiliaire. Lorsqu'il est monté à l'extérieur du bâtiment, le puits d'admission d'air est situé au-dessus du niveau du sol ou sur le toit.

Le choix de la conception et de l'emplacement des entrées d'air est influencé par les exigences relatives au degré de pureté de l'air extérieur, ainsi qu'à l'architecture du bâtiment. Le bas de l'ouverture à travers laquelle l'air propre entre doit être situé à une distance d'au moins 2 m du sol, et dans le cas d'un bâtiment situé dans la zone verte - 1 m. Les entrées d'air externes ne peuvent pas être placées là où il y a des émissions nocives.
Les masses d'air pénètrent dans la mine par fan. En traversant le réchauffeur d'air, ils chauffent, humidifient ou vice versa, sont séchés et pénètrent à l'intérieur par des conduits d'air avec des ouvertures.
L'air peut également être fourni par des branches ‚équipées de buses‚ guidant les masses d'air d'alimentation. Le volume d'air fourni est régulé par les vannes ou vannes situées dans les branches.
Ventilation locale mécanique
La ventilation mécanique locale, opérant dans un espace confiné, est appelée douche à air. Ce type de ventilation est utilisé dans les zones de travail où la chaleur rayonnante est supérieure à 300 kcal / h. ou la production implique la libération de toxines qui ne peuvent pas être éliminées à l'aide d'un extrait local.
Les installations parfumées sont mobiles et fixes. Le premier, lorsque vous fournissez de l'air pur au lieu de travail, sortez-le de la pièce. Parfois, de l'eau est fournie à la masse d'air atomisée. Ses gouttes quand il pénètre dans le corps humain deviennent un refroidisseur supplémentaire.Le second à travers les buses d'étouffement sert à l'air extérieur propre ou prétraité.
Ventilation d'échappement
L'élimination de l'air d'échappement de la pièce est la tâche de la ventilation d'échappement. L'élimination de l'air utilisé de la pièce se fait en abaissant la pression à l'intérieur. Ainsi, des conditions sont créées pour que l'air pénètre de l'extérieur ou d'une pièce adjacente.

Lors de la conception de hottes d'échappement à échange général pour les ateliers de production, il est tenu compte du fait que l'élimination de l'air sale doit être effectuée directement à partir de la source principale de formation d'émissions nocives en direction de leur trajectoire naturelle et ne pas polluer les zones propres. Ces lieux sont des laboratoires biologiques, des ateliers aux conditions néfastes.
Ventilation mécanique
La base de l'alimentation et de la ventilation d'échappement sont à 2 flux, se déplaçant l'un vers l'autre. Il se compose de deux systèmes indépendants - alimentation et évacuation ou une seule unité. Il a construit tout l'équipement nécessaire pour travailler sur le flux entrant ‚et la hotte aspirante.
S'il y a 2 systèmes séparés, la ventilation fonctionne sans recirculation et est appelée ouverte. Le deuxième type de système de ventilation est appelé fermé et fonctionne avec la recirculation.
Le système de recirculation économise l'énergie dépensée pour refroidir ou chauffer l'air ‚car la masse d'air n'est pas entièrement chauffée, mais seulement son volume qui vient de l'extérieur. L'air évacué dans le système de recirculation est à nouveau renvoyé dans la pièce avec un mélange d'air frais, représentant 10 à 15% de la masse d'air totale.
Une telle ventilation est possible dans les endroits où il n'y a pas de pollution dangereuse. Dans les régions à climat froid, un système fermé est inefficace car la recirculation et les masses d'air externes ne se mélangent pas assez bien.
Ventilation mécanique accidentelle
En cas de situations inhabituelles, en plus de la version de travail, une ventilation d'urgence est prévue. Invariablement, c'est toujours épuisé. Une ventilation mécanique d'urgence est installée dans les pièces où il existe un risque de pénétration de vapeurs ou de gaz explosifs. Dans ce cas, des ventilateurs antidéflagrants et anti-étincelles sont montés.

Il y a des composants dangereux qui ne peuvent pas être retirés avec les ventilateurs. Ensuite, le système comprend un éjecteur. La ventilation d'urgence doit démarrer automatiquement dès que la ventilation principale cesse de fonctionner. L'ouverture des ouvertures par lesquelles l'air sale sortira doit être effectuée à distance.
Les tuyaux et les grilles conçus pour la sortie d'air pendant la ventilation d'urgence sont placés dans des endroits où la concentration de substances dangereuses est la plus probable en grands volumes. Les ouvertures par lesquelles l'air de secours est évacué ne doivent pas se trouver dans des zones où les personnes sont constamment localisées. Les parapluies ne doivent pas être montés sur les tuyaux et les puits du système d'urgence.
Les émissions ‚émises accidentellement dans l'atmosphère‚ doivent être dispersées autant que possible et ne pas tomber dans les zones fermées du territoire adjacent au bâtiment. Les MPC sont contrôlés au moyen d'analyseurs de gaz qui sont ajustés en conséquence.
Ventilation de fumée
La tâche principale de la ventilation anti-fumée est d'éliminer la fumée d'une pièce ou d'un bâtiment dès que possible ‚pour bloquer sa propagation et ainsi protéger les personnes lors de leur évacuation.

Une telle ventilation est installée là où, avec la présence constante d'un grand nombre de personnes, le flux d'air n'est pas possible de manière naturelle. Ce sont des ascenseurs, des cages d'escalier, des couloirs aveugles et des endroits similaires. La base de la ventilation des fumées est un circuit d'alimentation et d'échappement.
Les canaux, les ventilateurs puissants inclus dans la ventilation ‚ont une résistance au feu accrue et la capacité de résister à la déformation en cas d'exposition prolongée à des températures élevées.
Certaines parties du système sont équipées de deux types de vannes: ignifuge et ignifuge. Les composants du système anti-fumée sont également durables, imperméables aux gaz et aux écrans et portes de fumée.
Afin d'éviter les problèmes lors de l'évacuation des personnes, deux types de contrôle sont mis dans la conception de la ventilation des fumées - automatique et manuel à distance.
Le système doit comprendre des éléments qui indiquent un incendie:
- détecteurs, lorsqu'ils sont déclenchés par lesquels, l'ouverture automatique des ventilateurs d'extraction et des soupapes de fumée se produit;
- Signal «feu» sur la console centrale;
- inclusion manuelle de la ventilation des fumées.
Les soupapes d'échappement des fumées sont réparties uniformément sous le plafond. La couverture ne doit pas dépasser 900 m². Le système est divisé en sections ‚et en plus des trappes et des vannes‚ sont équipés d'évacuateurs de fumée.
Il élimine non seulement la fumée, mais aussi le monoxyde de carbone, les petites suspensions formées pendant la combustion. Vous pouvez en savoir plus sur l'installation du système d'évacuation des fumées. dans ce matériau.
Conclusions et vidéo utile sur le sujet
Cette vidéo est une sorte de programme éducatif sur la ventilation. Ici, le concept même de ventilation est examiné en détail et toutes les questions concernant sa conception compétente sont abordées:
Atelier sur l'installation d'un système de ventilation:
Les chefs d'entreprise et les promoteurs privés doivent comprendre que le fonctionnement normal de ceux dont ils sont responsables dépend de l'efficacité de la ventilation. Parfois, la vie des gens est remise en question. Vous ne pouvez pas manquer ce moment et économiser dessus.
Vous avez des questions sur le sujet de l'article, trouvez des défauts ou y a-t-il des informations précieuses que vous pourriez partager avec nos lecteurs? Veuillez laisser des commentaires, partager vos expériences, participer aux discussions.

J'ai la question suivante: nous vivons au cinquième étage, rénové, et en général il n'y a pas de lacunes dans le sol et les murs. Mais périodiquement, il y a un étranglement dans la salle de bain. Très probablement du sous-sol, bien qu'il soit étonnant de voir comment l'odeur peut atteindre une telle hauteur. Nous avons remarqué que cela se produit, en règle générale, par temps venteux ... Dites-moi comment faire face à cela? Et il y a encore des soupçons sur une machine à laver, une odeur peut-elle s'y propager?
Si vous péchez sur la laveuse, vous pouvez simplement essayer de la transférer dans une autre pièce pendant un certain temps et vérifier si l'odeur disparaît ou non. Il est peu probable que vous puissiez sentir le sous-sol, mais au cas où, vous devriez parler avec d'autres résidents de la maison et leur demander s'ils ont un problème similaire.
Et si sur le sujet - je pense qu'un système de ventilation mixte est vraiment la meilleure option. Dans notre maison de campagne, c'est juste ça.
J'ai rencontré un cas similaire. Là, la raison de l'odeur n'était pas la ventilation, mais le drain de la salle de bain. Le siphon avait un léger coude et à cause de cela, il y avait une rupture constante du joint d'eau (l'eau ne restait tout simplement pas). Après avoir remplacé le siphon, le problème a été résolu.
Bonjour Je soupçonne également que la raison est plutôt dans le système d'égouts ... mais jusqu'à présent, il est difficile de diagnostiquer avec précision à partir des informations fournies.
Bonjour Ici, la réponse ne peut pas être donnée correctement, car vous n'avez tout simplement pas déterminé la source de l'odeur et ne nous avez pas dit quel type de «chéri» vous avez. Vous pouvez vous référer à une réparation ou à une odeur récente de la plomberie, des laveuses, d'un problème avec le trou de ventilation ou d'une rupture de tuyau au sous-sol. Mais vous n'avez pas besoin de tout cela. Invitez un spécialiste du Code pénal, ils existent pour cela. Laissez-les vérifier la ventilation, le sous-sol, le système d'égout. Il est plus facile de diagnostiquer un problème localement que par votre description. Encore une fois, nettoyez la rondelle, vérifiez la connexion de vidange.