Comment connecter un interrupteur LED: règles de connexion d'un interrupteur rétroéclairé
Pour effectuer des travaux électriques de base, il n'est pas nécessaire d'appeler un maître. En sachant comment connecter le commutateur LED, vous pouvez effectuer indépendamment son installation. Vous devez admettre qu'une telle compétence est particulièrement utile si une révision majeure et un renouvellement du câblage électrique doivent être effectués.
Nous parlerons du schéma de câblage, de la méthode d'installation et des difficultés pouvant survenir lors de l'installation. Vous pouvez également le faire vous-même pour améliorer un interrupteur conventionnel en le rendant rétro-éclairé.
Le contenu de l'article:
- Fonctionnement et fonctionnement de l'interrupteur lumineux
- Application interrupteur LED
- Comment choisir un interrupteur LED
- Comment installer
- Pourquoi les lampes à économie d'énergie clignotent-elles?
- Comment combiner lampes et interrupteur
- Interrupteur d'éclairage bricolage
- Interrupteur marche / arrêt
- Conclusions et vidéo utile sur le sujet
Fonctionnement et fonctionnement de l'interrupteur lumineux
Nous décrivons la conception du commutateur LED en utilisant l'exemple d'un appareil à deux touches avec rétro-éclairage.
Le mécanisme se compose des éléments suivants:
- une entrée, deux bornes de sortie;
- résistance de limitation de courant;
- contacts mobiles.
Le design comprend également un corps, un panneau décoratif et des touches.

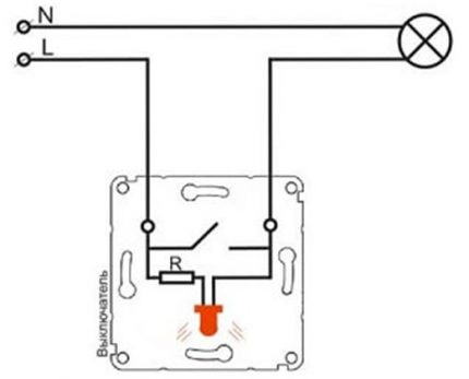
Lorsque les contacts du commutateur LED sont ouverts, le courant traversant le fil de phase est fourni à la résistance, puis à la lampe LED ou néon. De plus, la tension traverse la lumière et sort par zéro.
Étant donné que le rétro-éclairage est connecté via une résistance de limitation de courant, la tension dans le réseau diminue et elle est suffisante pour le rétro-éclairage, mais pas assez pour que le lustre fonctionne.

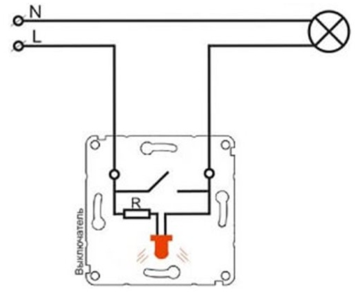
Après avoir fermé les contacts de l'interrupteur, le courant, qui se déplace toujours le long du circuit avec la moindre résistance, traverse le réseau alimentant la lampe d'éclairage - dans ce circuit, la tension est presque nulle. Le courant est également fourni au circuit de rétroéclairage, mais il est si petit qu'il ne suffit pas, même pour une lampe au néon, de fonctionner.

Application interrupteur LED
Un interrupteur équipé d'un rétro-éclairage est installé là où il fait sombre même pendant la journée, et l'utilisation constante d'un dispositif d'éclairage est peu pratique. Il est également utilisé dans les chambres dont l'accès est nécessaire la nuit.

Plus il y a de sources lumineuses, plus il faudra de touches sur l'interrupteur. Pour contrôler l'éclairage, composé de plus de trois dispositifs d'éclairage, des interrupteurs de réglage de type sont utilisés, qui sont installés sur une rangée.
Pour contrôler l'éclairage de plusieurs endroits, ils acquièrent un interrupteur de passage avec rétro-éclairage.
Comment choisir un interrupteur LED
Lors de l'achat d'un interrupteur LED, il n'est pas nécessaire de chasser des appareils en céramique coûteux, car la consommation d'énergie des appareils d'éclairage n'est généralement pas très élevée.
Dans des conditions d'utilisation domestique, il suffira d'utiliser un interrupteur LED en plastique de haute qualité avec un groupe de contact fiable. La ressource de ces appareils est d'environ 40 000 commutations.

Ils font également un choix basé sur la conception de l'appareil, le type d'inclusion - ils produisent un clavier et un bouton rotatif, un bouton, un toucher et un cordon.
La méthode d'installation fait la distinction entre les périphériques internes et externes. Le matériau du boîtier peut également être différent - ils utilisent du plastique, du verre, du cuivre, de l'acier inoxydable et du schiste, de la dorure et même du cuir sont utilisés comme revêtement décoratif.
Mais ce à quoi vous devez vraiment faire attention, c'est classe de sécurité (IP) - il indique la possibilité d'utiliser du matériel dans certaines conditions.
Par exemple:
- Classe IP à partir de 20 indique que l'appareil est mal protégé de la poussière et de l'humidité. Un tel équipement est utilisé dans des locaux résidentiels.
- Classe IP 45 et supérieure Il est utilisé pour marquer les interrupteurs pouvant être connectés dans des pièces à forte humidité - baignoires, bains, cuisines, toilettes, etc.
- Classe avec IP à partir de 65 signifie que l'interrupteur peut être utilisé à l'extérieur. Ces équipements électriques ont une protection accrue contre la poussière et l'humidité. Il est installé à l'extérieur du bâtiment - sous le porche, auvent, sur les vérandas couvertes. Il a des touches plus massives, et au lieu d'entrée du joint en caoutchouc du fil électrique.
Plus la classe est élevée, plus l'appareil est protégé contre les facteurs externes. Cela s'applique non seulement aux interrupteurs, mais également aux prises, interrupteurs à bascule et autres équipements électriques.
Comment installer
Le mécanisme de commutation rétro-éclairé suggère une petite lampe qui brille lorsqu'elle est éteinte. Une petite lampe au néon ou LED ainsi qu'un élément de résistance peuvent être utilisés pour éclairer l'appareil. Les fils s'étendent du rétroéclairage, qui doit être connecté à l'alimentation pendant l'installation.
Préparation de l'installation et mesures de sécurité obligatoires
Sans connaissances de base en matière de sécurité, il vaut mieux ne pas commencer à travailler avec du matériel électrique. Une installation électrique analphabète peut entraîner un choc électrique, une panne des appareils électriques, un incendie.
Règles de conduite de base lors de l'utilisation de l'électricité:
- tous les travaux doivent être effectués dans un réseau hors tension;
- il est inacceptable de surcharger le réseau électrique;
- vérifier le marquage des fils conformité avec le réseau connecté;
- il est préférable de remplacer la section de réseau endommagée plutôt que de la réparer;
- Ne touchez pas l'équipement connecté avec les mains mouillées.
Déterminer la nature des conducteurs - où est zéro et où est la phase - aidera un indicateur de tournevis conventionnel ou un multimètre. L'indicateur est suffisant si le réseau électrique est monophasé. Pour analyser un réseau triphasé, un multimètre est utilisé.

Exemple d'installation d'un interrupteur à 2 touches avec rétro-éclairage
Les principales différences structurelles des interrupteurs à LED résident dans le mécanisme de rétroéclairage. Il peut être prêt à l'emploi et ne nécessite aucune action pour le connecter. Dans un autre type de conception, il est nécessaire de connecter des fils qui alimentent la LED ou la lampe néon.
Considérez une option plus complexe - comment connecter un appareil rétro-éclairé dans lequel les conducteurs doivent être connectés indépendamment.

Tout d'abord, ils truquent les clés avec un tournevis ou un autre outil approprié et les retirent. Séparez le noyau (mécanisme interne) du corps.
Ensuite, déterminez la position correcte du commutateur à l'aide de l'indicateur. Pour ce faire, en touchant les contacts avec un tournevis d'un côté et un indicateur de l'autre, ils vérifient si l'appareil est allumé ou éteint.
Si l'indicateur s'allume, cela signifie qu'il est allumé. Dans cet état, tournez-le de façon à ce que les touches avec le côté enfoncé soient situées en haut.

L'un des fils provenant de l'indicateur est connecté à la borne d'entrée, et le second est connecté au contact de touche. S'il y a plusieurs clés, le fil est connecté à la première d'entre elles, en commençant par la gauche. Simultanément avec le fil allant de l'indicateur à la borne d'entrée, un conducteur de phase est également connecté.
Deux fils de phase de branche qui vont au lustre sont connectés aux bornes de sortie simultanément avec le deuxième fil de rétro-éclairage, en s'assurant qu'il ne tombe pas en contact.
Avec cette méthode de connexion, le rétro-éclairage s'allumera après l'ouverture des contacts à l'aide de la première touche. La seconde n'aura aucun effet sur la désactivation du rétro-éclairage et la lampe s'allumera même lorsque la lumière est allumée.
Pour que le voyant s'éteigne lorsque vous appuyez sur l'une des touches, vous devez créer indépendamment un cavalier qui connectera l'indicateur aux deux touches.
Si vous ne prenez pas en compte la connexion du rétro-éclairage, l'installation se déroule comme dans un appareil classique. À travers boîte de jonction un conducteur de phase est conduit au commutateur et connecté à la borne d'entrée L, le conduisant dans le trou et le vissant.
Ensuite, aux contacts du dispositif L1 et L2 sont connectés deux fils de phase de sortie qui mènent au lustre également à travers une boîte de jonction. L'un d'eux est connecté à une lampe, l'autre aux deux autres. Le zéro passe à travers l'unité de soudure dans le boîtier de montage, puis va à toutes les lampes du lustre, fermant le contact.

Pourquoi les lampes à économie d'énergie clignotent-elles?
Interrupteur LED incompatible avec le fonctionnement lampes à économie d'énergie. Le conflit d'appareils se manifeste par un bref flash de la lampe à l'état éteint ou en mode dit de combustion lente, lorsque la lampe ne s'éteint pas complètement et brille à peine.

Cela se produit car à l'intérieur de la lampe fluorescente, il y a un convertisseur électronique (condensateur), qui se recharge progressivement à partir du courant traversant le rétro-éclairage, clignote.
Un phénomène similaire se produit avec les alimentations de bandes LED, qui ont également un condensateur, et qui sont alimentées par un petit courant provenant d'un interrupteur rétro-éclairé.
Les fabricants de lampes à économie d'énergie indiquent que l'utilisation de leurs produits n'est pas compatible avec l'utilisation d'interrupteurs et de gradateurs LED.
Vous pouvez contourner cette limitation si vous contrôlez le fonctionnement du dispositif d'éclairage à l'aide d'un relais. Depuis l'interrupteur, la commande vient d'abord du relais, qui commande déjà directement l'éclairage.
Le relais est produit par de nombreux fabricants de produits électriques: Schneider electric, ABB, Siemens. Il peut être placé sous le capuchon du lustre, derrière le rebord dans lequel la règle LED est installée.
Vous pouvez appliquer une autre solution au problème - déconnectez la lampe au néon ou la LED de l'alimentation. Cela peut être fait en déconnectant les fils de rétroéclairage des bornes. Mais alors le commutateur LED perdra ses avantages.
Envisagez des solutions qui vous permettent toujours de combiner le rétroéclairage et l'utilisation de lampes à économie d'énergie.
Comment combiner lampes et interrupteur
Si après avoir éteint la lampe fluorescente clignote ou brille faiblement, le problème peut être résolu en connectant une résistance supplémentaire (résistance ou condensateur) en parallèle avec le point d'éclairage.
Pour ce faire, vous avez besoin d'une résistance d'une valeur nominale de 50 kΩ et d'une puissance de 2 watts. Il absorbera l'excès de courant lorsque le rétroéclairage est allumé et ne permettra pas au condensateur de la lampe de se charger.

Cette méthode d'élimination de la cause du clignotement des lampes à économie d'énergie est considérée comme assez dangereuse et les électriciens expérimentés ne recommandent pas de l'utiliser sans compétences suffisantes pour effectuer des travaux électriques.
Il est préférable d'utiliser une unité de protection prête à l'emploi pour les lampes fluorescentes et LED, qui élimine le scintillement, protège contre les surtensions et élimine les interférences des lampes. Sa connexion est obligatoire si un commutateur rétro-éclairé est utilisé.

L'unité de protection est connectée en parallèle avec des lampes qui ne fonctionnent pas correctement - elles scintillent ou brillent faiblement lorsqu'elles sont éteintes. Installez-le dans le boîtier de la lampe ou dans le verre du lustre.

Les solutions aux problèmes et dysfonctionnements courants des lampes LED sont détaillées dans ces articles:
- Pourquoi les lampes LED s'allument lorsque l'interrupteur est éteint: raisons et solutions
- Pourquoi les ampoules LED clignotent: dépannage + comment réparer
- Réparation de lampe LED DIY: les causes des pannes, quand et comment vous pouvez la réparer vous-même
Interrupteur d'éclairage bricolage
Lors du fonctionnement des équipements électriques, il s'avère parfois que dans certaines pièces, il serait bien d'avoir un interrupteur rétro-éclairé. Pour ce faire, il n'est pas nécessaire d'acheter un appareil - vous pouvez améliorer indépendamment l'ancien.
Ce qui est nécessaire pour cela:
- interrupteur ordinaire;
- LED avec toutes les caractéristiques;
- Résistance 470 kΩ
- diode 0,25 W;
- fil;
- fer à souder;
- percer.
À l'aide d'un fer à souder, ils commencent à assembler le circuit. La cathode de la diode (marquée d'une barre noire) est connectée à l'anode de la LED (la jambe est plus longue à l'anode). La résistance est soudée au contact positif de la LED et au fil, qui servira de connexion à l'interrupteur. Le deuxième fil est connecté à la cathode de la LED.

Ensuite, connectez tout au mécanisme marche-arrêt. Le conducteur de phase qui mène à la lampe est connecté à la borne avec l'un des fils menant à la LED. Un autre câblage est connecté à la borne d'entrée avec un fil de phase qui fournit le courant du secteur.
Il est nécessaire d'isoler soigneusement les sections exposées du fil et d'exclure le contact des conducteurs avec le corps, ceci est particulièrement important s'il s'agit de métal.
Vérifiez le schéma de connexion de l'interrupteur rétroéclairé pour son fonctionnement comme suit: le bouton, fermant le contact, allume le lustre ou la lampe, à l'état éteint, la lampe LED s'allume. Si le circuit fonctionne correctement, vous pouvez installer l'appareil dans le boîtier.
Pour que l'éclairage soit visible, la lampe LED est introduite dans le trou percé en haut du boîtier. Il n'est pas nécessaire de le faire si le boîtier est léger - la lumière le traversera.

Interrupteur marche / arrêt
Les interrupteurs avec indicateurs diffèrent des LED par un principe d'utilisation complètement différent - la lampe en eux s'allume lorsque l'éclairage est allumé. Le but principal de la lampe de contrôle est de signaler que l'éclairage est allumé au sous-sol, dans le grenier, dans le garde-manger ou dans la rue.
Utilisé pour contrôler la consommation d'énergie. L'indicateur peut être réglé pour chacune des touches ou seulement pour l'une d'entre elles.
La connexion et le fonctionnement de l'interrupteur avec la fonction de rétroéclairage sont construits selon le principe suivant. La lampe de contrôle est connectée en parallèle aux bornes de l'interrupteur. Lorsque le circuit se ferme, le courant passe à travers l'indicateur et la lumière - les deux s'allument. Si l'interrupteur est éteint, aucun courant ne circule ni vers l'indicateur ni vers la lampe.

Conclusions et vidéo utile sur le sujet
Instructions pour connecter le commutateur LED:
Comment configurer votre propre rétro-éclairage:
Que faire si les lampes à économie d'énergie brillent ou clignotent après avoir été éteintes:
Un interrupteur rétroéclairé peut participer à presque tous les circuits d'éclairage électrique. Mais pour sa bonne installation, il est nécessaire d'étudier la conception, le principe de fonctionnement et les nuances qui surviennent lors de l'interaction avec d'autres équipements électriques.
Partagez avec vos lecteurs votre expérience de connexion d'un interrupteur LED. Veuillez laisser des commentaires, poser des questions sur le sujet de l'article et participer aux discussions - le formulaire de commentaires se trouve ci-dessous.

Je ne suis pas particulièrement sympathique avec l'électricien. D'une manière ou d'une autre, j'ai placé une lampe à économie d'énergie dans un interrupteur avec un gradateur et je n'ai pas immédiatement remarqué qu'elle commençait à clignoter, puis je l'ai laissée de cette façon. La lampe était dans le couloir, clignotant assez fort, je n'avais pas besoin d'allumer la lumière pour sortir la nuit, tout était visible. En théorie, il aurait dû brûler rapidement, mais cela fonctionne toujours. Ainsi, la durée de vie n'a pas changé, elle a peut-être atteint une qualité.