Comment connecter un commutateur avec une seule clé: règles et schémas de connexion
Divers appareils sont utilisés pour contrôler les sources lumineuses électriques domestiques, le plus courant étant l'interrupteur. Il s'agit d'un simple appareil situé sur le mur et connecté à des fils. La conception des produits est différente, mais le schéma de circuit interne pour les modèles simples est le même.
Dans notre matériel, nous vous dirons comment connecter un interrupteur avec une seule clé pour effectuer rapidement des réparations. Pour plus de commodité, plusieurs méthodes de connexion avec des photographies thématiques seront présentées pour illustrer le processus d'installation.
Le contenu de l'article:
Conception et fonction des disjoncteurs
Un interrupteur est un simple dispositif mécanique (plus rarement électronique) de fermeture / ouverture de contact d'un circuit électrique pour allumer / éteindre les appareils d'éclairage.
Nous couvrirons les caractéristiques de conception et l'installation des modèles les plus simples - les interrupteurs à clé unique.
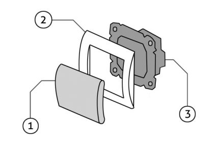
Ils se composent de 4 parties principales:
- nœud de travail - base métallique avec contacts et entraînement par bouton-poussoir;
- attaches - pattes ou antennes métalliques reliées à une plaque métallique;
- décoration - panneaux ou cadres;
- partie dynamique - clés en plastique.
Une partie des pièces, principalement internes, est en métal, par exemple en acier galvanisé, la finition décorative externe est généralement en plastique sûr. Des éléments en céramique pouvant supporter des charges allant jusqu'à 32 A sont possibles, tandis que le plastique est conçu pour 16 A.
Parmi les raisons d'installer un interrupteur à un bouton, on trouve:
La structure externe et interne dépend de plusieurs facteurs, par exemple, les tâches fonctionnelles ou la charge potentielle. Comme appareil supplémentaire dans certains modèles, il y a une LED qui fournit un éclairage externe.

Des interrupteurs sont installés dans toutes les pièces où il y a des dispositifs d'éclairage qui ne sont pas équipés d'un câble d'alimentation (par exemple, pour les lampadaires ou les lampes de table, il n'est pas nécessaire).
Ce sont le plus souvent des plafonniers ou des appliques, des lustres, des systèmes d'éclairage complexes.

Types d'appareils à usage domestique
Il n'y a pas de division stricte en catégories, car différents fabricants ont leurs propres gammes «de marque», cependant, nous pouvons distinguer plusieurs types de commutateursunis par un seul signe.

Par exemple, selon le principe de l'inclusion, tous les appareils peuvent être divisés en:
- mécanique - claviers élémentaires, faciles à installer et à utiliser (la fonction d'une touche peut être réalisée par un levier, un interrupteur à bascule, un bouton, un cordon, un bouton rotatif);
- touche électroniqueentraîné par le toucher d'une main;
- avec télécommandeéquipé d'une télécommande ou d'un capteur de mouvement.
Le premier groupe est considéré comme le plus populaire, traditionnel et reconnu dès les premiers jours de l'invention du circuit électrique, la popularité du troisième gagne également du terrain, et le second n'a en quelque sorte pas pris racine.
Les détecteurs de mouvement économisent de l'énergie et offrent une protection supplémentaire. Par exemple, si vous installez un appareil similaire à l'entrée de la maison, cela signalera l'apparition d'invités non invités.

Par type de conception, tous les commutateurs sont divisés en une seule clé et plusieurs clés (version standard pour un usage domestique - avec 2-3 touches). Chaque clé sert à fermer / ouvrir un circuit d'éclairage.
Si la pièce a plusieurs appareils d'éclairage - un lustre, des plafonniers et des appliques - appropriés interrupteur à trois touches, ce qui permettra d'allumer / éteindre les appareils alternativement ou ensemble.
Sont également très populaires interrupteurs à deux touches que vous pouvez voir dans presque tous les appartements. Ils sont particulièrement pertinents pour les lustres à plusieurs lampes.
Selon la méthode d'installation, deux groupes peuvent être distingués: avec une installation externe et interne. Type extérieur généralement utilisé lorsque le câblage est ouvert, et interne - avec des câbles cousus dans le mur. Pour assurer la sécurité et la stabilité de l'installation de l'interrupteur intégré, utilisez le boîtier de montage (prise) - un boîtier de protection en plastique.

Placement - Commodité et sécurité
Avant installation d'un interrupteur vous devriez considérer l'endroit le plus pratique pour l'installation et l'utilisation ultérieure. La zone la plus avantageuse est située près des portes d'entrée (du côté de la poignée de porte), mais il peut y avoir des exceptions (par exemple, à côté de la tête du lit).
Avant d'élaborer un projet de câblage, il est préférable de consulter un document officiel - Code d'installation électrique (règles d'installation électrique), qui régit certaines des nuances de l'installation. Par exemple, le paragraphe 7.1.48 stipule que l'interrupteur doit être situé à au moins 60 cm de la douche et le paragraphe 7.1.50 permet de l'installer à moins de 50 cm du gazoduc.

Dans les salles de bain et les saunas, l'installation de dispositifs de contrôle est interdite, ils doivent être sortis des locaux (généralement dans le couloir).
Trois options de montage pour les interrupteurs à clé unique
Considérez trois schémas de connexion de commutateur qui sont similaires dans la conception (ont une clé), mais diffèrent dans le type d'installation. De plus, toutes les options sont unies par la loi fondamentale de l'introduction de modèles à clé unique: un élément dynamique ouvre la "phase" et non le "zéro". Dans le cas contraire, il existe un risque de blessure lors des travaux de réparation et même avec un simple remplacement de lampe.
# 1: Instruction photo pour l'installation d'un appareil extérieur
L'emplacement des fils pour ce schéma de connexion n'a pas d'importance: ils peuvent aller à la surface ou à l'intérieur du mur. Le type d'interrupteur extérieur dans le salon est le bienvenu si des réparations coûteuses viennent d'être effectuées et qu'il n'y a aucun désir de démolir les murs et de canaliser les canaux.

Nous considérerons l'option avec pose de câbles externes, dans laquelle les fils sont enfermés dans un canal de protection ondulé.

Sous l'interrupteur, il y aura un autre appareil électrique - une prise, de sorte que les câbles des deux appareils pour des raisons esthétiques sont enfermés dans une seule ondulation.

Modèle de disjoncteur sélectionné - Schneider electric - a un boîtier en plastique et un degré de protection ip44. Avant l'installation, nous prenons des mesures de sécurité: coupez l'alimentation du câble sur le panneau électrique installé sur le site ou dans le couloir.
Utilisez un tournevis indicateur pour vérifier qu'il n'y a pas de tension dans le câble. Lorsque le problème de panne de courant est résolu, nous reprenons le démontage de l'interrupteur.
D'abord, nous sortons la clé avec notre main - cela se fait assez facilement.

La prochaine étape est la suppression du mécanisme de travail.

Vous devez maintenant déterminer avec précision l'emplacement d'installation de l'interrupteur et marquer les points sur le mur pour visser les fixations. Pour ce faire, prenez un étui déjà vide et appliquez-le au mur.
Nous le nivelons, avec un marqueur nous désignons des points pour le forage.À l'aide d'une perceuse, nous forons des trous pour les attaches (une autre méthode de fixation est également possible).

Du boîtier de l'interrupteur, retirez le bouchon élastique situé dans la partie supérieure, insérez-le dans le trou du fil et l'extrémité du tuyau ondulé provenant du plafond.

Il est temps de procéder directement à la connexion. Aux extrémités des fils, nous enlevons le matériau isolant, nous nettoyons 8-10 mm.
Nous connectons le fil blanc (phase) à la borne avec la désignation L, bleu - à l'autre borne, avec la désignation "1". Serrez soigneusement les boulons et placez l'unité de travail dans le boîtier.

Remontez l'interrupteur: mettez le panneau avant en place, puis fixez la clé.

L'installation du commutateur par vous-même est assez facile, même si l'installation est compliquée par la présence d'appareils supplémentaires.
Cependant, si vous n'êtes pas sûr de la bonne action, il est préférable d'être en sécurité et d'effectuer la première connexion sous la supervision d'un électricien expérimenté.
# 2: Atelier sur le remplacement d'un ancien interrupteur
Souvent, dans le cadre de réparations dans un appartement ou une maison privée, vous devez démonter l'ancien interrupteur et en installer un nouveau, plus moderne et plus pratique.
Considérez le principal étapes de remplacement du disjoncteuren utilisant des photos étape par étape du processus.

À l'aide d'un tournevis, dévissez les vis, retirez le couvercle en plastique.

Notre tâche est de déterminer la "phase".

Alternativement, nous apportons le tournevis aux contacts, en aucun cas en les touchant avec nos mains (il est préférable d'utiliser des gants isolants). Pour une définition précise, réglez la clé sur les deux positions.
En position arrêt, la "phase" ne fournit qu'un seul contact. Le deuxième fil est pour le luminaire.
Après avoir établi le but des fils, nous coupons l'alimentation électrique, vérifions la présence ou l'absence de tension, et en nous assurant de la sécurité, nous commençons à démonter l'ancien interrupteur. Nous dévissons les attaches des supports métalliques («pattes»), nous obtenons l'unité de travail.

Nous libérons enfin le mécanisme, redressons les fils - la place pour le nouvel interrupteur est préparée. Nous prenons un nouveau produit, acheté à l'avance, et le préparons pour l'installation, c'est-à-dire le démontage.
Nous retirons la clé, dévissons le panneau de protection et voyons le mécanisme interne - avec les deux pinces nécessaires et les porte-entretoises.

Nous nettoyons les extrémités des fils d'environ 1 cm, les insérons dans les trous situés sous les vis supérieures et nous nous assurons que le bobinage ne glisse pas avec le fil nu. Serrez de sorte que les fils ne bougent pas.

Après avoir connecté les fils, nous insérons l'unité de travail dans le boîtier de montage.

Réglez le panneau supérieur, fixez la clé.

Donc, pour installer le nouvel interrupteur, nous avions besoin d'outils (tournevis, pinces, couteau, coupe-fil, tournevis indicateur), du matériel isolant et 20 minutes de temps. Appeler un électricien coûterait environ 500 roubles.
# 3: Schéma de connexion avec boîte de jonction
Lorsque les murs nus se trouvent, ce qui se trouve dans les nouvelles maisons standard modernes, vous devez insérer indépendamment les portes intérieures, le sol et ranger les murs.
Le câblage ne fait pas exception. Par conséquent, nous examinerons comment connecter correctement le disjoncteur avec un appareil d'éclairage, un disjoncteur et une boîte de jonction.

Notre objectif est d'installer tous les appareils dans des zones désignées pour eux et de les connecter ensemble avec des fils, sans les confondre. Nous essayons d'installer la boîte de jonction au centre.
Une méthode d'installation de câbles ouverte ou fermée n'affecte pas fondamentalement la disposition des éléments de circuit.

Tout d'abord, nous connectons un dispositif de protection automatique qui protège le réseau des surcharges et des surtensions.
Décidons couleur du fil dont nous aurons besoin pour connecter le commutateur:
- blanc - phase;
- bleu - zéro;
- jaune - terre.
Nous nettoyons les fils et les insérons dans les bornes qui leur sont destinées. Nous utilisons le fil jaune pour la mise à la terre, en le fixant séparément avec une pince spéciale.

Le rôle de la lampe sera joué par une cartouche ordinaire et une ampoule (incandescente, LED, à économie d'énergie).

Nous amenons les fils dans la boîte d'installation pour installer l'interrupteur.

Les modèles modernes d'interrupteurs ont des bornes marquées, ce qui facilite la fixation du câblage. Nous les insérons dans les trous souhaités et les fixons avec des vis.

Tous les éléments du circuit sont connectés, il reste à connecter les fils dans la boîte de jonction.

Nous vérifions l'exactitude des connexions avec un tournevis indicateur et le testons - appuyez sur le bouton de l'interrupteur.

Comme vous pouvez le voir, l'ensemble du schéma de connexion peut être effectué indépendamment à l'aide d'un minimum d'outils simples.
Conclusions et vidéo utile sur le sujet
Des instructions vidéo utiles aideront les électriciens débutants à apprendre la théorie et à la mettre en pratique correctement.
Instructions du fabricant legrand qui expliquera comment installer le commutateur vous-même:
Dans la vidéo suivante, vous pouvez découvrir comment connecter un interrupteur à clé unique et une prise:
Et comment remplacer le commutateur de vos propres mains, vous apprendrez de la vidéo suivante:
Comme vous pouvez le voir, les principes de connexion de divers appareils électriques sont similaires, mais présentent de légères différences. Après avoir décidé de remplacer le disjoncteur vous-même ou de poser l'intégralité du circuit, étudiez soigneusement les schémas, consultez des spécialistes qualifiés et assurez-vous de respecter les précautions de sécurité dans le processus.
Si vous avez encore des questions sur le remplacement des interrupteurs à clé unique ou si vous avez des ajouts au matériel, veuillez laisser votre commentaire dans le bloc ci-dessous.

J'ai dû remplacer les anciens commutateurs par de nouveaux. Il n'y a rien de difficile là-dedans. Mais quand j'ai dû changer le câblage, je me suis vraiment assuré que les fils ont des couleurs différentes. Cela se fait correctement, en raison de la couleur de l'isolation, il est impossible de mélanger les fils lorsqu'ils sont connectés. Il s'avère que chaque couleur du fil correspond à sa fonction. Si vous ne faites pas attention à ce «conseil» des fabricants de câbles, vous devrez refaire le câblage.
En achetant des commutateurs, il vaut mieux ne pas économiser. Avec un appareil peu coûteux et de mauvaise qualité, vous courez le risque de devenir propriétaire d'un interrupteur avec une clé cassée ou un intérieur effondré après un mois au maximum. Un mauvais contact avec le fil à l'intérieur du disjoncteur, à son tour, peut provoquer des étincelles et un incendie. Achetez toujours des produits de qualité éprouvés. Il est pratique lorsque la LED de rétroéclairage est située sur l'interrupteur, cela vous aidera dans l'obscurité à déterminer facilement son emplacement.