Comment construire un puisard d'anneaux en béton: schémas + guide étape par étape
Choisissez-vous le moyen le plus simple de collecter et de traiter partiellement les eaux usées pour votre maison d'été ou votre résidence saisonnière? Convenez que la disposition du système d'égouts affinera considérablement le site et rendra votre séjour dans le pays aussi confortable que possible. Un puisard ordinaire d'anneaux en béton fera face à cette tâche, mais vous ne savez pas comment le construire correctement?
Nous vous aiderons à gérer ce type de fosse septique - l'article traite de la construction de la fosse, des schémas de construction populaires. Le processus de conception d'une cage à partir des anneaux avec le calcul du volume requis est analysé en détail, sa construction en plusieurs phases est décrite.
Le matériel est équipé de photographies visuelles et de diagrammes, des recommandations vidéo pour la construction par des artisans expérimentés sont données. Les méthodes de décoration d'un trou technique sont également discutées.
Le contenu de l'article:
Conception et objectif du puisard
Les cesspools, comme les fosses septiques, sont utilisés pour collecter les eaux usées. Mais ce sont des structures primitives qui ne sont pas en mesure de purifier le liquide.
Dans les réservoirs de stockage, les déchets ne se désintègrent que partiellement, contrairement aux COV, où les déchets sont divisés en déchets solides et liquides, qui sont ensuite clarifiés et atteignent une pureté de 60 à 98%.
Toutes les variétés fosses de drainage peut être divisé en deux catégories:
- réservoirs de stockage scellés;
- trous de vidange avec un fond de filtre.
Pour les utilisateurs, 2 différences sont importantes - le fond du réservoir et la fréquence de collecte des déchets. Le premier type stocke l'intégralité du volume des eaux usées, il est donc vidé assez souvent, une fois toutes les 1-2 semaines.
Pour le deuxième type, les fosses d'égouts sont moins susceptibles d'être appelées, car le réservoir se remplit un peu plus lentement. Une partie du liquide s'infiltre à travers une sorte de filtre qui remplace le fond et pénètre dans le sol.

À première vue, la deuxième option est plus acceptable, mais elle ne peut être utilisée que pour le traitement des effluents gris.
À dispositif de fosse sans fond Un certain nombre de facteurs doivent être pris en considération:
- exigences sanitaires;
- type de sol;
- la présence et l'emplacement des aquifères.
Si le sol de la zone sélectionnée est argileux, incapable d'absorber rapidement l'eau, il est inutile de faire un fond de filtre. Il en va de même pour les aquifères - il existe un risque d'infection et de dommages environnementaux.
Il existe de nombreuses solutions pour les puisards: construire structures en briquesbéton ou pneus de voiture. Les plus fiables sont les structures en béton et les conteneurs en plastique finis.
Les réservoirs en béton, créés par la construction de coffrages et de coulées, sont plus difficiles à construire que les analogues des anneaux finis, sur lesquels nous nous attardons.

Le râteau des ébauches de béton de forme cylindrique sous forme finie est un puits de 2 m à 4 m de profondeur. Des anneaux de 2 à 4 pièces sont placés les uns sur les autres, les scellés sont scellés.
L'élément inférieur, selon le type de fosse, peut être fermé ou complètement absent. Parfois, au lieu d'une ébauche d'usine finie, une dalle de béton est placée au fond.
La partie supérieure est conçue sous la forme d'un col avec une trappe technique et un couvercle hermétique.
La partie accumulative principale du réservoir est approfondie d'environ 1 m, car le tuyau d'égout d'entrée doit être en dessous du niveau de gel du sol. Le volume de capacité est sélectionné en tenant compte du nombre de vidanges quotidiennes.
Pourquoi les fosses de drainage sont-elles attrayantes?
Le principal avantage des disques est leur coût abordable. Pour cette raison, beaucoup s'arrêtent au dispositif le plus simple au lieu d'acquérir une fosse septique plus coûteuse et fonctionnelle.
Le râteau est également pratique pour ceux qui viennent rarement au chalet - uniquement pendant la saison chaude ou exclusivement le week-end.
S'il y a relativement peu d'eaux usées et qu'un pompage régulier des déchets est établi, un puisard est vraiment une bonne option.
Mais avec de grands volumes d'eaux usées, c'est mieux ramasser une fosse septique - un appareil plus cher qui nettoie partiellement les déchets et minimise la pollution des jardins.
Ce dernier est possible si un modèle avec bien filtrer ou infiltrateur.

Inconvénients du puisard, qui peut devenir un refus causal de sa construction:
- volume limité;
- la nécessité d'un pompage fréquent;
- faible (ou nul) degré de traitement des déchets;
- une odeur spécifique dont il est difficile de se débarrasser.
Ceux qui souhaitent installer un système de filtration des eaux usées doivent savoir que de temps en temps, en plus du pompage, il sera nécessaire de nettoyer et même de remplacer le filtre - une couche de gravier ou de pierre concassée au fond de la fosse.
Aperçu des schémas de construction populaires
Même la construction de deux principaux types de puisards peut avoir des nuances. Considérez les caractéristiques des schémas les plus populaires d'anneaux en béton.
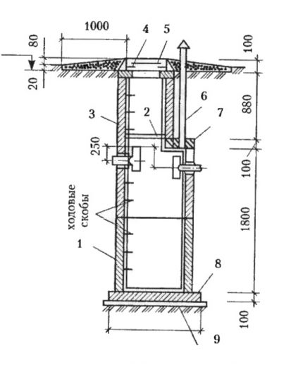
Le premier schéma est un puits hermétique scellé de deux anneaux standard et un anneau de col plus étroit.

Le schéma suivant montre clairement la différence entre le réservoir de stockage et le réservoir avec un fond de filtre.

La troisième option est un entraînement modernisé, une fosse septique primitive.

Utilisation d'un deux sections entraînement de trop-plein plus approprié, car il augmente le degré de respect de l'environnement. Parfois, des modèles à trois compartiments sont utilisés - plus il y en a, plus le traitement des effluents est efficace.
Un petit manuel photo sur la construction de la fosse
La construction d'un puisard à l'aide d'anneaux en béton implique un certain nombre d'étapes traditionnelles.
Afin que les lecteurs puissent visualiser le processus, nous vous suggérons de vous familiariser avec le reportage photo des constructeurs:
Concevoir et calculer
En commençant la construction sans préparation, vous risquez de violer les normes sanitaires et de créer un appareil aux fonctions limitées. Pour que le puisard fonctionne à 100%, il faut prévoir toutes les nuances et difficultés de construction.
Étape # 1 - localiser la fosse de drainage
Lors du choix d'un emplacement pour un puisard, il est important de considérer deux points: la facilité d'entretien et le respect des normes sanitaires.
Par conséquent, pour faciliter le processus d'installation et une meilleure fonctionnalité de l'ensemble du système d'égouts, le réservoir doit être installé aussi près que possible de la maison.
Beaucoup le font - ils creusent un conteneur à 2-3 mètres du bâtiment, ignorant l'odeur et oubliant les normes et les règles d'utilisation des fosses de drainage et des différentes fosses septiques. Soit dit en passant, la distance minimale recommandée entre la fosse et la maison est de 5 m.

Le schéma peut être complété par les informations suivantes:
- récipient scellé fixé dans tout type de sol;
- réservoir de filtre - uniquement dans un liquide sableux, bien absorbant et passant.
La base de la structure filtrante doit être au moins 1 m plus haute que l'aquifère.
Pour déterminer la profondeur des aquifères, il est préférable de contacter l'organisme de conception ou de forage qui a effectué des levés géotechniques ou foré un puits d'eau dans la zone de construction.
Étape # 2 - calcul de la capacité
Pour déterminer la taille et le volume du puits, il est nécessaire de faire des calculs mathématiques simples. Si la maison permanente a une douche, des toilettes, une machine à laver, alors pour 1 personne il y a environ 150-200 litres d'eaux usées par jour.
Supposons que vous souhaitiez installer une cave scellée dans la cour d'une maison où vivent 3 personnes - cela représente 450 à 600 litres par jour.
N'oubliez pas que lors du calcul, nous prenons en compte au moins une quantité triple, c'est-à-dire que nous multiplions encore par 3, nous obtenons 1,35-1,8 m³. Ceci est le volume minimum.
Les dimensions du col et des parties du puits situées au-dessus de l'entrée du tuyau d'égout n'ont pas besoin d'être prises en compte. Autrement dit, le volume obtenu correspond aux paramètres de la pièce située sous le pipeline.
Parfois repoussé par le moment de l'appel des travailleurs du puisard. Si la même famille de 3 personnes est servie chaque semaine, alors il s'avère: 150 l (200 l) x 3 x 7 = 3,15 m³ (4,2 m³). Une fois toutes les deux semaines - 6,3 m³ (8,4 m³).

Si les services publics ou l'entreprise privée desservant votre site disposent d'un transport avec un réservoir de 6-8 m³ dans le parc, il est judicieux d'installer le réservoir à volume maximum.
Étape # 3 - Sélection des anneaux en béton
Le volume du puisard est calculé par la taille des anneaux, il est donc plus facile d'acheter des modèles dans l'assortiment d'une entreprise située à proximité, car la livraison est requise.
Tailles de bague typiques:
- hauteur - 0,89 m;
- diamètre - 1 m.
Des anneaux de telles dimensions sont produits par presque toutes les usines de produits en béton. Pour une petite famille, trois blancs suffisent, plus un col et un bas.

La construction de puisards est si populaire que les usines ont commencé à produire des kits complets pour leur construction.
Le kit comprend:
- élément inférieur avec fond;
- bagues standard de 1 à 5 pièces. - un plus grand nombre entraînera des difficultés de nettoyage et de pompage;
- cou rétréci;
- dalle supérieure avec un trou pour la trappe.
Les anneaux peuvent être unis et perforés pour absorber les puits. Toit ouvrant avec couvercle acheté séparément.
En plus du standard anneaux en béton diamètre de mètre, vous pouvez trouver plus de pièce globale.
La préférence devrait être donnée aux anneaux avec une connexion verrouillable rainure-peigne, ce qui garantit un degré plus élevé d'étanchéité et de résistance de la structure finie.
Étape # 4 - Préparation du matériel et location d'équipement
En plus d'un jeu d'ébauches en béton, les matériaux de construction suivants peuvent être nécessaires:
- agrafes pour relier les pièces;
- scellant à joints;
- mastic bitumineux ou autre matériau pour sceller le réservoir de l'intérieur et de l'extérieur;
- ciment pour renforcer le remblai;
- pierre concassée, gravier et sable pour la préparation d'une chape de nivellement ou d'une couche filtrante.
N'oubliez pas les godets, les pelles et les treuils pour l'excavation.
Il n'est pas possible de livrer indépendamment des anneaux en béton - pour les pièces volumineuses et lourdes, il est nécessaire de louer un camion.
Si un treuil n'est pas fourni sur le chantier, il est préférable de commander un équipement spécial avec un manipulateur. Une personne ne peut pas le gérer. La seule chose que vous pouvez faire vous-même est de creuser une fosse.
Pour l'installation des pièces, au moins 2-3 paires de mains de travail plus un chauffeur de camion sont nécessaires.

L'option idéale est l'aide d'amis avec lesquels vous pouvez vous mettre d'accord sur un faible paiement. S'il n'y a pas de pilotes et d'installateurs d'équipement spécial entre amis, vous pouvez louer une voiture et payer les services d'une équipe de travailleurs.
Souvent, l'aide d'installateurs professionnels est offerte par une entreprise vendant des anneaux pour puits et fosses de drainage.
Instructions de construction de Cesspool
L'installation de chaque réservoir particulier a ses propres nuances associées aux caractéristiques du paysage, du sol, de l'emplacement du réseau d'égout, etc. Nous considérerons un schéma typique d'un appareil de cloaque.
Étape # 1 - excavation
La première étape est le travail du sol. Ils peuvent être effectués seuls (longs, durs et gratuits) ou avec l'aide d'une équipe (rapide et amusant, mais pour de l'argent).
Si possible, vous pouvez attirer une mini-pelle, puis des mains de travail ne seront nécessaires que pour "moudre" les murs et niveler le fond de la fosse.
La forme et les dimensions de la fosse doivent correspondre à la configuration et aux dimensions du réservoir. En conséquence, un puits rond devrait être obtenu, avec une largeur dépassant les anneaux en béton de 0,3-0,5 m de chaque côté autour de la circonférence.
Cet espace sera nécessaire pour sceller / réchauffer la structure de l'extérieur puis la remplir avec un joint.

Il y a une mise en garde à ne pas oublier - c'est le niveau de gel du sol (les informations sont pertinentes pour les résidents de la zone centrale et du nord de la Russie).
Le tuyau d'égout pour les drains et la partie principale du réservoir doivent être en dessous de ce niveau pour que le système fonctionne en hiver. Si vous posez le filet près de la surface, le liquide gèlera simplement lorsque le givre s'installe.
À cet égard, la hauteur du col, qui sert en fait de trou technique, doit être ajoutée aux dimensions de la capacité de travail. Le cou doit dépasser de 15 à 20 cm au-dessus du sol.
Ainsi, le réservoir sera enterré, ainsi qu'un tuyau d'égout coupé en dessous du niveau de congélation.
Au début des travaux de construction, il est nécessaire de niveler la base avec les murs et de creuser un fossé menant de la maison (baignoire, cuisine d'été, garage) à la fosse à eaux usées.
Lors de l'installation du fossé, n'oubliez pas que pour éviter les blocages, le tuyau doit avoir une pente vers la fosse - environ 2 cm par mètre.
Étape # 2 - disposition du fond
Si vous installez un réservoir de stockage ordinaire, le fond, comme les murs, doit être étanche à l'air. Pour la construction d'anneaux en béton, la meilleure option est de préparer à partir du même matériau.
La pièce est spécialement conçue pour concevoir le fond du puits et possède une rainure autour de la circonférence. La seule chose nécessaire à son installation est une base uniforme et dense.

La subsidence possible de la base est éliminée en coulant une chape de ciment. Ils le préparent selon un schéma simple: pour chaque partie de ciment - 4 parties de sable. Pour plus de solidité, du gravier concassé peut être ajouté dans un rapport de 1: 6.
La masse est préparée dans un récipient, puis elle est versée sur toute la surface du fond de la fosse et nivelée. En une semaine, la chape en béton est légèrement irriguée avec de l'eau afin qu'elle ne se fissure pas. L'élément inférieur de la structure est installé au plus tôt une semaine plus tard.
Pour ceux qui apprécient le temps, il existe une solution plus pratique - une dalle de béton prête à l'emploi de fabrication en usine. Il est posé sur un fond plat, et le premier anneau en béton est déjà placé dessus.

Des colonies d'anaérobies, bactéries impliquées dans la décomposition et le traitement des déchets, se déposent sur le remblai des gravats ou du gravier.
L'épaisseur du remblai sous-jacent est différente:
- fosses peu profondes - à partir de 0,3 m;
- réservoirs de 3-4 anneaux - jusqu'à 0,6-0,7 m.
La puissance du remblai du filtre placé dans le puits de forage doit être d'au moins 1,0 m.
La disposition des couches est la suivante:
- couche inférieure - sable;
- couche intermédiaire - pierre concassée de petite fraction;
- couche supérieure - pierre concassée d'une grande fraction.
Contrairement au réservoir en béton, le «coussin» et le filtre sont des éléments interchangeables. Lorsqu'ils se bouchent avec des déchets solides et cessent de passer du liquide, ils enlèvent l'ancien remplissage et en mettent un nouveau au fond de la fosse.
Étape # 3 - Installation d'anneaux en béton
Le premier anneau équipé d'un fond est installé directement sur une dalle de béton (ou chape). La bonne pose de la pièce est une garantie d'une position strictement verticale de l'ensemble de la structure, sans inclinaison ni distorsion. Un deuxième élément est placé sur l'élément inférieur et la couture est immédiatement scellée.
Pour le jointoiement et l'imperméabilisation des joints, diverses solutions, matériaux de revêtement et de rouleaux sont utilisés. En utilisant un matériau de toiture collé à la solution de bitume, les joints et les fissures sont fermés de l'extérieur, il ne convient pas aux travaux internes.
Le mortier de ciment ordinaire est également considéré comme faible: lorsque le sol se déplace, sa fragilité apparaît, ce qui entraîne sa fissuration et son effritement.
Il existe de nombreux mastics et solutions modifiés modernes qui ont une résistance et une élasticité suffisantes. Certains d'entre eux peuvent être appliqués sur des joints ou des joints humides qui sont déjà sous pression d'eau.
Impliqué divers capable étanchéité fosse septique en béton pour protéger les murs contre les effets néfastes d'un environnement chimique agressif, qui se trouve souvent dans les eaux usées.

Voici quelques-uns des outils efficaces pour l'étanchéité des joints et l'étanchéité interne:
- Joints d'eauqui se dilatent lors du durcissement, fermant hermétiquement toutes les fissures. Exemples: Waterplag, Peneplag, Hydrostop. Leur seul inconvénient est le coût élevé.
- Solutions d'application sur toute la surface: Antihydron, Hydrotex, Bastion.
- Matériaux de calfeutrage coutures profondesimprégné de fibroresine Kiilto FIBERPOOL - cordes et cordages en jute, lin, chanvre.
- Bandes d'étanchéité en caoutchoucpar exemple RubberElast.
- Verre liquideajouté au mortier de ciment
- Scellants à base d'eau: Peneplag, Penetron, Penekrit.
Une étanchéité de haute qualité garantit l'intégrité structurelle jusqu'à 35 ans.
Après vous être assuré que la connexion entre les anneaux ne laisse pas passer l'eau, vous pouvez installer la pièce suivante.
À environ 20 - 30 cm sous la profondeur de gel saisonnier des sols, il est nécessaire de faire une entrée pour la conduite d'égout. Au même stade, un tuyau est posé et connecté au réservoir. La jonction est soigneusement scellée.
Dans les régions septentrionales, les tuyaux passant au-dessus de la profondeur de congélation sont également isolés, tout comme la partie supérieure du réservoir de stockage.

Une gorge est montée sur un anneau 3 ou 4, puis une dalle de plancher. Le poêle fabriqué en usine a un trou rond pour la trappe. Un autre trou, de plus petit diamètre, est nécessaire pour le tuyau de ventilation.
La touche finale est le remblayage. Si du ciment sec est ajouté au sol, la fiabilité de la structure augmentera et le risque de destruction par les mouvements du sol diminuera.
Étape # 4 - Conception technique des trous
La meilleure option pour la décoration extérieure est regard d'égout avec un couvercle hermétique. Son équivalent peu coûteux est tout simplement un couvercle en bois à charnière.
La trappe est nécessaire pour l'entretien du puisard - pompage des déchets ou remplacement de la couche filtrante.

Récemment, il est de coutume de masquer les structures d'égouts, surtout si elles ne sont pas assez esthétiques. Pour cela, ils acquièrent des produits décoratifs imitant les espaces verts ou les grosses pierres.
Mais il n'est pas nécessaire d'utiliser un décor acheté; vous pouvez collecter un élégant support de fleurs à partir de lattes de bois et le décorer avec des plantes à fleurs.
Conclusions et vidéo utile sur le sujet
Quelques conseils de professionnels vous aideront à déterminer le type de fosse et à construire un réservoir d'anneaux en béton conformément à toutes les règles.
Étapes de construction d'un puisard avec commentaires détaillés:
Installation d'anneaux en béton:
Informations utiles sur les écoutilles:
Comme vous pouvez le voir, la construction d'un puisard à partir de billettes de béton est disponible même pour un constructeur inexpérimenté. Mais rappelez-vous que pour la construction d'une structure fonctionnelle, le respect des normes, une conception vérifiée, des calculs précis et, très probablement, l'assistance des installateurs sont nécessaires.
Si vous n'êtes pas sûr de vos capacités, envisagez d'installer. réservoir de stockage en plastique ou même une fosse septique d'usine.
Avez-vous une expérience personnelle dans la construction d'un puisard d'anneaux en béton armé? Vous souhaitez partager des informations utiles ou poser des questions sur le sujet? Veuillez laisser des commentaires - le formulaire de commentaires se trouve ci-dessous.

Des trucs intéressants. Vous ne rencontrez pas souvent de telles instructions de haute qualité avec des vidéos, des diagrammes et des illustrations. Immédiatement une question pour l'auteur: pose d'anneaux en béton adaptés à tout type de sol? Et j'aimerais ajouter moi-même que vous pouvez spécifier le coût approximatif de la location d'équipement et de matériel. Et c'est bien s'il y avait des informations sur l'usure des anneaux en béton, sur leur résistance et sur l'impact des facteurs externes sur eux. C'était utile)
Bonjour, Sergey. Oui, un puisard d'anneaux en béton peut être construit dans tous les types de sols. Ce n'est qu'avec des eaux souterraines élevées que l'on doit prêter attention à l'étanchéité.
Il est incorrect d'indiquer des coûts approximatifs. En raison de la différence de prix selon la région à certains moments, qui peut parfois être trois ou même cinq fois.
En raison de la force et de la résistance à l'humidité des produits en béton, la durée de vie est, sans exagération, d'environ cent ans.
J'ai cette situation. Il a commencé seul à fabriquer un puisard d'anneaux en béton dans le pays. Mais j'ai dû partir et mon puits a été inachevé pendant 2 ans. Le problème est que j'ai réussi à creuser dans deux anneaux et deux sont restés. Ainsi, autour des anneaux creusés, le sol était déjà comprimé et compacté par lui-même. Maintenant, ils ne peuvent plus être creusés et ils ne peuvent pas être retirés. Pouvez-vous trouver quelque chose, comment puis-je terminer la construction d'un puits?
Achetez deux anneaux de plus petit diamètre et creusez-les à l'intérieur de ces deux anneaux.
Bonjour Jetez un oeil, s'il vous plaît https://engineershub.decorexpro.com/vodosnab/kolod-skvazh/uglublenie-kolodcev.html, section - «Approfondissement avec des anneaux de plus petit diamètre». Ici sur l'approvisionnement en eau, mais il n'y a pas beaucoup de différence technologique.