Dysfonctionnements de la chaudière à gaz Junkers: codes de panne et dépannage
Une panne de chaudière au plus fort de la saison de chauffage est un rêve terrible pour chaque propriétaire de cet équipement, n'est-ce pas? Il se trouve que la chaudière s'est levée, il fait froid dans la maison, et le maître ne peut venir que dans quelques jours? De tels dysfonctionnements de la chaudière à gaz Junkers peuvent provoquer le désespoir.
Ne vous précipitez pas à la panique, car de nombreuses pannes de chaudières à gaz peuvent être éliminées indépendamment sans expérience et sans outil spécial, et nous vous apprendrons cela.
Dans cet article, nous allons non seulement donner le décryptage aux codes d'erreur que la chaudière donne, mais aussi les associer à l'état actuel de l'unité. Nous vous indiquerons également comment corriger certains dysfonctionnements et dans quels cas vous ne pouvez pas vous passer de l'aide d'un spécialiste.
Le contenu de l'article:
La chaudière à gaz ne s'allume pas
Lorsque la chaudière ne fonctionne pas et qu'aucune lumière n'est allumée, elle ne réagit pas au bouton d'alimentation, le propriétaire est submergé par les soupçons les plus terribles: l'unité est désespérément cassée, une réparation sérieuse ou l'installation d'un nouvel équipement sera nécessaire.
La fonction d'autodiagnostic de la chaudière est sans courant et l'appareil n'émettra pas de code d'erreur.

La raison est souvent élémentaire: la fiche est retirée de la prise ou la machine est éteinte. La prise pourrait être retirée par l'enfant pendant la lecture et la machine pourrait être déconnectée pour se protéger contre une panne de réseau. De plus, il se peut qu'il n'y ait pas d'alimentation électrique dans toute la maison - pendant la journée, cela peut facilement être ignoré.
Si tout est normal et que la chaudière est toujours silencieuse, débranchez-la et retirez le capot avant. Le panneau de commande dans les modèles muraux est généralement fixé avec deux boulons, et le couvercle du compartiment principal est vissé dans les coins - pour les retirer, un tournevis cruciforme suffit.
Le problème peut être un fusible grillé sur la carte de commande, tandis que les chaudières de la série Eurostar peut émettre erreur E9. Trouvez-le et inspectez, si possible, vérifiez avec un ampèremètre. Si le remplacement du fusible est nécessaire, recherchez-en un de remplacement à l'intérieur du couvercle ou d'autres éléments du corps de la chaudière. En règle générale, Junkers fait une telle marge pour l'utilisateur.
Après avoir vérifié les marquages, remplacez le fusible et essayez de démarrer la chaudière sans l'assembler directement. Si tout a fonctionné, vous pouvez pousser un soupir de soulagement, s'il n'y a pas de réaction ou si le nouveau fusible grille immédiatement, vous devez appeler un spécialiste.
Inspectez l'intérieur de l'appareil pour détecter des signes de courts-circuits, de fuites, de fils cassés ou déchirés.

Une varistance peut être grillée ou endommagée sur la carte - cela indique qu'il y a eu une surtension. La réparation n'est pas trop compliquée et coûteuse, mais elle nécessite de souder la carte, et nous vous recommandons fortement de ne pas le faire vous-même. Confiez le travail au maître et achetez vous-même un stabilisateur de tension.
Il arrive que la chaudière ne démarre pas, même lorsque la maison est froide. Dans ce cas, le mode veille peut être affiché sur l'écran ou les indicateurs, et sur les modèles EuroStar - Erreur SS. Cela indique un manque de communication avec la sonde de température ambiante ou le thermostat de la chaudière. Vérifiez l'intégrité des fils et des connexions, serrez les contacts. Si tout est intact, tournez le bouton du capteur mécanique et remplacez la pile de l'électronique.
Si une chaudière à allumage piézo tente d'allumer un brûleur, donne une étincelle, mais ne s'allume pas - très probablement il n'y a pas d'alimentation en gaz ou elle est défectueuse soupape de gaz.
Après plusieurs tentatives infructueuses pour démarrer le modèle de règle Ceraclass et Eurostar flash Erreur EA «La flamme n'est pas détectée», le bouton de réinitialisation et l'indicateur de température 60 clignotent sur l'Euroline.

Dans une telle situation, vous ne pouvez qu'allumer le poêle ou dévisser le tuyau de gaz de la chaudière (avec le robinet fermé et la chaudière fermé) et essayer d'ouvrir brièvement le gaz. S'il y a un sifflement ou que le poêle s'allume - le problème est dans la chaudière, vous devez appeler les spécialistes du service après-vente avec qui contrat de maintenance équipement de gaz.
S'il n'y a pas de sifflement, l'alimentation en gaz de la maison est coupée, attendez que l'alimentation en gaz soit rétablie. Dans tous les cas, le tuyau de gaz dévissé doit être raccordé à la chaudière sans perdre le joint.
La chaudière s'arrête constamment
L'un des problèmes les plus courants: la chaudière commence à fonctionner, le brûleur s'allume, puis s'éteint. Il peut émettre erreur E9, CE, EA ou une lampe de 45 ou 75 degrés clignote - "il n'y a pas de courant d'ionisation".
Un tel problème peut se produire à chaque fois lors du démarrage ou occasionnellement, de manière imprévisible, instantanément ou après une courte période de temps - car les raisons de ce comportement de la chaudière peuvent être différentes. Nous discuterons d'autres problèmes possibles et de leurs solutions.
Raison n ° 1 - filtre obstrué
Il s'agit d'un dysfonctionnement courant. chaudières à double circuit, ce qui est rarement indiqué par l'autodiagnostic, car le filtre d'alimentation en eau est généralement situé à l'extérieur et n'est pas connecté au capteur.
L'arrêt se produit lorsque vous essayez de passer à l'ECS, car l'eau n'entre pas dans le serpentin ou va avec une faible pression et la chaudière surchauffe.
Pour nettoyer le filtre, éteignez la chaudière et recherchez une section en forme de lettre inversée «U» sur le tuyau d'alimentation en eau de la chaudière.

Avant et après, fermez les robinets, dévissez l'écrou. Retirez et rincez soigneusement le filet, rincez le boîtier. Si la cartouche est endommagée - pliée ou éclatée, achetez-en une nouvelle. Rassemblez tout et ouvrez les deux robinets.
Raison n ° 2 - la pompe est bloquée
Dans la plupart des modèles de chaudières à gaz, la pompe Junkers est intégrée et contrôlée par le système, un clignotement de la diode à 45 degrés indique ses dysfonctionnements, erreur E9, selon le modèle.
Pour savoir si le rotor de la pompe est coincé, il doit être démonté.
Pour ce faire, procédez comme suit:
- éteignez la chaudière;
- trouver la pompe dans la partie inférieure droite de la chaudière;
- mettez un petit récipient en dessous;
- pour retirer le couvercle, dévissez la vis avec une grosse tête brillante sous un tournevis plat;
- un peu d'eau s'écoulera de la pompe - assurez-vous qu'elle ne pénètre pas sur la carte de circuit imprimé et les autres appareils électroniques;
- essayez de tourner légèrement le rotor dans la profondeur de la pompe avec la pointe d'un tournevis. Si cela se passe facilement, nous collectons et recherchons un dysfonctionnement, sinon, nous réparons ou remplaçons la pompe;
- remontez le tout dans l'ordre inverse.
Une façon plus risquée, mais aussi plus précise de vérifier, est d'allumer la chaudière avec une pompe démontée et de l'eau bloquée et de pousser doucement le tournevis profondément dans le son caractéristique de toucher le rotor en rotation.
Si la pompe est obstruée par de l'air entrant dans le système de chauffage, une soupape spéciale aidera à l'abaisser.

Selon la conception, il peut être dévissé ou relevé. Avec la vanne d'alimentation en liquide de refroidissement ouverte, l'air grésillera et la chaudière commencera à fonctionner comme auparavant.
Raison n ° 3 - capteur défectueux
Il arrive que le brûleur principal s'allume, mais s'éteigne immédiatement et la chaudière cède Erreur EA ou la diode à 60 degrés clignote. Cela signifie que cela ne fonctionne pas correctement. détecteur de flamme - un thermocouple ou une diode ionisante, et la protection qui arrête le brûleur afin d'éviter les fuites de gaz sans brûler se déclenche par erreur.
Pour corriger un tel dysfonctionnement, il n'est pas toujours nécessaire de changer le capteur, il suffit parfois de retirer la fiche de la chaudière de la prise et de l'insérer à l'envers. Une telle manipulation est utile car de nombreuses chaudières Junkers dépendent de la phase, si la phase et le zéro à la chaudière et dans la prise ne correspondent pas, le courant d'ionisation ne se forme pas et le capteur ne fonctionne pas.
Une autre raison d'une telle panne est un défaut zéro et à la terre dans n'importe quelle partie du câblage de la maison. Rappelez-vous, avez-vous récemment enfoncé des clous ou connecté un nouvel électricien? Tous les équipements avec ce circuit fonctionnent, seule la mise à la terre est incorrecte.
Si un problème similaire est détecté, corrigez-le et redémarrez la chaudière.

Dans tous les cas décrits ci-dessus, la chaudière s'est arrêtée immédiatement, n'a pas pu entrer en mode de fonctionnement même brièvement.
Si l'appareil dans son ensemble fonctionne, mais parfois, à différents intervalles de temps, le plus souvent à partir de plusieurs heures et jours, l'erreur «survient» n'est pas définie par erreur EA, alors le défaut est probablement dû à la tension de faible qualité et instable dans le réseau.
Cette situation est non seulement agaçante, mais menace également les pannes de carte. Pour éviter cela, achetez un régulateur de tension.
Basse pression de liquide de refroidissement
Sur le panneau avant de chaque chaudière se trouve un manomètre indiquant pression de chauffage. Il a des zones rouges de lectures trop basses et trop hautes. Une pression de 1,5 bar est considérée comme normale pour une chaudière froide: à 1 bar, la flèche est déjà dans la zone rouge, et à 0,5 bar la chaudière s'arrête par Erreur CE ou CF jusqu'à ce que la pression soit rétablie.
Si la chaudière a été installée récemment - il y a quelques semaines, cette situation est normale, il vous suffit d'ajouter de l'eau propre par un robinet spécial. Mais ne vous précipitez pas pour ajouter de l'eau au système, qui fonctionne depuis plusieurs années.
Lorsqu'elle est chauffée, l'eau se dilate et la pression augmente - c'est la norme. Cependant, s'il saute immédiatement à 0,7 - 1,5 bar, cela indique un manque d'air dans le vase d'expansion.
Si dans cette situation, ajoutez de l'eau en chauffant, cela augmentera trop la pression et la soupape de sécurité fonctionnera, déchargeant l'excès de liquide de refroidissement.

Pour pomper le réservoir, vous devez d'abord relâcher la pression sur la chaudière, en vidant un peu d'eau. Ensuite, connectez la pompe ou le compresseur au raccord dans la partie distale supérieure du réservoir et pompez-le jusqu'à 1,3 - 1,4 bar. Après avoir éteint la pompe, ajoutez de l'eau, ce qui porte la pression dans le système froid à 1,5 - 1,6.
Si même lorsque la chaudière chauffe, la basse pression dans le circuit de chauffage est maintenue, il est vraiment nécessaire d'ajouter de l'eau. Où trouver le tube prévu à cet effet est indiqué dans les instructions pour le modèle de l'appareil, nous rappelons seulement la nécessité de remplir ce tube avec de l'eau avant d'ouvrir le robinet afin que l'air ne pénètre pas dans la pompe et les piles.
Assurez-vous de vérifier tous les robinets, les connexions et les radiateurs, ainsi que l'intérieur de la chaudière pour les fuites - l'eau qui circule dans le système est allée quelque part.
Pas de tirage dans la cheminée
Les problèmes de tirage sont également connus de tous les types de chaudières - à la fois avec une cheminée ordinaire et avec une cheminée coaxiale. Pointez sur ce problème Erreurs A4, C4, C6, clignotement de la diode à 45 degrés, parfois alternativement à 90 degrés.
Si de telles erreurs se produisent, vous devez d'abord savoir s'il y a vraiment un problème, car capteur de traction aurait pu fonctionner par erreur et les pannes C4 et C6 peuvent également indiquer des problèmes avec le pressostat.

Pour vérifier le tirage, découvrez d'abord d'où votre chaudière prend l'air de combustion. Les modèles avec une chambre de combustion ouverte la retirent de la pièce, généralement à travers une grille au bas du mur et sur le côté des versions au sol. La chambre de combustion étant fermée, l'air est extrait de la rue par le tuyau extérieur de la cheminée coaxiale.
Tenez un morceau de papier près du point d'entrée d'air pendant que l'équipement fonctionne ou essaie de fonctionner. S'il colle à la grille ou est tiré dans le tuyau, tout va bien avec la traction.
S'il y a un brouillon, mais faible, il ne suffit peut-être pas de tenir le papier. Dans ce cas, une correspondance de gravure est utilisée pour la vérification.
Chaudière à chambre ouverte
Le plus souvent, lorsque des erreurs de traction se produisent, ce n'est vraiment pas le cas. La raison principale est des problèmes avec la cheminée. Cela peut être:
- obstrué de suie ou de condensat acide;
- obstrués par des corps étrangers - parfois les oiseaux peuvent faire un nid dans la cheminée, dont les restes tomberont à l'intérieur;
- mal calculé - trop mince ou trop court;
- insuffisamment isolé, une congestion de l'air s'est formée.
Inspecter et nettoyer le tuyau, si nécessaire, faites appel aux services de spécialistes.
Chaudière à gaz turbocompressé
Pour l'échange d'air dans les chaudières à chambre de combustion fermée, un ventilateur est commandé par un pressostat de gaz de combustion - un pressostat.

La cause de la perturbation de la traction est généralement un dysfonctionnement de l'un de ces appareils.
Le propriétaire de la chaudière peut vérifier lui-même l'intégrité de l'inductance avec un multimètre - elle doit avoir une résistance de 50 à 80 Ohms, sinon elle doit être remplacée. De plus, en raison de l'accumulation de saleté et de poussière, la roue du ventilateur peut être déséquilibrée.
Pour détecter cela, retirez la turbine, éloignez-la de la poussière et faites tourner la roue plusieurs fois. S'il s'arrête toujours dans une position, attachez un poids à la lame supérieure et vérifiez à nouveau.
De plus, le pressostat peut ne pas démarrer le ventilateur en raison d'une basse tension dans le réseau: vérifiez-le avec un voltmètre dans la prise, le seuil inférieur de tension acceptable est de 195 V. Si tel est le problème, connecter le stabilisateur.
Pour vérifier le fonctionnement du pressostat, connectez directement le ventilateur et essayez de démarrer la chaudière. Si les problèmes de fonctionnement ont disparu, le pressostat doit être remplacé.

Les chaudières à chambre fermée sont fournies cheminées coaxialesqui sont installés horizontalement, et donc pratiquement pas sujettes au colmatage. Cependant, en cas de gel intense, le givrage de l'extrémité du tuyau peut se produire en raison du gel de la condensation ou d'une mauvaise installation de l'équipement.
Vous pouvez vous débarrasser de ce problème en effectuant l'isolation de la cheminée.
Autres défauts et valeurs de code
La plupart des codes d'erreur que nous n'avons pas encore mentionnés indiquent un signal de détresse provenant d'un capteur spécifique, provoqué par sa panne, une rupture de ligne ou un dysfonctionnement de l'équipement contrôlé.
Vous pouvez trouver toutes les options d'erreur que la chaudière à gaz murale Junkers produit et réparer, dans les instructions de votre modèle. Selon la série, la méthode d'indication et la configuration de la chaudière, la liste des erreurs peut différer, et parfois le même code dans différents modèles n'a pas la même signification. Par conséquent, nous ne donnerons pas une liste complète ici, afin de ne pas vous confondre.
Dysfonctionnement n ° 1 - bruit pendant le fonctionnement
Le corps de la chaudière n'est pas étanche et la poussière s'y dépose souvent. Surtout, il s'accumule sur la turbine du ventilateur, car il aspire l'air sale de la chaudière.

Si vous avez un compresseur d'air, le problème est facile à résoudre. Retirez le panneau avant de la chaudière et dévissez la turbine. Soufflez l'ensemble du ventilateur, puis le lieu de son palier, puis l'ensemble de la chaudière, à l'air comprimé. Soyez prudent lors du nettoyage de la carte de circuit imprimé - un flux d'air peut faire tomber les contacts.
Laissez la poussière dans la pièce se déposer et purgez à nouveau la chaudière. Faites quelques-uns de ces cycles jusqu'à ce qu'ils soient complètement nettoyés.
La turbine et le boîtier du ventilateur peuvent être essuyés avec de l'eau savonneuse - ne mouillez pas le moteur et les contacts électriques. S'il y avait beaucoup de poussière, demandez à un spécialiste de la société d'entretien et de réparation de chaudières à gaz Junkers de retirer et de laver également le brûleur à gaz. Vous ne devriez pas le faire vous-même - une installation incorrecte menace une fuite de gaz et une explosion.
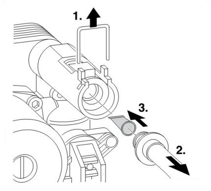
Dysfonctionnement n ° 2 - les batteries ne chauffent pas
Si la chaudière à double circuit ne passe pas en mode chauffage, même lorsque tous les robinets d'eau chaude de la cuisine et de la salle de bain sont fermés, le capteur de débit est très probablement défectueux ou vanne à trois voies. L'erreur dans ce cas, en règle générale, ne s'affiche pas - la chaudière semble avoir une prise d'eau constante, et cela fonctionne conformément à cette situation.
Si vous utilisez de l'eau chaude depuis très longtemps et que les batteries se sont refroidies, la chaudière fonctionne normalement et le circuit ECS est prioritaire.

Lorsqu'un tel problème survient déjà au premier démarrage après l'installation, des erreurs de conception sont possibles. Par exemple, un sèche-serviettes chauffant peut être connecté au circuit ECS, comme dans les immeubles de grande hauteur avec une alimentation centralisée en eau chaude.
Dans celui-ci, l'eau circule constamment, et donc le capteur de débit ne se ferme pas et ne permet pas à la chaudière de démarrer le chauffage.
Dysfonctionnement # 3 - Erreurs de carte
Le tableau de commande électronique est la partie la plus capricieuse et la plus chère d'une chaudière moderne, son erreur F0, E0 ou un indicateur clignotant de 75 degrés peut sérieusement bouleverser le propriétaire qui a examiné les instructions de déchiffrement.
Cependant, les choses ne sont pas toujours aussi mauvaises: peut-être que les contacts viennent de quitter, et sur les chaudières de la série Cerapur, cela indique également le mauvais rapport de gaz et d'air fourni au brûleur. La cause du dysfonctionnement peut également être l'humidité sur la carte de circuit imprimé.Tout fonctionnera après un séchage complet.
Il a été expérimentalement établi que les erreurs de carte se résolvent parfois si vous définissez le 5ème mode de fonctionnement du ventilateur.

De plus, parfois la carte ne fonctionne pas correctement, la chaudière se comporte étrangement, mais ne donne pas d'erreur. La raison en est peut-être la faible qualité de l'électricité. Essayez de déconnecter la chaudière du secteur pendant une demi-heure afin que tous les condensateurs soient déchargés, puis redémarrez. Si cela a aidé - c'est le problème. La réinitialisation des paramètres d'origine peut également aider.
Le spécialiste peut également souder ou reflasher la carte, rétablissant ses performances.
Conclusions et vidéo utile sur le sujet
Vous pouvez plus clairement vous familiariser avec les pannes les plus courantes des chaudières Junkers et leur réparation indépendante en vidéo.
Dépannage du capteur de débit:
Réparation de chaudières bricolage Junkers:
En conclusion, nous pouvons noter que toutes les erreurs générées par la maîtrise de soi de la chaudière ne sont pas fatales. N'ayez pas peur de l'auto-réparation de la chaudière Junkers: de nombreux dysfonctionnements peuvent être éliminés sans l'aide d'un spécialiste. Mais nous ne recommandons pas d'intervenir dans le gazoduc et de souder la carte vous-même, c'est trop risqué.
Votre chaudière Junkers s'est-elle arrêtée par erreur? Avez-vous réussi à résoudre le problème vous-même ou avez-vous dû recourir à l'aide de spécialistes? Parlez-en à nos lecteurs - rejoignez la discussion dans les commentaires.
