Erreurs des chaudières à gaz Baltgaz: codes de panne et méthodes de dépannage
BaltGaz est une marque exemplaire produisant des appareils à gaz de confort et premium avec une classe de fiabilité élevée. Tous sont équipés de fonctions et de protection de haute technologie, disposent d'un grand nombre d'accessoires et de pièces de rechange. Mais comme tout autre appareil de ce type, les chaudières Baltgaz peuvent présenter des dysfonctionnements au fil du temps. Heureusement, pour faciliter le diagnostic des problèmes qui surviennent, ils ont pour fonction de reconnaître automatiquement les faiblesses du système et les erreurs des chaudières à gaz Baltgas sont affichées sous la forme de codes alphanumériques.
Les diagnostics programmés à l'aide de capteurs permettent d'identifier rapidement les zones faibles des appareils et d'éliminer immédiatement les dysfonctionnements dès qu'ils surviennent.
Vous voulez apprendre à gérer ces codes, dont beaucoup semblent complètement incompréhensibles? Nous allons vous aider et vous dire ce que sont ces lettres avec des chiffres et comment décrypter correctement les codes des chaudières à gaz BaltGaz.
Le contenu de l'article:
Erreurs de chaudière BaltGaz
L'interprétation des codes d'erreur pour les chaudières à gaz «Baltgaz Turbo» est dans tout manuel d'instructions. Cependant, si votre manuel est perdu, endommagé ou s'il y a une autre raison pour laquelle vous ne pouvez pas l'examiner, utilisez nos recommandations.

Immédiatement, nous notons que seules les erreurs que vous pouvez gérer sans démonter la chaudière et sans changer les pièces pour elle sont sujettes à une élimination indépendante.
La réparation d'équipements fonctionnant au gaz n'est autorisée que par un employé du service de gaz ou de l'entreprise avec contrat de maintenance équipement de gaz.
Problème numéro 1 - difficultés d'allumage
Si vous voyez l'écran erreur E01 - cela signifie que vous avez des problèmes d'allumage de la chaudière. Le capteur d'ionisation le signale, surveillant la commande d'allumage.Vous avez déjà deviné qu'il y a un dysfonctionnement lorsqu'une tentative d'allumage de l'appareil n'a pas donné de résultats. Mais à l'aide d'une erreur, vous pouvez identifier les causes possibles.
Le carburant ne pénètre pas du tout dans le brûleur. Vous devriez voir si la vanne d'arrêt est fermée sur le tuyau, et si c'est le cas, tournez-la en position «ouverte». Lors du premier démarrage, n'oubliez pas de laisser l'air s'échapper du système en premier.
Faites attention à la pression recommandée de 18-20 mbar. Si tout va bien sur la ligne, testez le réglage de la pression de la buse conformément aux instructions d'utilisation de l'appareil.
Une autre raison courante est une panne de la soupape à gaz et en cas d'un tel accident, l'élément doit être remplacé.
E01 est souvent observé en violation du fonctionnement de l'électrode d'ionisation, effectuant l'allumage. Il peut être sale (essuyer et dégraisser) ou mal fonctionner.

Lorsqu'il y a des problèmes dans les bobines des soupapes de gaz, cela indique un possible court-circuit ou un circuit ouvert nécessitant un remplacement de soupape. Mais cela peut aussi commencer à coller.
Si la puissance d'allumage n'est pas satisfaisante, utilisez les paramètres pour la régler.
Le colmatage du bloc brûleur nécessite un nettoyage dont les instructions de mise en œuvre se trouvent généralement dans le manuel.
Si le transformateur d'allumage est défectueux, vous devriez envisager de remplacer la carte électronique. La même chose s'il se casse. Mais si la carte détecte une combustion, mais qu'en réalité elle n'existe pas, vous devez inspecter l'électrode d'ionisation, ou plutôt son câblage, pour détecter des dommages ou une éventuelle rupture.
Un élément tel qu'un relais thermique est également présent dans la chaudière. Il s'agit d'un capteur de surchauffe. En cas de violation de son fonctionnement, l'allumage ne sera pas possible, il est donc nécessaire de vérifier soigneusement le circuit électrique et tous les contacts.
L'erreur E01 est suivie de K1. Autrement dit, après avoir corrigé le dysfonctionnement, il doit être enfoncé. Il a 2 fonctions - le choix du mode d'information et la fonction de réinitialisation manuelle (RESET) de la serrure.
E02 signale qu'une fausse indication de combustion a été faite en raison d'un blocage. La chaudière ne fonctionne pas.
Tout d'abord, vérifiez le circuit électrique de l'électrode et les contacts de sa connexion. En cas de dysfonctionnement de l'élément lui-même, il est recommandé de le remplacer.
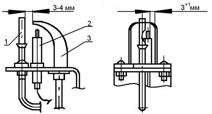
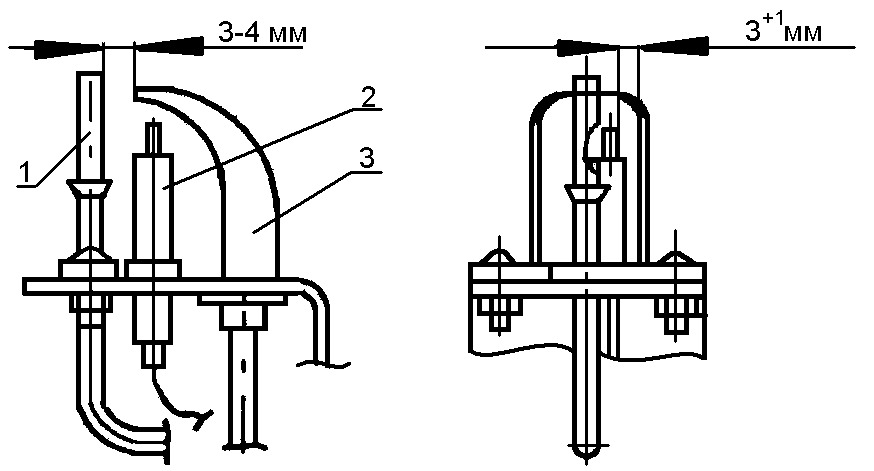
Comme pour E01, un écart incorrect entre le brûleur et l'électrode peut également provoquer une erreur sur l'affichage. Pour éliminer les actions sont similaires - il est nécessaire de régler l'écart (3 + 1 mm).

Si la mise à la terre est rompue ou qu'un potentiel se présente entre la terre et zéro, E02 vous «en informera». La correction est logique, corrigez le sol et supprimez le potentiel.
Après avoir effectué les réparations, appuyez également sur K1.
Erreur avec code F02 signalée directement avec l'erreur E02 et dénote également une flamme parasite.
Il télécharge:
- violation du message de chaîne des électrodes;
- électrodes défectueuses;
- réglage incorrect du jeu entre le brûleur et l'électrode;
- mauvaise mise à la terre et potentiel entre la masse et zéro.
C'est une condition préalable à l'apparition de l'erreur E02.
À E08Soit dit en passant, il n'est pas nécessaire d'appuyer sur K1. Mais l'erreur n'est pas moins importante dans sa signification. Considérez ce qu'il signale et comment y remédier. Lorsque ce code se produit, le circuit de flamme tombe en panne, c'est-à-dire que son niveau dépasse les limites normales.
Nous regardons la carte électronique. La raison peut être cachée dans son dysfonctionnement.
Comme toujours, tout d'abord, nous vérifions tous les contacts et le circuit électrique de l'électrode, ainsi que l'élément lui-même et, si nécessaire, le changeons ou le nettoyons.
Ensuite, vous devez vérifier l'écart entre le brûleur et l'électrode et, si nécessaire, le régler sur les valeurs optimales en fonction du passeport (3 + 1 mm).

Erreur aveccode E09 indique que la rétroaction du régulateur de gaz ne correspond pas aux commandes provenant de la carte électronique de l'appareil.
Il peut y avoir 3 raisons:
- Violations dans les contacts et le circuit électrique du régulateur.
- Problèmes avec la carte électronique.
- Endommagement du régulateur lui-même.
Si vous-même ne pouvez pas diagnostiquer et corriger la panne, appelez un technicien de service.
Erreur E82 indique une atténuation fréquente de la flamme. Cela se produit généralement d'affilée avec de courtes pauses. Le problème peut provenir de la défaillance de la carte de commande électronique, ainsi que dans de nombreux autres cas.
Que peut-on faire:
- remplacer complètement la carte électronique par une nouvelle;
- essayez de contacter un service de réparation;
- redémarrez votre unité de chauffage, ces problèmes sont parfois ponctuels et se résolvent d'eux-mêmes.
Il y a une autre raison possible, et elle réside dans les réglages lorsque la puissance minimale de la chaudière est mal réglée.

Ici, il est encore plus facile de corriger la situation, il suffit de regarder le manuel et de configurer la chaudière selon les recommandations du fabricant. Si vous n'avez pas enregistré votre passeport, vous pouvez télécharger presque toutes les instructions via Internet.
Problème numéro 2 - défaillances dans l'échangeur de chaleur
Erreur avec code E03 ne laissera pas la chaudière fonctionner. De tels dysfonctionnements des chaudières à gaz Baltgas entraînent une surchauffe du liquide de refroidissement. Cela se produit pour un certain nombre de raisons possibles. En général, cela ressemble à ceci.
Un thermostat de sécurité a généralement une température de 105 degrés. La buse s'éteint en raison de l'augmentation de la température, mais l'échangeur de chaleur continue de chauffer. Si après 10 secondes la température augmente de 105 degrés, la chaudière s'arrêtera pendant un court instant.
Le thermostat de surchauffe situé sur le tuyau de sortie de l'échangeur de chaleur primaire montrera ses fonctions et enverra un signal à la carte de commande. Par conséquent, en l'absence d'efficacité et d'abaissement de la température à 100 degrés, une erreur apparaîtra.
Par exemple, vous verrez un tel code lorsque des blocages apparaissent dans le système de chauffage ou le filtre, qui doivent être nettoyés pour éliminer l'erreur.
N'oubliez pas de vérifier le relais thermique et, si nécessaire, de le remplacer ou d'assurer son contact de haute qualité avec la carte de commande.

Vous n'avez toujours pas trouvé de raison? Faites ensuite attention àsoupape de dérivationqui peut être défectueux ou mal installé. Il doit être remplacé, ainsi que la nécessité de changer la pompe ou la soupape de purge, si la cause est leur défaillance.
La défaillance et le dysfonctionnement de la carte de commande électronique conviennent à de nombreuses erreurs. Y compris celui-ci. En conséquence, la carte est généralement changée, elle peut être réparée dans de rares cas.
Comme dans l'erreur E01, il peut y avoir un circuit ouvert du capteur de surchauffe. Faites attention à cette probabilité et examinez attentivement tout. Et, bien sûr, n'oubliez pas le bouton K1. Dans ce cas, c'est également pertinent.
Erreur E70 conduit également à un blocage du fonctionnement, et nécessite une réinitialisation ultérieure à K1.
Une erreur signifie la reconnaissance du gel de l'échangeur de chaleur, qui se produit principalement avec une absence prolongée d'alimentation électrique. L'erreur est facilement évitée par la présence alimentation sans coupuremais si vous ne l’avez pas, vous devrez couper l’alimentation électrique de l’appareil, couper l’alimentation en gaz du tuyau, puis dégivrer l’élément.

Lorsque le propylène glycol est utilisé comme liquide de refroidissement, il est nécessaire de régler la valeur à zéro sur cette fonction, conformément aux recommandations du certificat de l'appareil.
Erreur avec code F37 aide à déterminer que la pression du liquide de refroidissement dans le système est trop faible. Et tout d'abord, vous devez le mesurer et le fixer à la valeur recommandée.
Le pressostat surveille la pression minimale du liquide de refroidissement et élimine l'air dans le système de chauffage. S'il se casse ou que la connexion échoue, l'erreur F37 peut se produire à l'écran.
Autres raisons possibles:
- embouteillages aériens;
- un problème avec le capteur de pression;
- Le circuit électrique menant du capteur de pression à la carte est défectueux.
Comme toujours, nous vérifions tous les paramètres donnés et résolvons les problèmes.
Problème numéro 3 - traction incorrecte
Erreurs aveccode E04 et E05résultat du blocage F23 et signifie que vous avez une mauvaise traction. Pour que la chaudière fonctionne correctement, comme vous le savez, elle doit fournir une bonne traction qui contribue à l'élimination des fumées.
S'ils sortent mal, du monoxyde de carbone pénètre dans la pièce, ce qui est très dangereux. Dans les chaudières modernes, spécial capteurs de traction et si cela ne suffit pas, ils enverront un signal à la carte et l'unité s'arrêtera automatiquement.
Tout d'abord, la raison de cette erreur dans la cheminée. Si son diamètre est inacceptable ou si l'appareil n'est pas monté correctement, obstrué ou si de la glace s'y est formée, bien sûr, la traction ne sera pas bonne. Elle affecte également la longueur de la cheminée.

Bien sûr, la solution est évidente - remplacer la cheminée si nécessaire ou son nettoyageaussi installation du déflecteur. Mais ce ne sont pas toutes les raisons possibles.
De plus, cette erreur indique des problèmes avec le pressostat, le plus souvent, la fermeture de ses contacts, qui doit être vérifiée et, si nécessaire, remplacé le pressostat ou connecté correctement. Si l'étanchéité des tubes du pressostat est rompue, changez-les. N'oubliez pas d'inspecter le circuit électrique.
En cas de dysfonctionnement d'éléments tels qu'un ventilateur et une carte électronique, un remplacement sera probablement nécessaire.
Les erreurs E04 et E05 diffèrent en ce que dans le premier cas, la fermeture du pressostat est généralement observée, et dans le second il est bloqué. Et avec E05, n'oubliez pas le verrou, qui doit être retiré en appuyant sur K1 RESET.
Valeur E06 très similaire en raison du blocage avec E04 et E05. Autrement dit, il n'y a pas non plus de traction.
Les étapes de dépannage sont les mêmes:
- vérifier le circuit électrique et les contacts (remplacer si nécessaire);
- inspecter le ventilateur;
- diagnostiquer le pressostat;
- faire sonner le tableau de commande.
E07 - tous également sans traction. Mais cette fois, le symptôme est dominé par le problème du ventilateur.

Quels dysfonctionnements peuvent être avec cet élément:
- la carte de contrôle se bloque (si nécessaire, elle devra être remplacée);
- le ventilateur est cassé - dommages, manque de lubrifiant pour l'arbre, obstruction de la roue;
- circuit électrique cassé.
Eh bien, n'oubliez pas de déverrouiller K1.
Erreur avec code F23 accompagné d'une violation complète de la traction, son absence. Tout d'abord, vérifiez le pressostat et en cas de dysfonctionnement, assurez-vous de le remplacer. Ensuite, ils regardent à travers tous les circuits et contacts électriques, puis les principaux éléments - un ventilateur, une carte électronique.
Problème numéro 4 - une défaillance de l'électronique
E09 et F25 - Elle remplace toujours une carte électronique en raison d'une erreur dans sa mémoire interne.

Soit dit en passant, veuillez noter que le blocage ne se produit pas, c'est-à-dire que vous n'avez pas besoin d'appuyer sur K1 après le dépannage. Mais la chaudière ne fonctionne toujours pas dans la période suivant la détection de ce dysfonctionnement. F25 indique une panne de la ROM interne et de l'EEPROM.
E21 encore une fois, il est connecté à la carte électronique et indique une erreur lors de la vérification de ses composants. Malheureusement, en cas de dysfonctionnement, il faudra le changer, il ne reste plus qu'à espérer que le problème soit dans le circuit électrique ou les contacts.
La bonne chose est que Baltgaz produit des pièces de rechange pour ses chaudières à gaz et il est facile de les acheter dans les magasins ordinaires ou en ligne.
F13 également appelé verrouillage de réinitialisation à distance. Il est nécessaire d'éteindre l'appareil et de le redémarrer après l'avoir allumé.
F22 indique une surtension de 170 à 250 V. Pour restaurer la chaudière, il est nécessaire de régler la tension.
En général, de tels travaux sont difficiles à réaliser sans aucune expérience de l'utilisation d'équipements fonctionnant au gaz. Il est préférable d'appeler un assistant du service après-vente ou un spécialiste de l'unité de distribution du fournisseur.
Problème numéro 5 - violations dans le capteur de température
F31 et F32 - dysfonctionnement de la sonde de température du circuit de chauffage.

F31 se produit en raison d'interruptions dans le circuit de connexion des éléments, lorsque le capteur n'entre plus en contact avec la carte électronique ou que les relevés de température diffèrent des paramètres recommandés.
Mais il y a une autre raison - un court-circuit sur le capteur si la température dépasse la température recommandée. Pour vérifier, vous devez mesurer la résistance de l'élément, et tous les paramètres spécifiés sont dans le manuel. Habituellement, dans ce cas, un nouveau capteur est installé, s'il ne fonctionne pas, ils font attention à un dysfonctionnement de la carte de commande.
Le code F32 est également associé à un capteur de température, uniquement externe, distant, s'il est installé dans le système. Malgré tout, la chaudière travaille activement pour le chauffage. Les raisons sont un dysfonctionnement du circuit électrique, une panne de la carte ou du capteur lui-même. Il convient de noter que l'erreur sera supprimée automatiquement et vous n'aurez pas besoin de la déverrouiller après avoir résolu le problème.
Autres défauts de chaudière
En plus des paramètres de code, des problèmes d'affichage non résolus peuvent survenir.

La chaudière ne s'allume pas du tout.
Raisons possibles:
- Il n'y a pas d'alimentation électrique. Vérifiez si la ligne est morte et si du courant est fourni. Non - contactez votre fournisseur d'électricité pour déterminer les causes et le moment de la panne.
- De plus, le fusible de la carte peut sauter et dans ce cas, il suffit d'en installer un nouveau.
- Si la raison réside dans le fait que de l'eau a pénétré sur la planche, essayez de la mettre à sécher naturellement pendant 48 heures jusqu'à ce que l'humidité se soit complètement évaporée.
- La chaudière ne démarre pas même en cas de dysfonctionnement du tableau de commande. Essayez de redémarrer ou de remplacer cet élément.
Si les actions n'ont pas donné de résultat positif, il n'y a qu'une seule issue: contactez un centre de service.

Le brûleur fait des sons étranges:
- Un flux d'air insuffisant se produit lorsque le conduit est bouché, mal installé ou pour d'autres raisons.
- Une étincelle glisse devant le brûleur.
- Le brûleur est bouché.
Pas d'eau chaude ou de pression insuffisante. Vérifiez si le filtre, l'échangeur de chaleur et le limiteur de débit sont obstrués.
L'appareil ne chauffe pas la pièce, mais en même temps il fonctionne en mode ECS. Le problème peut être dû à des cavaliers, à un dysfonctionnement du thermostat et du capteur de température, ou simplement à des paramètres de température mal réglés.
L'entrée de liquide de refroidissement est trop basse. Vérifiez la température réglée et le capteur de température.
Le système de chauffage est trop bas. Inspecter le système pour d'éventuelles fuites, inspecter le manomètre pour un bon fonctionnement, nettoyer / remplacer soupape de sécurité.
Archive des codes d'erreur
Vous pouvez consulter l'archive des erreurs et des verrous de la chaudière.

Malheureusement, l'archive des erreurs n'est pas fournie dans tous les modèles de chaudières à gaz.
Pour accéder à l'archive, procédez comme suit:
- Allumez la chaudière à gaz.
- Appuyez sur le bouton de réinitialisation (K1). Maintenez-le pendant 10 secondes pour activer certaines fonctions de la chaudière.
- En utilisant les boutons K5 et K6, vous devez entrer dans l'archive H1.
- Lorsque In apparaît à l'écran, appuyez sur K1.
- Pour sélectionner l'élément dont vous avez besoin dans l'archive, parcourez le menu à l'aide de K5.
- Après avoir sélectionné le paramètre souhaité, appuyez sur K3 (ou K4).
Pour quitter l'archive, vous devez soit appuyer sur K2 ou attendre 2 minutes pour la sortie automatique en inaction.
Une archive des erreurs est nécessaire pour diagnostiquer la «maladie» de la chaudière par les spécialistes du service après-vente ou si vous n'êtes pas chez vous lorsque le code apparaît, lorsque personne d'autre ne l'a enregistré.
Vidéo et conclusions utiles sur le sujet
Bref aperçu de la chaudière à gaz BaltGaz-Neva, inspection, éventuels dysfonctionnements et maintenance:
Ainsi, la réparation ou le diagnostic d'une chaudière à gaz Baltgaz ne causera pas beaucoup de problèmes aux propriétaires. La plupart des dysfonctionnements les plus fréquents seront instantanément capturés par l'apparition d'un code alphanumérique sur l'écran. Dans le même temps, beaucoup d'entre eux sont facilement éliminés à l'aide de fonctions automatiques, qui peuvent être démarrées à l'aide du manuel de l'appareil.
Avez-vous une chaudière Baltgaz installée dans votre maison? Avez-vous des codes d'erreur et comment les avez-vous traités? Partagez votre expérience dans les commentaires et posez des questions d'intérêt sur le sujet de l'article.
