Four de garage à faire soi-même: un guide étape par étape pour la conception
Dans les garages ou les ateliers, afin d'économiser de l'argent, souvent au lieu d'une chaudière coûteuse, un four est installé pour travailler: ils traitent les pièces métalliques de leurs propres mains, les soudent et obtiennent un modèle ressemblant à un «poêle». Cependant, lors du choix d'une conception pour la fabrication, on peut rencontrer des difficultés. Êtes-vous d'accord?
Nous vous dirons comment choisir le schéma optimal et assembler un appareil de chauffage économique mais très efficace de vos propres mains. Dans notre article, nous avons examiné en détail les options populaires, dont l'effet a été testé dans la pratique. Des conseils pour la construction et le fonctionnement ultérieur du poêle sont donnés.
Le contenu de l'article:
Qu'est-ce que l'exploitation pétrolière?
L'huile usée ou l'huile usée est un produit qui subsiste à la suite du fonctionnement d'un moteur automobile. L'huile à moteur, de transmission ou autre huile industrielle s'accumule en grande quantité dans les stations-service, les ateliers automobiles ainsi que chez les propriétaires de voitures ordinaires.
Au cours de l'utilisation, l'huile perd ses qualités utiles, accumule des sels, des scories, des résines, les plus petites particules métalliques, cependant, les gens ont trouvé une utilisation pour un tel produit non liquide.

En petites quantités, il est utilisé pour les besoins des ménages:
- lubrifier un outil de travail (par exemple, des tronçonneuses);
- imprégner le bois (traverses pour voies ferrées);
- lubrifier les parties frottantes des véhicules légers (scooters, vélos);
- utilisé comme fluide anti-incendie;
- couvrir les surfaces recouvertes de bitume.
Comme à la fin du siècle dernier, l'exploitation minière est utilisée comme combustible pour les poêles installés dans des locaux d'habitation conditionnels - garages, buanderies, ateliers.Si vous construisez un poêle vous-même, alors avec des stocks constamment renouvelés d'huile usée, le chauffage des locaux sera presque gratuit.
Autres moyens efficaces d'organiser chauffage de garage économique présenté dans un article entièrement consacré à cette question.
Pourquoi les fours à huile usagés sont-ils populaires?
La principale raison de l'amour des gens pour les poêles faits maison est le faible coût (ou zéro) de l'unité elle-même et le carburant pour elle. Certains maîtres artisans locaux font de ces appareils de chauffage une expérience et en même temps un appareil utile.
Avec l'avènement d'un four artisanal à l'huile usée, la solution à la question de la «construction» de matériaux recyclés disparaît.

Comment l'unité fonctionne-t-elle à l'entraînement? Le processus consiste à séparer le carburant lourd en impuretés, qui a une composition assez complexe. D'une autre manière, le processus dans lequel il y a un manque d'oxygène et une combustion non pas du carburant lui-même, mais de sa vapeur, est appelé pyrolyse. Principe de fonctionnement équipement de pyrolyse décrit dans notre article recommandé.
Pour démarrer le processus, il est nécessaire d'évaporer le carburant, puis de chauffer les vapeurs résultantes à une température d'environ + 300-400 ºС, après quoi la combustion se fera spontanément. Il reste à attendre la combustion complète du carburant.
Il existe 2 schémas utilisés dans la fabrication indépendante de fours:
- remplir le réservoir d'huile et le mettre en feu, à la suite de quoi les vapeurs s'évaporent et commencent à brûler;
- l'utilisation d'un brûleur, dans lequel les trois zones (pyrolyse, allumage et postcombustion) sont combinées et rendent le processus de combustion plus efficace, réglable et sûr.
Le deuxième schéma est plus complexe, nécessite un raffinement sérieux du carburant et de la précision de fabrication, donc nous considérerons des modèles plus simples du premier groupe.

Avantages d'utiliser un poêle de garage fonctionnant à l'huile:
- simplicité de conception et de maintenance de l'appareil;
- économie de carburant - environ 1,5-2 litres par heure;
- manque de suie et de suie;
- sécurité du stockage des réserves minières;
- il est possible de connecter un circuit de chauffage à air ou à eau;
La compacité de l'unité est également extrêmement importante pour les petites pièces.
Des inconvénients sont également disponibles:
- la nécessité d'un nettoyage régulier du poêle et de la cheminée;
- Élément obligatoire - une cheminée posée verticalement avec une hauteur d'au moins 4 m;
- pour les fours à buses, seule l'huile raffinée doit être utilisée (le coût approximatif du produit filtré est de 8 à 12 roubles / l);
- l'une des conditions pour le stockage de l'exploitation minière est la température positive, c'est-à-dire qu'il faut soit une pièce chauffée en hiver, soit un réservoir enterré dans le sol.
Avant de fabriquer / acheter un four fini ou chaudière de travail vous devez considérer tous les avantages et les inconvénients des appareils faits maison, puis prendre la décision finale.
Projets de bricolage
Il existe de nombreuses options pour la fabrication de fours pour l'exploitation minière. Ils sont fabriqués à partir de flans métalliques ou de conteneurs usagés (cylindres), avec pyrolyse et brûleurs turbo, avec alimentation goutte à goutte ou soufflage. Nous nous concentrerons sur deux modèles populaires, qui conviennent mieux à l'auto-construction et à l'assemblage.
Modèle en tôle
Les pièces métalliques inutiles, les plaques de fonte, les tôles d'acier, les tuyaux se trouvent souvent dans les garages et dans les environs. Parmi eux, il existe probablement plusieurs éléments adaptés au soudage du poêle.
Par exemple, pour créer un modèle simple, vous avez besoin du matériel suivant:
- vieille tôle d'acier de 3,5 mm d'épaisseur;
- un morceau de tuyau en acier d'une épaisseur de paroi de 4,5 mm;
- tuyau en étain pour une cheminée d'un diamètre de 110 mm.
De plus, vous aurez besoin d'un outil qui est généralement disponible pour tout propriétaire de garage: une machine à souder avec des électrodes, une scie circulaire avec des disques de coupe et de meulage, un marteau et une pince. Obligatoire - un ensemble de vêtements de travail protecteurs pour le soudage avec des lunettes et des gants.
Avant le processus de soudage, nous préparons une partie des pièces.
Lorsqu'une partie des pièces est préparée, nous procédons au soudage, mais nous ne retirons en aucun cas la scie circulaire - elle peut être utile pour couper ou couper des fragments individuels.
Pour éviter que la pluie et les débris ne tombent dans la cheminée, nous fixons le bouchon à l'extrémité avec des vis. La hauteur de sécurité de la cheminée est d'environ 4 m Les produits de combustion retirés au-dessus du toit se dispersent rapidement dans l'atmosphère et ne nuisent pas aux personnes ou aux plantes.
Après l'achèvement des travaux de montage et d'installation, il est nécessaire de tester et, si des défauts sont constatés dans le travail, essayer de les corriger. Nous vérifions la qualité de la combustion dans l'ordre suivant.
Lors du processus de conception et de soudage, les erreurs suivantes peuvent être identifiées:
- parois trop minces des chambres et des tuyaux (usure rapide, incapacité à retenir la chaleur pendant une longue période);
- trou pas assez grand pour remplir l'huile et régler la force de combustion;
- emplacement d'installation mal choisi du four;
- différents diamètres du tuyau de la fournaise et de la cheminée (vous devrez utiliser un adaptateur pour vous connecter);
- dimensions imprécises des pièces à souder (les coutures seront lâches et ne dureront pas longtemps);
- allumage à l'essence - une explosion est possible, il est préférable d'utiliser des solvants (white spirit et similaires).
Si vous cuisinez le poêle selon les règles, il durera longtemps et chauffera facilement une pièce d'une surface de 20-30 m². Avec des options d'organisation chauffage au travail présentera un article consacré à cette question difficile.
Comment faire un poêle à gaz?
La deuxième option, qui est devenue populaire grâce à un plan de montage réussi, est un four fabriqué à partir d'une bouteille de gaz ordinaire, nettoyé de son contenu.

Nous faisons d'abord un schéma du four.

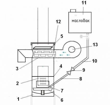
Le volume du cylindre est de 50 litres. L'épaisseur de paroi des tuyaux métalliques est de 4 à 5 mm, la section intérieure est de 100 mm. Pour la séparation entre les deux chambres et la fabrication de la visière, il est préférable d'utiliser des pièces de tôle d'une épaisseur d'au moins 4 mm. En tant que réservoir pour l'huile à partir de laquelle l'évaporation se produit, un disque de frein est utilisé.
L'huile pénètre dans l'évaporateur par un tuyau de ½ pouce. Une partie de la canalisation au-dessus du robinet à boisseau sphérique peut être flexible pour assurer une installation facile. Le robinet à boisseau sphérique est installé de sorte qu'il est toujours possible de couper d'urgence l'alimentation en carburant. Pour la fabrication du tourbillonneur, nous avons sélectionné une paire de coins métalliques soudés ensemble.
Ensuite, réfléchissez à la fabrication d'une fournaise compacte à huile usée pour une buanderie ou un garage.
Pour que l'air chauffé circule dans la pièce, il est nécessaire installer un échangeur de chaleur. Il s'agit d'un tuyau en acier d'un diamètre de 100 mm. L'endroit le plus approprié est à l'intérieur du boîtier, entre le brûleur et la cheminée. Pour maintenir la flamme à la partie supérieure de l'échangeur de chaleur, nous soudons un patin métallique découpé dans une feuille de 4 mm.
Nous organisons l'alimentation en air forcé à l'aide d'un ventilateur de conduit. Il peut être rendu automatique en appliquant un relais thermique. Pour mieux garder la chaleur, nous avons mis un tourbillonneur à l'intérieur du tuyau - une structure de deux coins métalliques soudés, dont les étagères sont coupées et déployées sous la forme de lames.

Reste à faire deux portes, chacune ayant des nuances. Pour la partie supérieure obligatoire est une serrure solide, qui fournit une fermeture fiable pour la période de fonctionnement du four. Au bas de la deuxième porte, nous faisons un espace pour que l'air puisse circuler librement dans le boîtier et maintenir la combustion de l'huile.
Après avoir fabriqué le four, nous testons. Versez un peu d'huile dans la casserole, puis mettez le même petit morceau d'éponge imbibé de solvant. Mettez l'éponge en feu. L'huile se réchauffe, commence à s'évaporer, une flamme apparaît dans le brûleur.
À travers le tube, alimentez progressivement l'évaporateur en huile. S'il est nécessaire d'arrêter la combustion, nous fermons le flux d'extraction (fermons les deux vannes). Dès que les résidus dans la casserole s'épuisent, le processus de combustion s'arrête.
Schémas et règles de fabrication des poêles pour travailler hors de la conduite donné ici. Nous vous recommandons de vous familiariser avec des informations utiles.
Règles d'utilisation et de sécurité
Peu importe combien ils parlent de la sécurité des poêles de fortune, ils restent des appareils dont une mauvaise manipulation peut entraîner des brûlures ou le bronzage des objets environnants. En conséquence, il existe un certain nombre d'interdictions.
Les actions suivantes ne peuvent pas être effectuées:
- utiliser d'autres carburants au lieu de l'huile usée;
- utiliser un équipement défectueux;
- installer un appareil de chauffage dans une pièce sans ventilation bien établie;
- allumer un feu si le poêle n'est pas équipé d'une cheminée;
- obstruer le trou du brûleur;
- quitter la pièce avec un poêle en état de marche pendant longtemps;
- placer des liquides ou des objets inflammables près du boîtier chauffé;
- Vaporisez de l'huile ou de l'eau sur une surface chaude.
Seuls les adultes, les enfants ou les animaux sont autorisés à utiliser le four pendant le fonctionnement de l'appareil.
Comme exemple intéressant et original d'un poêle qui fonctionne, nous suggérons de considérer technologie de fabrication poêle à ventre. C'est également un modèle très efficace, disponible pour l'auto-fabrication.
Conclusions et vidéo utile sur le sujet
Le processus de création et de démarrage d'un appareil de chauffage est beaucoup plus facile si toutes les mesures de sécurité sont prises et les nuances de fabrication et d'installation sont prises en compte. Nous proposons des vidéos avec des recommandations utiles.
Vidéo n ° 1. Comment démarrer le four:
Vidéo n ° 2. Vue d'ensemble du four de travail. Conseils d'utilisation:
Vidéo n ° 3. Conseils sur l'appareil et l'utilisation:
Il est assez facile de résoudre le problème de l'exploitation minière en construisant un four à métal dans le garage. Un appareil de chauffage fait maison qui fonctionne avec des fonctions de carburant bon marché n'est pas pire que les modèles coûteux achetés.
Mais si vous n'avez pas confiance en vos capacités, il vaut mieux faire appel à des artisans expérimentés qui connaissent bien les nuances de fabrication et d'installation des fours à mazout.
Ceux qui souhaitent partager leur propre expérience dans la construction d'un poêle pour s'entraîner sont invités à laisser des commentaires dans le bloc ci-dessous. Peut-être avez-vous des informations sur le sujet qui seront utiles aux visiteurs du site? Veuillez écrire dans le bloc ci-dessous, poser des questions, publier des photos thématiques.

Une idée intéressante, mais je doute de la sécurité de ce design: les tôles sont vieilles, le cylindre n'est pas la première fraîcheur. Parfois, avec de tels conseils, vous pouvez faire une chose qui ne suffoque pas longtemps. Les gens font confiance à l'installation d'un tel système uniquement aux professionnels. N'épargnez pas un sou et payez pour un travail de qualité à des spécialistes compétents.
Un tel four est également nocif pour l'environnement.
Eh bien, la sécurité ne dépend que de la franchise de vos mains et des matériaux que vous choisissez. Ce n’est pas si difficile de faire un poêle fiable. Mais de par sa convivialité non environnementale, même les matériaux de haute qualité ne peuvent pas se débarrasser. Certes, il n'y a toujours aucun moyen pour le garage, mais vous ne pouvez pas mettre une telle chose dans le pays - cela pollue les eaux souterraines et le jardin. Immédiatement moins. À mon avis, elle a encore plus de défauts que d'avantages.