Comment et en quoi le débit de gaz est-il mesuré: méthodes de mesure + aperçu de tous les types de débitmètres de gaz
Un débitmètre est un appareil pour mesurer le débit volumétrique ou massique d'une substance, y compris le gaz naturel, les gaz combustibles et agressifs, les produits de séparation de l'air. Le calcul des débits dans les entreprises industrielles ou à domicile peut être effectué sans l'intervention de spécialistes.
Ensuite, nous décrirons comment et dans quel gaz est mesuré, donner une description des appareils qui sont utilisés à cet effet, et également examiner les principales méthodes pour déterminer le débit de gaz.
Le contenu de l'article:
Méthode directe de mesure de la consommation de gaz
Le volume de gaz est calculé en mètres cubes, les autres unités de masse, telles que les tonnes ou les kilogrammes, sont généralement moins utilisées pour les gaz de procédé.
La méthode directe est la seule méthode qui permet de mesurer directement le volume de gaz passant.
Les faiblesses des appareils qui calculent le débit volumétrique ou massique d'une substance comprennent:
- L'opérabilité limitée des débitmètres dans un environnement de gaz pollué.
- Il y a une forte probabilité de défaillance due à un blocage partiel du débit ou à un choc pneumatique.
- Coût élevé des compteurs rotatifs par rapport à d'autres appareils.
- Grandes dimensions des appareils.
De nombreux avantages de cette méthode chevauchent les inconvénients énumérés, en raison desquels elle a également gagné la plus grande distribution du nombre de compteurs installés.

Parmi eux - une mesure directe du volume de gaz, l'absence de dépendance à la distorsion du graphique de débit, à la fois à l'entrée et à la sortie, ce qui réduitUGG. La largeur de la plage peut aller jusqu'à 1: 100. À cette fin, des dispositifs à membrane et rotatifs sont utilisés. Ils peuvent être utilisés dans des pièces avec des chaudières à impulsions installées.
Méthodes de mesure indirectes
Ces méthodes comprennent le calcul, par exemple, du débit d'une substance à travers une zone transversale donnée. Pour obtenir les résultats les plus précis, il est nécessaire d'égaliser la vitesse du gaz.
Mesure de débit de gaz à pression différentielle
L'une des méthodes d'écoulement de gaz les plus courantes et les plus étudiées, basée sur l'utilisation d'un dispositif de constriction, présente plusieurs avantages, notamment la simplicité du mécanisme du transducteur de débit, dont l'action vise à mesurer la chute de pression d'une substance s'écoulant à travers une constriction locale dans un gazoduc. Aucun calcul requis débitmètres se tient.
Malgré la disponibilité d'une base scientifique et technique complète, cette méthode de mesure présente plusieurs inconvénients importants - une petite plage de mesure, qui, même en tenant compte des capteurs de pression à limites multiples, ne dépasse pas la valeur 1:10.

Résistance hydraulique dans gazoducs accroître la sensibilité aux changements d'horairemoyen vitesses en profondeur ou en largeur du ruisseau à l'entrée du diaphragme. La longueur des sections droites devant les dispositifs de rétrécissement doit être d'au moins 10 diamètres de la structure du tuyau.
Méthode de calcul des coûts rapide
Des convertisseurs à turbine sont utilisés pour cette méthode. Ces appareils présentent plusieurs avantages, dont des dimensions et un poids réduits, un prix abordable dans leur catégorie.
Ces appareils ne sont pas sensibles aux chocs pneumatiques. La plage des valeurs de mesure du débit va jusqu'à 1h30, ce qui dépasse considérablement le même indicateur pour les dispositifs de rétrécissement.

Les inconvénients comprennent la sensibilité, bien que négligeable, aux distorsions de débit à l'entrée et à la sortie du dispositif, et la déviation des résultats de mesure des flux de gaz pulsés. À faible coût, de l'ordre de 8 à 10 m3/ h, les débitmètres ne fonctionnent pas.
Méthode de mesure par ultrasons
La popularité des débitmètres acoustiques qui mesurent la quantité de gaz, notamment en comptabilité commerciale, s'est développée avec le développement de la microélectronique. Dans les débitmètres acoustiques, il n'y a pas de pièces mobiles, ainsi que des pièces faisant saillie dans le flux, ce qui augmente considérablement leur fiabilité.
La mesure est effectuée dans une large gamme de valeurs en raison de la capacité de l'appareil à fonctionner pendant une longue période à partir de la source d'alimentation intégrée. Les appareils domestiques ne satisfont pas à toutes les exigences nécessaires, car pour éviter l'influence des distorsions du débit de gaz sur les résultats de calcul, il est nécessaire d'utiliser exclusivement des débitmètres à ultrasons multifaisceaux.
Classification des débitmètres selon le principe d'action
Les débitmètres diffèrent de plusieurs manières, notamment la pression, le type de gaz utilisé et les conditions de température. Choisissez un appareil en fonction des conditions d'utilisation, ainsi que des tâches.
Les instruments de mesure sont constitués de pièces telles qu'un transducteur responsable de la chute de pression, l'élément de connexion et le manomètre.
Type # 1 - Jet d'encre génération automatique débitmètres
Un débitmètre de ce type, également conçu pour mesurer le débit de gaz naturel, présente plusieurs caractéristiques distinctives. L'appareil est couvert par des rétroactions négatives, la fréquence des connexions de jet dépend du débit de gaz.
Les compteurs délivrés sur la base des débitmètres à jet sont utilisés pour la comptabilité commerciale sans examen préalable.

Débitmètre à jet générateur automatique le type est sujet au colmatage, parmi ses inconvénients est également l'instabilité de l'indicateur de conversion.
Ces appareils présentent des inconvénients similaires aux appareils vortex:
- Dépendance à la distorsion du graphique de vitesse, à condition qu'il soit utilisé avec des instruments de rétrécissement;
- les pertes de charge massives sont irréversibles;
- la partie principale du débitmètre a des dimensions énormes;
- instabilité importante du taux de conversion.
Les avantagesgénérateur automatique le débitmètre ne diffère pas du dispositif vortex, à l'exception de la capacité de travailler avec des gaz contaminés. Ces débitmètres n'ont pas trouvé de large application pratique en comptabilité commerciale.
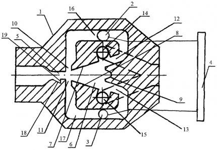
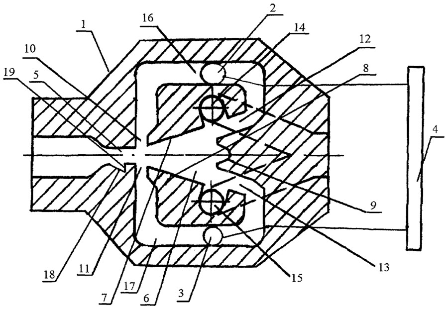
Type # 2 - Débitmètres Vortex
Il existe plusieurs points forts des appareils, notamment la précision des mesures, le manque de sensibilité à la contamination et aux chocs pneumatiques, la facilité d'utilisation, l'appareil manque également de pièces mobiles.

Des inconvénients importants de l'utilisation de ce type de débitmètres sont également connus - sensibilité accrue aux vibrations mécaniques, abaissement de la pression. Diamètre du tuyau devrait être de l'ordre de 15 à 30 cm.
Type # 3 - Débitmètres à ultrasons
Le dispositif, également appelé acoustique, présente plusieurs avantages indéniables:
- manque de résistance hydraulique;
- l'appareil n'a pas de pièces mobiles, ce qui améliore sa fiabilité;
- augmentation de la force du mécanisme;
- action rapide.
Un débitmètre de ce type est basé sur la détermination de la différence de temps de parcours du signal.

Les capteurs à ultrasons, situés en diagonale les uns par rapport aux autres, servent de récepteur et d'émetteur. L'utilisation de plusieurs canaux compense la déformation du profil d'écoulement.
Type # 4 - Débitmètres à tambour
Cette catégorie d'appareils est généralement utilisée pour la recherche en laboratoire. La pression qui se produit lors de la rotation du tambour conduit au remplissage de la section de gaz et à leur vidage ultérieur.

Le nombre de tours du tambour est proportionnel aux unités cubes de gaz, l'indicateur est transmis au cadran de la conception de comptage. Les débitmètres à tambour ont une grande précision de mesure.
Type # 5 - lévitation appareils
La partie mobile du dispositif tachymétrique tourne dans les roulements, la vitesse est égale au débit volumique de gaz. La conversion de la vitesse du mouvement circulaire en un signal électrique est effectuée à l'aide d'un convertisseur secondaire, les résultats sont reflétés sur l'indicateur.

Lévitation les appareils sont très demandés pour la mesure commerciale de la consommation de gaz naturel, tant à des fins domestiques que communales.
Type # 6 - Compteurs à membrane
Un brevet pour la fabrication de l'un des appareils de mesure les plus courants pour la mesure du gaz a été accordé dans la seconde moitié du XIXe siècle en Angleterre.
Le principe de fonctionnement d'un débitmètre mécanique est basé sur un changement de position des membranes des chambres mobiles au moment de l'entrée du gaz. Un mouvement alternatif est effectué lors de l'entrée et de la sortie de la substance.

Le dispositif de calcul entraîne le système d'engrenage et les leviers. Les mécanismes ont une large gamme de valeurs pour les mesures - jusqu'à 1: 100.
Type # 7 - Appareils rotatifs
Dans le dispositif de type mécanique, deux rotors sont situés dans la chambre de mesure, qui commencent à se déplacer sous la pression de la substance. Les pièces rotatives sont situées à angle droit les unes par rapport aux autres, leur emplacement initial est fixé à l'aide de roues de synchronisation.
La quantité de gaz est proportionnelle au nombre de tours des rotors. À l'aide d'un accouplement magnétique et d'une boîte de vitesses, la rotation du rotor est transmise à un dispositif de comptage responsable de l'accumulation du volume de la substance passée.

Les principaux avantages des débitmètres rotatifs comprennent une grande précision de mesure, la compacité de l'appareil et une large gamme de mesures de débit. Parmi les inconvénients figurent le bruit du mécanisme, son coût élevé, sa sensibilité aux facteurs externes, dont la pollution.
Type # 8 - Débitmètres à turbine
Le dispositif de type mécanique a la forme d'un segment de tuyau, une turbine avec un arbre et des supports mobiles est placée à l'intérieur du débitmètre. Le dispositif d'alimentation se déplace en raison du passage de la substance dans la chambre de mesure.
La vitesse du mécanisme est égale au débit et au débit de gaz. Le volume accumulé est réfléchi sur le mécanisme de comptage, le transfert vers celui-ci est effectué mécaniquement à l'aide d'une boîte de vitesses, d'un système d'engrenage.

En plus de ce qui précède, il existe d'autres appareils, mais ils sont généralement utilisés dans la recherche scientifique. Dans le domaine commercial, ils ne sont pratiquement pas impliqués.
Nous vous recommandons également de lire notre autre article, où nous avons parlé en détail de la façon de choisir un compteur de gaz pour la maison. Plus de détails - allez à le lien.
Appareils pour mesurer la quantité de gaz
Les appareils de mesure du débit de gaz selon la méthode de calcul sont divisés en plusieurs catégories. Ceux à grande vitesse sont utilisés pour déterminer le numéro de volume du support étudié. Ces appareils ne disposent pas de chambres de mesure. La partie sensible est roue (tangentielle ou axiale), ce qui fait tourner le flux de matière.
Les compteurs volumétriques dépendent moins du type de produit. Leurs inconvénients incluent la complexité de la conception, le prix élevé et les dimensions impressionnantes. L'appareil se compose de plusieurs chambres de mesure, a une conception plus complexe. Ce type d'appareils est divisé en plusieurs types - piston, lame, engrenage.
On connaît une autre classification des compteurs de quantité de gaz, qui comprend trois types d'appareils: rotatifs, à tambour et à soupape.
Les compteurs rotatifs ont un débit élevé.Leur action est basée sur le calcul du nombre de tours des pales à l'intérieur de l'appareil, l'indicateur correspond au volume de gaz. Leurs principaux avantages incluent la longévité, l'indépendance vis-à-vis de l'électricité et une résistance accrue aux surcharges à court terme.

Les compteurs à tambour se composent d'un boîtier, d'un mécanisme de comptage et d'un tambour avec des chambres de mesure. Le principe de fonctionnement du dispositif de mesure de la consommation de gaz est de déterminer le nombre de tours du tambour, qui tourne en raison de la différence de pression. Malgré la précision des calculs, ce type d'appareil n'a pas trouvé de large application en raison de sa taille volumineuse.
Le principe de fonctionnement de ce dernier type de compteurs, appelés compteurs à soupape, est basé sur le mouvement de la cloison mobile, qui est affecté par la différence de pression de la substance. L'appareil se compose de plusieurs parties - un mécanisme de comptage et de distribution de gaz, ainsi qu'un boîtier. Il a de grandes dimensions, il est donc principalement utilisé dans la vie quotidienne.
Conclusions et vidéo utile sur le sujet
Le fonctionnement des débitmètres à gaz vortex sera abordé dans la vidéo suivante:
La mesure du débit de gaz est l'une des tâches clés de la production. Un grand nombre d'appareils avec des conceptions et des principes de fonctionnement différents sont disponibles sur le marché des débitmètres, qui conviennent également aux besoins domestiques. Avec leur aide, vous pouvez déterminer presque n'importe quelle quantité de liquide ou de gaz, sans avoir besoin d'une installation de modèle d'étalonnage spécial.
Vous pouvez compléter notre matériel avec des informations intéressantes sur le sujet de l'article, poser des questions d'intérêt ou participer à la discussion. Laissez vos commentaires dans la case ci-dessous.
